Монтажная схема балочной площадкиРефераты >> Строительство >> Монтажная схема балочной площадки
ОГЛАВЛЕНИЕ
ВВЕДЕНИЕ
1. Исходные данные
2. Расчет балок настила
3. Расчет центрально сжатой колонны
4. Монтажная схема
ВВЕДЕНИЕ
В данном проекте произведены два расчета и приведена монтажная схема балочной площадки:
1. Расчет балок настила, со схемами балочной клетки нормального типа и расчетной схемой
2. Расчет центрально сжатой колонны.
1. Исходные данные
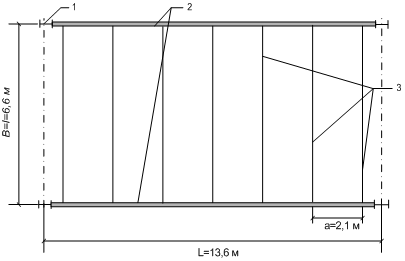
- Пролет L=13,6 м
- Шаг колонB=6,6 м
- Шаг балок настилаa=2,1 м
- Отметка верха настилаH=9,9 м
- Нормативная временная нагрузкаpH=2500 кг/м2
- Толщина железобетонного настилаt=12 см
- Сталь С245Ry=2400 кг/см2
- плотность железобетона rВ=2500 кг/м3
- относительный прогиб балок настила
=
2. Расчет балок настила
Рис. Схема балочной клетки нормального типа: 1 – колонна; 2 – главные балки; 3 – балки настила
Расчетная схема
Сбор нагрузок на 1 м2 настила
Таблица 1
|
№ п/п |
Наименование нагрузки |
Нормативная нагрузка, кг/м2 |
Коэффициент перегрузки, gr |
Расчетная нагрузка, кг/м2 |
|
1 |
Временная полезная нагрузка, pH |
2500 |
1,2 |
3000 |
|
2 |
Вес железобетонного настила (rB х t=2500 х 0,12=300) |
300 |
1,1 |
330 |
|
3 |
Вес металлических балок |
30 |
1,05 |
32 |
|
Итого: |
gН=2830 |
g=3362 | ||
Нормативная нагрузка на балку настила:
qH= gН+a=2830 x 2,1=5943 кг/м=59,43 кг/см
Расчетная погонная нагрузка на балку настила:
q=g x a = 3362 х 2,1 = 7060,2 кг/м
Максимальный изгибающий момент:
Mmax=
=
=38442,8 кг/м
Проверка прочности изгиба элементов:
s=
<Ry,
Откуда выражаем требуемый момент сопротивления балки Wтр:
Wтр=
=
=1601,8 см3
h — высота двутавра; b — ширина полки; s — толщина стенки; t — средняя толщина полки; R — радиус внутреннего закругления; r — радиус закругления полки
Балки двутавровые (ГОСТ 8239-89)
Таблица 2
|
Номер двутавра |
Размеры |
Площадь поперечного сечения, см2 |
Масса 1 м, кг |
Справочные значения для осей | |||||||||||
|
h |
b |
s |
t |
R |
r |
X – X |
Y – Y | ||||||||
|
не более мм |
Ix, |
Wx, |
ix, |
Sx, |
Iy, |
Wy, |
iy, | ||||||||
|
см4 |
см3 |
см |
см3 |
см4 |
см3 |
см | |||||||||
|
10 |
100 |
55 |
4,5 |
7,2 |
7,0 |
2,5 |
12,0 |
9,46 |
198 |
39,7 |
4,06 |
23,0 |
17,9 |
6,49 |
1,22 |
|
12 |
120 |
64 |
4,8 |
7,3 |
7,5 |
3,0 |
14,7 |
11,50 |
350 |
58,4 |
4,88 |
33,7 |
27,9 |
8,72 |
1,38 |
|
14 |
140 |
73 |
4,9 |
7,5 |
8,0 |
3,0 |
17,4 |
13,70 |
572 |
81,7 |
5,73 |
46,8 |
41,9 |
11,50 |
1,55 |
|
16 |
160 |
81 |
5,0 |
7,8 |
8,5 |
3,5 |
20,2 |
15,90 |
873 |
109,0 |
6,57 |
62,3 |
58,6 |
14,50 |
1,70 |
|
18 |
180 |
90 |
5,1 |
8,1 |
9,0 |
3,5 |
23,4 |
18,40 |
1290 |
143,0 |
7,42 |
81,4 |
82,6 |
18,40 |
1,88 |
|
20 |
200 |
100 |
5,2 |
8,4 |
9,5 |
4,0 |
26,8 |
21,00 |
1840 |
184,0 |
8,28 |
104,0 |
115,0 |
23,10 |
2,07 |
|
22 |
220 |
110 |
5,4 |
8,7 |
10,0 |
4,0 |
30,6 |
24,00 |
2550 |
232,0 |
9,13 |
131,0 |
157,0 |
28,60 |
2,27 |
|
24 |
240 |
115 |
5,6 |
9,5 |
10,5 |
4,0 |
34,8 |
27,30 |
3460 |
289,0 |
9,97 |
163,0 |
198,0 |
34,50 |
2,37 |
|
27 |
270 |
125 |
6,0 |
9,8 |
11,0 |
4,5 |
40,2 |
31,50 |
5010 |
371,0 |
11,20 |
210,0 |
260,0 |
41,50 |
2,54 |
|
30 |
300 |
135 |
6,5 |
10,2 |
12,0 |
5,0 |
46,5 |
36,50 |
7080 |
472,0 |
12,30 |
268,0 |
337,0 |
49,90 |
2,69 |
|
33 |
330 |
140 |
7,0 |
11,2 |
13,0 |
5,0 |
53,8 |
42,20 |
9840 |
597,0 |
13,50 |
339,0 |
419,0 |
59,90 |
2,79 |
|
36 |
360 |
145 |
7,5 |
12,3 |
14,0 |
6,0 |
61,9 |
48,60 |
13380 |
743,0 |
14,70 |
423,0 |
516,0 |
71,10 |
2,89 |
|
40 |
400 |
155 |
8,3 |
13,0 |
15,0 |
6,0 |
72,6 |
57,00 |
19062 |
953,0 |
16,20 |
545,0 |
667,0 |
86,10 |
3,03 |
|
45 |
450 |
160 |
9,0 |
14,2 |
16,0 |
7,0 |
84,7 |
66,50 |
27696 |
1231,0 |
18,10 |
708,0 |
808,0 |
101,00 |
3,09 |
|
50 |
500 |
170 |
10,0 |
15,2 |
17,0 |
7,0 |
100,0 |
78,50 |
39727 |
1589,0 |
19,90 |
919,0 |
1043,0 |
123,00 |
3,23 |
|
55 |
550 |
180 |
11,0 |
16,5 |
18,0 |
7,0 |
118,0 |
92,60 |
55962 |
2035,0 |
21,80 |
1181,0 |
1356,0 |
151,00 |
3,39 |
|
60 |
600 |
190 |
12,0 |
17,8 |
20,0 |
8,0 |
138,0 |
108,00 |
76806 |
2560,0 |
23,60 |
1491,0 |
1725,0 |
182,00 |
3,54 |
