Монтажная схема балочной площадки
Рефераты >> Строительство >> Монтажная схема балочной площадки

Примечание. Sx – статический момент полусечения; Ix,Iy – моменты инерции; Wx,Wy – моменты сопротивления; ix ,iy – радиусы инерции.

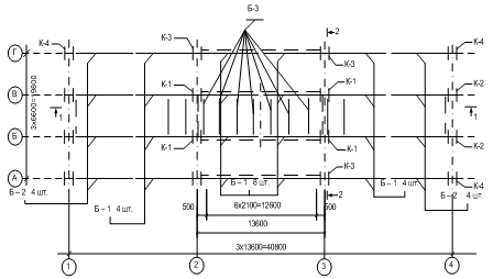
4. МОНТАЖНАЯ СХЕМА

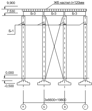
1-1

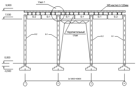
2-2

монтажный балочный настил колонна

Узел 1 3-3


Страница: