Межевание объектов землеустройства
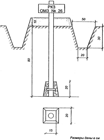
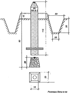
На пунктах ОМС делается надпись: Роскомзем ОМЗ N .
Пункты ОМС после закладки сдаются по акту на наблюдение за сохранностью:
- городской, поселковой или сельской администрации, если они построены на землях, находящихся в государственной или муниципальной собственности;
- собственнику, владельцу, пользователю земельного участка, если они находятся на его земельном участке.
Если пункт ОМС совмещен с межевым знаком, то он сдается на наблюдение за сохранностью всем собственникам, владельцам и пользователям размежевываемых земельных участков.
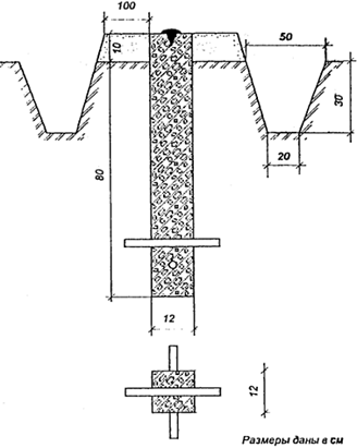
Рис.1 Бетонный пилон
Рис.2 Бетонный монолит
Рис.3 Железная труба
Рис.4 Деревянный столб
Рис.5 Штырь в пне
Рис.6 Марка (штырь, болт)
2.3 Межевые съемочные сети
Плотность пунктов опорной межевой сети, находящихся на территории проведения земельно-кадастровых геодезических работ обычно недостаточна для выполнения межевания земельных) участков, съемки объектов недвижимости, инвентаризации земель, и др. Поэтому ОМС необходимо сгустить, построив так называемую межевую съемочную сеть (МСС). Межевую съемочную сеть — геодезическую съемочную сеть создают с целью сгущения. ОМС для ее дальнейшего использования в качестве геодезической основы для определения плоских прямоугольных координат межевых знаков, а также других характерных точек объектов недвижимости.
При построении МСС используют различные способы производства геодезических работ: полигонометрические (теодолитные) ходы, прямые и обратные угловые засечки, линейную засечку и лучевой способ. Технология этих работ и математическая обработка результатов геодезических измерений были подробно рассмотрены при изучении курса геодезии.
Ниже приведены особенности производства геодезических работ при построении межевых съемочных сетей на землях поселений при закреплении месторасположения центров пунктов стенными знаками, а также геодезической привязки к пунктам ОМС на застроенных территориях.
Стенные знаки более долговечны, чем грунтовые, более экономичны и просты при закладке. По конструкции стенные знаки могут быть различными. Один из них показан на рисунке 2.2.
Рис. 7 Стенной знак
1 - надпись пункта ОМС; 2 - вид сверху; 3 - общий вид
Стенные знаки располагают на основных несущих элементах (стенах, надстройках и т. п.) кирпичных, каменных, бетонных и других зданий и сооружений, не имеющих видимых нарушений цокольной части. Стенной знак крепят на высоте 0,3 .1,2м от поверхности земли. Носителем координат стенного знака является отверстие диаметром 2 мм, просверленное в головке знака. На диске знака должна быть размешена соответствующая надпись о принадлежности знака. Отметим, что стенные знаки можно закладывать в цокольную часть зданий и сооружений как в единственном числе (одинарный стенной знак), так и парами (парные стенные знаки) на расстоянии друг от друга 10 .20м. В последнем случае между ними измеряют расстояние стальной рулеткой с погрешностью не более 1 мм.
Заключение
Для проведения любого мероприятия, связанного с использованием земли в промышленности, со строительством сооружений, требуются:
Изучение земной поверхности (форм рельефа, места расположения различных объектов), производство специальных измерений, их вычислительная обработка и составление карт, планов, профилей, которые служат основной продукцией геодезических работ и дают представление о форме и размере поверхности всей земли и ее отдельных частей.
В процессе строительства сооружений геодезическими методами наблюдают за вертикальностью стен, горизонтальностью балок, уклонами дорог, высотами плотин, глубиной и уклонами каналов, а в процессе их эксплуатации следят за деформацией и осадками.
Перенесение проектов на местность представляет собой процесс, обратный топографической съемке, при которой, как известно, определяется месторасположение физически существующих на местности объектов и предметов, а также создается цифровая модель рельефа. При выносе в натуру проектов границ земельных участков проектной точки на местности физически не существует, однако ее проектное месторасположение известно (задано) и, следовательно, в процессе геодезических разбивочных работ может быть закреплено (указано) на местности.
Исходными данными при геодезических разбивочных работах служат сведения государственного земельного кадастра, например в форме плоских прямоугольных координат ранее установленных межевых знаков, а также плоские прямоугольные координаты соответствующих проектных точек, полученные при проектировании границы земельного участка
Точность выноса на местность соответствующих проектных точек зависит как от точности исходных данных, так и точности геодезических измерений (построений).
От точности геодезических построений зависит точность положения проектной точки относительно ближайшего пункта межевой съемочной или иной геодезической сети, используемой при геодезических разбивочных работах.
Цель данной курсовой работы заключалась в ознакомлении с порядком проведения межевания объектов землеустройства.
В данной курсовой мною проведена работа по сбору, систематизации и архивации теоретических и практических данных по межеванию объектов землеустройства.
Список использованной литературы
1. Неумывакин Ю. К., Перский М. И. Земельно – кадастровые работы, 2005 г.
2. М. И. Буров, В. И. Нефедов, Ю. М. Трунин / Изв. Вузов. Геодезия и аэросъемка. 1998 № 6. С. 59-66
3. В. В. Баканова. Геодезия. Учебник для вузов. – М.: Недра, 1980.
4. Е.Б. Клюшин, И 62 М.И. Киселев, Д.Ш. Михелев, В.Д. Фельдман; Под ред. Д.Ш. Михелева Инженерная геодезия. Учебник для вузов , 2001г.
5. В.И. Радионов Руководство по учебно – геодезической практике М.: Недра, 1983
Приложение 1
Утверждаю:
Заказчик _
" " 20 г.
Задание
на межевание земельного участка
1.Земельный участок
2.Местоположение земельного участка _
3. Площадь
4.Наименование и адрес правообладателя земельного участка
5.Наименование и адрес исполнителя _
6. Границы, требующие установления (упорядочения, восстановления) их местоположения на местности (кадастровые номера смежных земельных участков и номера точек)
7. Особые и дополнительные требования к производству работ и отчетным материалам _
