Отбор пластового флюида с помощью опробователей пластов
С помощью роликов 3, За обычно определяют длину опущенного в скважину кабеля. Для этого длину окружности ролика выбирают такой, чтобы за 1 оборот через него проходило определенное количество кабеля, примерно 1,5 или 2 м. С роликом шестеренчатой передачей связаны счетчик, показывающий количество опущенного кабеля, и сельсин-датчик. Соотношение зубьев в шестеренчатой передаче таково, что при прохождении 1 м кабеля через ролик блок-баланса ротор сельсиндатчика делает 4 оборота.
В промыслово-геофизических станциях при исследовании скважин к сельсин-датчику, установленному на блок-балансе, подключают три сельсин-приемника, которые посредством шестеренчатых передач приводят в обращение счетчик глубин в кабине лебедчика, счетчик глубин на контрольной панели в лаборатории, лентопротяжный механизм регистратора.
Для более точного определения глубин кабель промеряют мерной лентой и на нем через 20—50 м устанавливают метки. Кабель промеряют в условиях, приближенных к скважинным. На блок-балансе устанавливают меткоуловитель, отмечающий момент прохождения меток и передающий соответствующие сигналы на регистратор.
Для определения натяжения кабеля при спуско-подъемных операциях ось и опору ролика рамочного блок-баланса смещают относительно друг друга. Это смещение определяет длину малого плеча рычага, равного в блок-балансах тяжелого типа 8 мм. Второе плечо длиной 330 мм образуется продолжением щеки от точки опоры до места крепления с динамометром пружинного типа. Конец плеча соединен с подвижным контактом реостата,являющегося датчиком натяжения кабеля. Сила, действующая в этом случае на динамометр, равна примерно 1/30 фактического натяжения кабеля в скважине.
В подвесном блок-балансе на тензодатчика, который устанавливают в месте крепления подвесного ролика к крюку бугрузку на кабель измеряют с помощью ровой лебедки. В этом случае сила, действующая на датчик натяжения, равна 1/2 фактического натяжения кабеля в скважине.
Показания динамометра с помощью датчиков натяжений передаются на измерительные приборы, установленные на контрольной панели в кабине лебедчика и в лаборатории станции. На контрольной панели, помимо указателя натяжения кабеля, размещены указатели скорости движения кабеля и счетчик глубины.
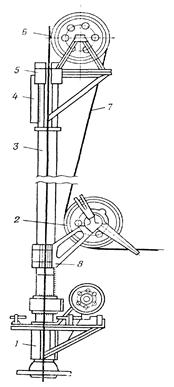
Ряд геофизических работ, особенно при исследовании эксплуатационных скважин или скважин, осложненных высокими пластовыми давлениями, проводятся при герметизации устья скважины с помощью лубрикаторов. На рис. 7 изображен лубрикатор ВНИИ марки Л-4, установленный на фланце арматуры скважины.
Рис. 7. Общий вид лубрикатора Л-4.
1 — основание; 2 — мерный ролик; 3 — приемная камера; 4 — кронштейн; 5 — сальник; 6 — верхний ролик; 7 — кабель; 8 — червячное колесо с кронштейном для установки приемной камеры
Скважинный прибор на кабеле вводят вначале в приемную камеру лубрикатора, а затем, открыв подлубрикаторную задвижку, спускают в скважину. Ввод кабеля в лубрикатор герметизируется сальником. Имеются лубрикаторы различных типов, применяемые при разных давлениях в скважине. Для работы с герметизированным устьем используют также устьевые сальники.
Библиографический список:
1. Добрынин ВМ., Вендельштейн БЮ., Пезванов РА., Африкян АН., Промысловая геофизика. М.: Недра, 1986
2. Итенберг С.С., Интерпретация результатов каротажа скважин. М.: Недра, 1978.
