Применение в скважинах бесштанговых насосов
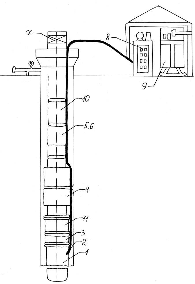
Наземное оборудование состоит из устьевого оборудования, станции управления и трансформатора.
Трансформатор предназначен для компенсации падения напряжения в кабеле, подводящем ток к ПЭД.
При помощи станции управления осуществляют ручное управление двигателем, автоматическое отключение агрегата при прекращении подачи жидкости, нулевую защиту, защиту от перегрузки и отключения агрегата при коротких замыканиях. Во время работы агрегата центробежный ток насос всасывает жидкость через фильтр, установленный на приеме насоса и нагнетает ее по насосам. Трубам на поверхность. В зависимости от напора, т.е. высоты подъема жидкости, применяют насосы с различным числом ступеней. Над насосом устанавливают обратный и сливной клапан. Обратный клапан используется для поддерживания в НКТ, что облегчает пуск двигателя и контроль его работы после пуска. Во время работы обратный клапан находится в открытом положении под действием давления снизу. Сливной клапан устанавливают над обратным, и используется для слива жидкости из НКТ подъеме их на поверхность.
Рис. 1. 1 – двигатель; 2 – кабель; 3 – гидрозащита; 4 – насос ЭЦН 5,6 – обратный и сливной клапаны; 7 – устьевое оборудование; 8 – автотрансформатор; 9 – станция управления; 10 – НКТ; 11 – модуль всасывающий.
2.2 Наземное оборудование УЭЦН: устьевое оборудование, трансформатор, ШГС
Это оборудование предназначено для герметизации устья и регулирования отбора нефти в период фонтанирования при эксплуатации штанговыми скважинными насосами, а также для проведения технологических операций, ремонтных и исследовательских работ в скважинах, расположенных в умеренном и холодном макроклиматических районах.
В оборудовании устья типа ОУ колонна насосно-компрессорных труб расположена эксцентрично относительно оси скважины, что позволяет проводить исследовательские работы через межтрубное пространство.
Запорное устройство оборудования - проходной кран с обратной пробкой. Скважинные приборы опускаются по межтрубному пространству через специальный патрубок.
Подъемные трубы подвешены на конусе, Насосно-компрессорные трубы и патрубок для спуска приборов уплотнены разрезными резиновыми прокладками и нажимным фланцем. Конус и все закладные детали уплотнительного узла выполнены разъемными.
В оборудовании применен устьевой сальник с двойным уплотнением. Для перепуска газа в систему нефтяного сбора и для предотвращения излива нефти в случае обрыва полированного штока предусмотрены обратные клапаны.
Оборудование унифицировано с серийно выпускаемой фонтанной арматурой с проходными пробковыми кранами.
Техническая характеристика приведена ниже.
Рабочее давление, МПа:
в арматуре 14
при остановившемся станке-качалке 14
при работающем станке-качалке 4
Запорное устройство ствола и боковых отводов Кран пробковый проходной типа КПСС
Рабочая среда Некоррозионная
Габаритные размеры, мм 2100*430*996
Масса, кг 450
Оборудование ОУГ-65Х21
Предназначено для герметизации устья нефтяных скважин, оснащенных гидроприводными насосами.
Применяется в умеренном и холодном макроклиматических районах.
Оборудование ОУГ-65Х21 (рис.2) обеспечивает подвеску лифтовых труб, проведение ряда технологических операций с целью спуска и извлечения гидропоршневого насоса, а также проведение ремонтных исследовательских и профилактических работ.
Рис, 2. Оборудование устьевое ОУГ-65Х21: 1— сливной вентиль; 2 — задвижка; 3 — тройник; 4 — переводной фланец; 5 — вентиль ВК.-3; 6 — крестовик; 7 — промежуточный фланец.
Схема устьевого оборудования 1. колонная головка, 2. трубная подвеска, 3. резиновое уплотнение, 4. Пояс, 5. Задвижка, 6.патрубок с фланцем, 7. затрубное пространство, 8. Кабель, 9. эксплуатационная колонна, 10. НКТ
Трансформатор
У трансформаторов предусмотрено масляное охлаждение. Они предназначены для работы на открытом воздухе. На высокой стороне обмоток трансформаторов выполняется по пятьдесят ответвлений для подачи оптимального напряжения на электродвигатель в зависимости от длины кабеля, загрузки электродвигателя и напряжения сети.
Переключение отпаек производится при полностью отключенном трансформаторе.
Трансформатор состоит из магнитопровода, обмоток высокого ВН и НН напряжения, бака, крышки с вводами и расширителя с воздухосушителем.
Бак трансформатора заполняется трансформаторным маслом, имеющим пробивное напряжение не ниже 40кВт.
На трансформаторах мощностью 100 - 200кВт установлен термосифонный фильтр для очистки трансформаторного масла от продуктов старения.
На крышке бака смонтирован:
привод переключателя ответвлений обмоток ВН (один или два);
ртутный термометр для измерения температуры верхних слоев масла;
съемные ввода ВН и НН, допускающие замену изоляторов без подъема извлекаемой части;
расширитель с маслоуказателем и воздухоосушителем;
металлический короб для предохранения вводов от попадания пыли и влаги.
Воздухоосушитель с масляным затвором предназначен для удаления влаги и очистки от промышленных загрязнений воздуха, поступающего в трансформатор при температурных колебаниях уровня масла.
Станция управления ШГС
Комплексное устройство, или станция управления ШГС 5805 предназначена для управления УЭЦН мощностью до 100 кВт. а комплексное устройство КУПНА — для установок с электродвигателями мощностью свыше 100 кВт.
Станция управления ШГС 5805 располагается в металлическом шкафу, в котором размещено электрооборудование, обеспечивающее защиту электродвигателя и насоса от различных неполадок.
Например: отключение ПЭД, защита при падении напряжения в сети, или при повышении напряжения выше номинального.
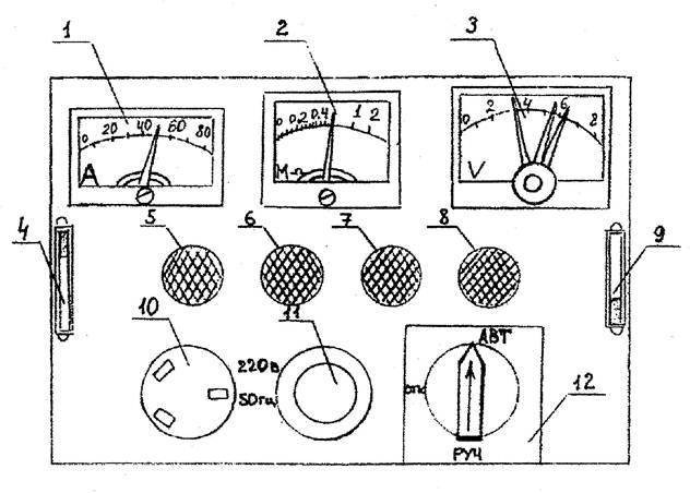
Оператор по добыче нефти производит включение или отключение установки, а также контроль за работой установки по сигнальным лампам и по КИП на передней панели ШГС.
Рис. 3. Передняя панель шкафа ШГС
Амперметр
Омметр
Вольтметр
Автоматическая защита розетки
Лампочки сигнализирующие:
о перегрузке
о недогрузке
о падении давления
о перегрузке двигателя
Автоматическая блокировка управления
Розетка
Кнопка «Пуск», «Стоп»
Переключение управления
2.3 Автоматизация УЭЦН
Скважина, эксплуатируемая с помощью ЭЦН, оснащается станцией управления ШГС и электроконтактным манометром. Устройство обеспечивает:
включение и отключение электродвигателя;
дистанционное управление ПЭД от программного устройства;
работу ПЭД насосной установки в режиме «ручной» и «автоматический»;
автоматическое включение электродвигателя с регулируемой выдержкой времени от 2,5 -2,5+2,5 до 60 -+ 6 минут, при подаче напряжения питания;
станция не включает электродвигатель, если напряжение питания сети будет подаваться с изменением фаз;
двигатель не включается, если напряжение сети больше 420 В, при перегрузке любой из фаз. Отключает электродвигатель при отключении напряжения питания сети выше 10 % или 15% от номинального, если это отключение приводит к допустимой перегрузке по току с автоматическим повторным включением электродвигателя после восстановления напряжения;
