Проект разбуривания участка в районе деятельности БП ТЮМЕНБУРГАЗ
Проверяем трубы на прочность:
И так окончательно выбираем трубы согласно ГОСТу–632–64, ОТТМ диаметром 168,3 мм и толщиной стенки 7,3 мм, диаметром муфты 188 мм.
Результаты расчетов сведены в таблицу 2.13.
Таблица 2.13
|
Номер секции |
L, м |
д, мм |
Группа прочности |
Q, кН |
n1 |
n2 |
n3 |
|
1 |
1300 |
7,3 |
Д |
382,6 |
1,8 |
6,7 |
2,3 |
2.5.4 Компоновка кондуктора и эксплуатационной колонны
Выбор технологической оснастки.
Под названием «технологическая оснастка» подразумевается набор устройств, которыми оснащают обсадную колонну для обеспечения ее спуска и качественного цементирования. Выбранная технологическая оснастка включает в себя следующие элементы:
1) Элементы оснастки кондуктора.
а) башмак с бетонной насадкой БК-245;
б) обсадные трубы диаметром 245 мм;
в) для предупреждения перетока бурового или тампонажного раствора из заколонного пространства в обсадную колонну, в процессе крепления скважины оборудуется обратным клапаном ЦКОД-245. его монтируют или в башмаке обсадной колонны или на 10-12 м выше него.
г) для цементирования обсадной колонны в стволе скважины, с целью равномерного заполнения кольцевого пространства тампонажным раствором и качественного разобщения, оборудуется центраторами ФП 245х3500 – 3шт.
2) Элементы оснастки эксплуатационной колонны.
а) башмак с бетонной насадкой БК-168 мм;
б) обсадные трубы диаметром 168 мм;
в) обратный клапан ЦКОД-168;
г) центраторы ФП 168х214х265 – 8 шт.;
д) турбулизаторы ЦТ 168/214-3 – 8 шт.;
Их устанавливают на обсадной колонне в зонах расширения ствола скважины на расстоянии не более 3-х метров друг от друга;
е) для разрушения корки бурового раствора на стенках скважины при расхаживании обсадной колонны, и образования прочного цементного кольца за обсадной колонны, оборудуется скребками 168/214 – 6 шт.
2.6 Цементирование эксплуатационной колонны
2.6.1 Расчет необходимого количества материалов
Для облегчения качественного крепления обсадной колонны выбираем портландцемент ПЦТ-ДО-50.
Определяем водоцементное отношение для облегченного цементного раствора и для цементного раствора по формуле:
где сц = 2920 кг/м3 – плотность цементного раствора;
– для облегченного цементного раствора:
– для цементного раствора:
Найдем необходимый объем:
– облегченного цементного раствора:
т.к. облегченный цементный раствор находится внутри кондуктора, т.е. в обсаженной части ствола скважины:
– цементного раствора:
Объем воды для приготовления:
– для цементного раствора:
– для облегченного цементного раствора:
Количество цементировочной техники:
где снас –насыпная плотность цементного порошка;
Vбунк –объем бункера цементосмесительной машины СМН-20;
Для приготовления цементного раствора:
Для приготовления облегченного цементного раствора:
Всего потребуется для приготовления и закачки цементных растворов 3 машины 1АС-20 и 4 машины ЦА-320.
2.6.2 Гидравлический расчет цементирования
Определим объемное содержание глины, цемента и воды в 1 м3.
где qсм – масса сухого тампонирующего материала,
qв – объем содержания воды в 1м3 раствора,
где qгл –масса глинопорошка в 1м3 раствора,
qц – масса цемента в 1м3 раствора,
Определим для облегченного цементного раствора:
Определим общую массу цемента, глины и воды потребного для приготовления облегченного цементного раствора:
Найдем qсм для цементного раствора:
Определим общую массу цемента, глины и воды потребного для приготовления облегченного цементного раствора:
Определим подачу ЦА-320 при закачке облегченного цементного раствора:
где Qв –объемная подача воды, Qв = 12,6 л/с;
Определим подачу ЦА-320 при закачке цементного раствора:
Определим время закачки:
– облегченного цементного раствора:
– цементного раствора:
Результаты расчета цементирования приведены в приложении 1.
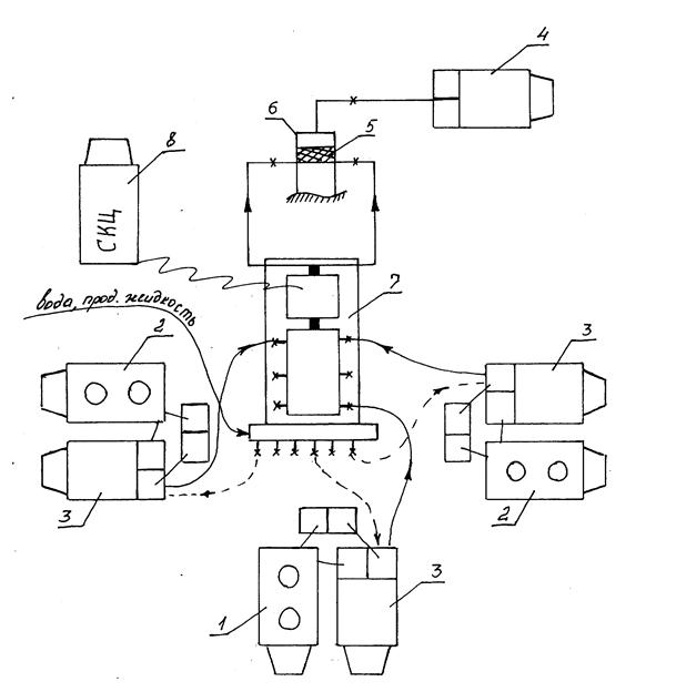
График процесса закачки и продавки цементировочного раствора приведены на рис.2.5, а схема обвязки на рис.2.6.
Рисунок 2.5 График процесса закачки и продавки цементного раствора.
Рис. 2.6 Схема обвязки.
1, 2 – Смесительные машины с цементным и облегченным цементным растворами;
3 – ЦА для приготовления цементного и облегченного цементного раствора;
4 – ЦА начинающий продавку;
5 – Цементировочная пробка;
6 – Цементировочная головка;
