Разработка методов и средств поверки и калибровки геодезических приборов для измерения превышений
– многогранные эталонные призмы, погрешность изготовления < 0,5”;
– автоколлиматоры для задания референтных направлений с точностью наведения < 0,2”;
– растровые измерительные преобразователи с дискретностью отсчитывания < 0,5мкм;
– лазерные интерферометры с погрешностью < (1мкм + 1pmm),
и удовлетворены следующие требования:
– минимизация времени исследований (за счет сокращения числа измерений и автоматизации процесса поверки и калибровки, компьютерной обработки измерительной информации);
– обеспечение соответствующих климатических условий для эталонных стендовых исследований;
– обеспечение единой метрологической базы поверки и калибровки нивелиров и тахеометров;
– применение оптимальных альтернативных эталонных средств измерений (СИ) (призмы, инварные и композитные жезлы, автоколлиматоры, растровые датчики);
– использование современных эталонных СИ для поверки и калибровки нивелиров и тахеометров.
Следует отметить, что с появлением кодовых лимбов и штрих-кодовых реек большую роль играет погрешность считывания с мер. Погрешность считывания зависит в основном из двух видов погрешностей: погрешностей нанесения делений на меру и погрешностей интерполяции электрического сигнала. Эти погрешности, в свою очередь, носят длиннопериодический (накопленный) и короткопериодический (внутришаговый) характер. Для исследования короткопериодической (внутришаговой) погрешности не разработано методик и средств поверки и калибровки.
С целью устранения этих недостатков в МИИГАиК при участии автора выполнены разработки и исследования универсального метрологического комплекса (УМК-М) для поверки и калибровки современных оптико-электронных приборов при непосредственном участии автора.
Вторая глава. Во второй главе рассмотрены разработанные методы проведения исследований метрологических установок и стендов для поверки и калибровки геодезических приборов для измерения превышений.
Метод исследования короткопериодической погрешности измерения вертикальных углов геодезических приборов. Важной задачей при исследовании оптико-электронных геодезических приборов является испытание систем, измеряющих вертикальные углы. В измерительных растровых системах доминирующей составляющей суммарной погрешности является короткопериодическая (внутришаговая) погрешность. Для исследования короткопериодической погрешности предлагается способ косвенного измерения определения эталонного значения вертикального угла. При известных значениях превышения h и измеренном горизонтальном положении D вычисляется угол n, равный: n = arctg h /D, очевидно:
что при D = 10 м и h< 100 мм обеспечивает погрешность измерений с sh = 0,003 мм и sD = 3 мм, получаем sn < 0,6”, что вполне приемлемо для высокоточных угломерных приборов (УП). Эталонное превышение h следует устанавливать, руководствуясь длиной растрового преобразователя, целесообразней проходить с некоторым шагом. Для задания такого эталонного превышения используется растровый измерительный преобразователь линейного вида, погрешность которого не превышает 0,003 мм. Горизонтальное проложение D от исследуемого прибора до визирной цели может быть измерено светодальномером. Погрешность определения вертикального угла соизмерима с погрешностью визирования на цель. Чтобы ослабить влияние погрешности визирования, на разработанном стенде может быть использован разрезной фотодиод для фиксации референтного направления, наведение на ось симметрии диода может производиться полупроводниковым лазером. Лазерный излучатель при этом устанавливается на трубу исследуемого прибора в непосредственной близости от визирной оси. Схема метода представлена на рис.1.
Рис. 1. Схема исследования короткопериодической погрешно-сти измерения вертикального угла (ВУ) угломерными приборами.
1 – УП, 2 – растровая мера, 3 – считывающая головка растрового преобразователя, 4 – разрезной фотодиод, 5 – лазерная насадка.
Метод позволяет определить короткопериодическую (внутришаговую) погрешность измерения вертикального угла. Так же по результатам исследования может быть выявлена калибровочная характеристика.
Метод поверки системы лазерного трекера для измерения превышений и вертикальных углов. Лазерный трекер является геодезическим средством измерения и, в соответствии с законом о единстве измерений, требует проведения метрологической поверки или калибровки. Погрешность измерения вертикальной координаты "Z" (превышения) современных лазерных трекеров составляет порядка 20 мкм. Для проведения поверки и калибровки системы лазерного трекера для измерения превышений в данной работе разработан метод, позволяющий исследовать как накопленную погрешность измерения превышения, так и короткопериодическую (внутришаговую) составляющую погрешности.
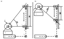
Для проверки точности измерения вертикальной координаты предложено использовать в качестве эталонного средства измерения растровый измерительный преобразователь, погрешность определения превышения которого не превышает 3 мкм. Для проведения поверки целесообразней выбрать вертикальный диапазон измерения превышений, соответствующий диапазону исследуемого прибора. Методика проведения поверки заключается в измерении одинаковых превышений по растровому измерительному преобразователю и лазерному трекеру. Вполне возможно применить альтернативное эталонное средство поверки – лазерный интерферометр (погрешность 1мкм+1ppm), как отдельно, так и совместно с растровым измерительным преобразователем. При проведении исследования отсчеты по всем трем приборам берутся одновременно и затем сравниваются. Отражатели трекера и интерферометра должны перемещаться совместно с растровым измерительным преобразователем вдоль меры. За эталонное превышение принимается значение, измеренное растровым измерительным преобразователем, а значение, измеренное интерферометром, используется как контрольное. Эталонное превышение по растровому преобразователю сравнивается с превышением, измеренным лазерным трекером (рис.2).
Рис.2. Схема поверки системы лазерного трекера для измере-ния превышений и вертикальных углов:
а) схема поверки при положительных значе-ниях углов наклона, б) схема поверки при отрицательных значе-ниях углов наклона, 1-поверяемый лазерный трекер, 2-лазерный интерферометр, 3-разворачивающий блок интерферометра, 4-отражатель интерферометра, 5-растровый измерительный преобразователь, 6-стеклянная растровая мера, 7-отражатель трекера, 8-поворотная головка трекера.
Калибровку проводят в помещении с постоянной температурой и давлением, при минимальном времени проведения измерений.
Методы поверки и калибровки системы "нивелир – рейка". Основной метрологической погрешностью нивелира является средняя квадратическая погрешность измерений превышений на 1 км нивелирного (двойного) хода. Пути её выявления весьма трудоемки, и получение инструментальной погрешности нивелирования затруднительно. Для решения этой задачи в диссертации разработаны и исследованы методы и средства калибровки системы "нивелир-рейка".
