Определение коэффициентов потерь в местных гидравлических сопротивлениях
При экспериментальном определении коэффициентов местных сопротивлений в трубопроводе с местным сопротивлением рассчитываются два сечения: на входе и на выходе из местного сопротивления. Из уравнения Бернулли (1) при условии, что , определяются потери напора:
(19)
Рис. 8.
Если площади проходных сечений до и после местного сопротивления одинаковы и трубопровод расположен горизонтально (рис. 8), то
;
, и гидравлические потери равны разности пьезометрических напоров в сечениях 1 и 2.
(20)
Коэффициент местного сопротивления определяется из формулы Вейсбаха (2):
(21)
При таком способе определения потерь в местных сопротивлениях потери на трение не выделяются, а входят в состав местных потерь, т.е.
. Следует иметь в виду, что при расчетном определении потерь полного напора в трубопроводе, содержащем несколько последовательно установленных местных сопротивлений, простое суммирование их потерь (так называемый принцип наложения потерь) дает правильные результаты, если сопротивления расположены друг от друга на расстоянии, превышающем длину взаимного влияния, которая составляет 30…40 диаметров трубопровода.
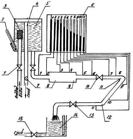
Описание установки.
Схема экспериментальной установки представлена на рис. 9. Вода из напорного бака подается в горизонтально расположенный трубопровод с набором местных сопротивлений:
дроссельная шайба 7,
внезапного расширения 8,
внезапного сужения 9,
вентиль10,
отвод (угольник) 11,
отвод (угольник) 12.
В напорный бак вода непрерывно подается из водопровода через вентиль 1 и успокоительную сетку 3. Излишки воды из бака сливаются через переливную трубу 4. Для контроля температуры воды в баке имеется термометр 2. Расход воды через местные сопротивления регулируется вентилем 13. После прохождения экспериментального участка вода сливается в мерный бак 14, на выходе из которого имеется кран 15.
Установка снабжена пьезометрическим щитом 6 для замера напоров во всех наблюдаемых сечениях, как показано на рис. 8
Рис. 9
Литература
1. Башта Т.М. и др. Гидравлика, гидромашины и гидроприводы. – М.: Машиностроение, 1984, 424с.
2. Идельчик И.Е. Справочник по гидравлическим сопротивлениям. – М.: Машиностроение, 1975. – 559с.
3. Лабораторный практикум по гидравлике, гидромашинам и гидроприводу / Под ред. Вильнера Я.М. – Минск: Высшая школа, 1980, - 224с.
4. Лабораторный курс гидравлики, насосов и гидропередач / Под ред. Руднева С.С. и Подвидза Л.Г. – М.: Машиностроение, 1974 – 415с.
