Определение удельного электрического сопротивления горных пород методом бокового каротажа
Преимущество зонда бокового каротажа перед обычными зондами особенно наглядно иллюстрируется на рис. 3, где показано распределение токовых линий, выходящих из расположенного в середине тонкого пласта большого сопротивления токового электрода, в случае обычного зонда (а), когда экранные электроды отсутствуют, и при зонде бокового каротажа (б), когда имеются экранные электроды, сила тока через которые регулируется так, как указано выше. Как видно, при обычном зонде токовые линии в пределах пласта в основном идут вверх и вниз по скважине, пока не выйдут во вмещающие породы низкого сопротивления; поэтому кажущееся удельное сопротивление много меньше удельного. Наоборот, при боковом каротаже токовые линии распространяются по пласту так, что полученное сопротивление, пропорциональное падению потенциала между электродом А0 и бесконечностью по пласту, будет близко к удельному сопротивлению пласта.
Рис. 3. Распределение токовых линий, выходящих из расположенного против середины пласта большого сопротивления электрода А обычного зонда (а) и электрода А0 зонда бокового каротажа (б).
Для увеличения радиуса исследования в методе БК применяются девятиэлектродные фокусированные зонды, в которых между основными экранными А1 и А2 и измерительными N1 и N2 электродами установлены дополнительные экранные электроды В1 и В2.
Фокусировка тока центрального электрода в этом зонде может производиться двумя способами:
1) через электроды В1 и В2 пропускают ток обратной полярности и постоянной силы, в несколько десятков раз превышающей силу тока, проходящего через электрод А0; ток, протекающий через электроды А1 и А2, регулируют так, чтобы разность потенциалов между измерительными электродами М1 и N1 (M2 и N2) равнялась нулю;
2) поддерживают постоянной амплитуду тока, проходящего через электроды А1 и А2, а равенство нулю разности потенциалов между M1 и N1(M2 иN2) обеспечивается регулировкой силы и направления тока, протекающего через электроды В1 и В2.
При первом способе фокусировки тока I0 радиус исследования девятиэлектродного зонда заметно увеличивается по сравнению с семиэлектродным зондом в пластах большой мощности, при втором способе фокусировки девятиэлектродный зонд приобретает более благоприятные характеристики и радиус его исследования в пластах большой мощности еще больше возрастает. Этот зонд предложен венгерскими геофизиками и назван нормализованным. Он позволяет регистрировать величину рк, близкую к истинному удельному сопротивлению пород до очень больших значений.
Существует также девятиэлектродный так называемый псевдоэкранный зонд, который отличается от семиэлектродного фокусированного зонда тем, что обратный токовый электрод В в нем приближен к зонду и расположен в виде раздвоенных электродов В1 и В2 с внешней стороны электродов А1 и А2, симметрично относительно центрального электрода А0 (см. рис. 1 и 2, в). Через электроды А0, А1 и А2 замыкается токовая цепь. В связи с малым расстоянием от обратных токовых электродов до зонда создается такое распределение токовых линий центрального электрода, при котором значительная часть потенциала падает в непосредственной близости от скважины. В связи с этим радиус исследований девятиэлектродного псевдоэкранного зонда значительно меньше, чем семиэлектродного, и с его помощью можно изучать удельное сопротивление только ближней к скважине зоны пласта. По принципу работы этот зонд аналогичен семиэлектродному и к нему применимы те же теоретические расчеты. Условием фокусировки тока центрального электрода является также равенство потенциалов на электродах M1 и N1 (M2 и N2). Характерные размеры зонда: Lобщ(А) — расстояние А1А2, Lобщ(В) — расстояние В1В2, L — расстояние О1О2. Параметр фокусировки q=(Lобщ(А)—L)/L.
2.3. ВЫБОР АППАРАТУРЫ, ЕЕ ХАРАКТЕРИСТИКИ И ПРИНЦИП РАБОТЫ
В серийной аппаратуре БК наибольшее распространение получили трехэлектродные зонды с двумя закороченными между собой экранными электродами АЭ1 и Аэ2.
При конструировании трехэлектродных зондов БК учитывают следующие обстоятельства:
1) уменьшение L снижает влияние вмещающих пород, однако при L<0,3dc (где dc — диаметр скважины) резко возрастает погрешность измерений;
2) с увеличением Loбщ улучшается фокусировка тока и возрастает радиус исследования;
3) с уменьшением dз возрастает влияние скважины, поэтому dз>0,25dc. В приборах АБКТ, Э1, К1А-723М применен зонд, для которого L = 0,15 м; Loбщ = 3,2 м; d3 = 0,07—0,073 м. Коэффициент К такого зонда 0,24.
В приборах БК с трехэлектродными зондами равенство потенциалов А0 и Аэ достигается одним из следующих способов питания электродов; 1) автоматическим изменением тока через электрод Аэ, при котором ток I0 сохраняется постоянным; 2) соединением между собой всех трех электродов, при котором I0 изменяется при измерении. В аппаратуре АБКТ соединение электрода А0 с Аэ выполнено с помощью небольшого резистора R, который одновременно используется для измерения I0. Сопротивление резистора (примерно 0,01 Ом) достаточно мало, чтобы не нарушить эквипотенциальность зонда, но достаточно велико для измерения I0. В аппаратуре серии Э роль резистора выполняет вторичная обмотка трансформатора, сопротивление R которой по переменному току питания примерно равно 0,01 Ом и рассчитано как R = R*/n2, где R* — сопротивление подстроечного резистора, подключенного параллельно первичной обмотке , а n — коэффициент трансформации. При n = 1000 значение R* равно 10 кОм, что облегчает его подбор.
Более сложные семи- и девятиэлектродный зонды БК использованы в аппаратуре БКС-2. В них применена стабилизация тока I0 с помощью автокомпенсатора.
Аппаратура электрического каротажа типа K1A-723
Прибор предназначен для проведения ГИС в нефтяных и газовых скважинах. Прибор обеспечивает возможность за один проход по интервалу исследования выполнить измерения комплексом зондов БКЗ, зондом БК-3, зондом ИК, резистивиметром и ПС. Применяется для исследования в не обсаженных скважинах заполненных промывочной жидкостью. Отличается малыми габаритами, что позволяет использовать его при проведений измерений через буровой инструмент. Обладает высокой производительностью и надёжностью.
В приборе применена ТИС с времяимпульсной модуляцией сигнала и временным разделением каналов.
Аппаратура работает на трёхжильном бронированном кабеле длинной 5000 метров.
Длина прибора с зондом БКЗ - 20,4 метра.
Диаметр – 73 мм, вес – 80кг.
Питание 400 Гц, 400мА.
Максимальная рабочая температура – 1200С.
Давление – 80 мПа
Скорость каротажа – 2000 м/ч.
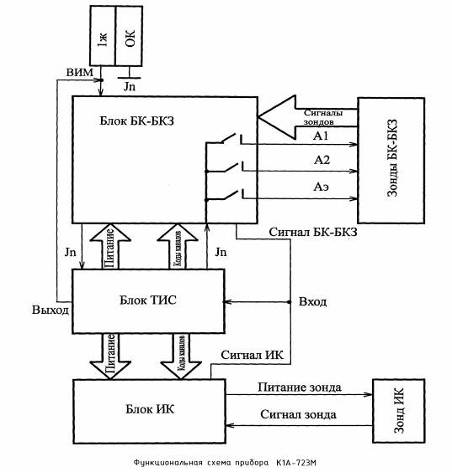
Рис 4. Функциональная схема прибора K1A-723M
При проведении измерений ток питания скважинного прибора подаётся по первой жиле кабеля и оплётке кабеля. Ток питания – переменный, частота – 400Гц, сила тока – 400мА. Ток питания поступает в блок БК-БКЗ, блок ТИС и блок ИК.
Питание токовых электродов А1, А2,Аэ поступает для питания зондов БК-БКЗ. Измеряемые сигналы, поступающие с зондов БК и БКЗ, поступают в блок БК-БКЗ, который обеспечивает питание зондов, приём, усиление, согласование со входом ТИС сигналов от зондов. Измеряемые сигналы с блока БК-БКЗ поступают на вход блока ТИС.
