Основы нефтепромысловой геологии. Емкостные сепараторы
В большинстве газожидкостных сепараторов основные элементы, обеспечивающие сепарацию, можно разделить на три группы: элементы, обеспечивающие грубое отделение нефти от газа, каплеуловители и аккумуляторы нефти. Элементы первой группы обеспечивают первичное отделение нефти от газа за счет использования центробежной или гравитационной силы. Они состоят из сепарирующего элемента на входе, полок, проходов для жидкости и части сепаратора, расположенной между поверхностью жидкости и входным патрубком (в вертикальных сепараторах) или выше поверхности жидкости (в горизонтальных и сферических) сепараторах.
Каплеуловители устанавливают на пути газового потока с целью отделения капелек жидкости. Они бывают в виде коалесцирующих набивок, а также лопастного или гидроциклонного типов. Аккумулятор нефти (а также воды, в случае трехфазных сепараторов) предназначен для сбора в нижней части аппарата жидкостей, отделившихся от потока либо сконденсировавшихся в сепараторе.
Для предотвращения прорыва газа в нефтяной коллектор или подъема уровня жидкости выше предельного, а также для обеспечения достаточного времени пребывания для всплытия газовых пузырьков из жидкости в сепараторах предусматриваются регуляторы уровня.
По форме сепараторы бывают вертикальными, цилиндрическими, горизонтальными одноемкостными и двухъемкостными, а также сферическими.
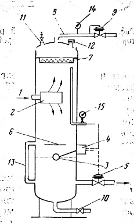
Рассмотрим подробнее устройство вертикального сепаратора:
Продукция скважин поступает в сепарирующий элемент 2 через входной патрубок 1, устанавливаемый на уровне 2/3 высоты аппарата. Входной патрубок может устанавливаться в радиальном или тангенциальном направлении. Выход нефти регулируется пневматическим клапаном 5, управляемый поплавком 3 через пневматический пилотный клапан 4. Колебание поплавка ограничивается щитом 6. Капли жидкости из потока газа улавливаются уголковым каплеотбойником 7, откуда они стекают в полость сепаратора. Давление в сепараторе контролируется регулятором 9, установленным на газовой линии 8. Механические примеси, которые могут осаждаться в нижней части сепаратора, могут удаляться через дренажный патрубок 10. Защита аппарата от избыточного давления осуществляется при помощи рычажного или грузового предохранительного клапана 11.
Список литературы
1. Иванова М.М. Нефтегазопромысловая геология: Учебник для вузов. / М.М. Иванова, И.П. Чоловский, Ю.И. Брагин. – М.: ООО «Недра-Бизнесцентр», 2000. – 414 с.
2. Силаш А.П. Добыча и транспорт нефти и газа. Ч. 2: Учебник для вузов. / А.П. Силаш; пер. с англ. Н.М. Байкова и др.; Под ред. Р.Ш. Мингареева. – М.: Недра, 1980. – 264 с.
3. Андреев В.В. Справочник по добыче нефти. / В.В. Андреев, К.Р. Уразаков, В.У. Далимов и др.; Под ред. К.Р. Уразакова. – М.: ООО «Недра-Бизнесцентр», 2000. – 374 с.
