Рославльское нефтяное месторождение
Следует обратить особое внимание на работу погружного оборудования УЭЦН в условиях повышенного выноса мехпримесей, АСП-отложений, повышенного газосодержания на приеме ЭЦН.
3.3 Мероприятия по улучшению работы УЭЦН
Поскольку основным способом нефтедобычи на Рославльском месторождении является добыча при помощи УЭЦН, то необходимость проведения мероприятий по улучшению работы скважин и защите УЭЦН от вредного влияния газа, механических примесей, а также от агрессивной продукции скважин является мероприятиями первостепенной важности.
Проводя эти мероприятия, предприятие не только продлевает срок службы оборудования, но и получает дополнительную добычу нефти.
Защита скважинного оборудования от механических примесей и вредного влияния газа осуществляется с помощью установки на приёме насоса газового и песочного якорей, а так же применения износостойкого оборудования, которое позволяет установке надежно работать при довольно высоком выносе механических примесей.
Для борьбы с газом в ОАО «Аганнефтегазгеология», как и во многих других предприятиях, используются газосепараторы различных конструкций. Чаще всего используют газосепараторы фирмы «Алнас».
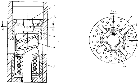
Модуль газосепаратор специальный МГСБТ5, МГСБТ5А (рис. 3.8) предназначен для обеспечения работы погружных центробежных насосов при откачке из нефтяных скважинпластовой жидкости с повышенным газосодержанием и восприятия осевых сил, действующих на валы секций насоса.
Модуль предназначен для комплектации насосов без осевых опор вала в секциях. Может использоваться для комплектации насосов с осевыми опорами вала в секциях и поставляться как самостоятельное изделие.
В модуле обеспечен осевой вход откачиваемой среды.
Вал модуля имеет диаметр 20 мм (в габарите 5) и 22 мм (в габарите 5А). Вал снабжен осевой опорой, выполненной из конструкционной керамики – карбида кремния, и радиальными опорами, выполненными из твердого сплава.
Различные исполнения модуля обеспечивают соединения с секцией насоса типа «болт-тело» по шести или восьми точкам и валами диаметром 17 мм и 20 мм (в габарите 5), и валами диаметром 17 мм, 20 мм и 22 мм (в габарите 5А).
Комплектуется шлицевыми муфтами для соединения с валами насоса и протектора гидрозащиты. Борьба с коррозией подземного оборудования в ОАО «Аганнефтегазгеология» заключается, в основном, в применении оборудования коррозионно-защитного исполнения. В течение прошедшего года формировались фонды скважин, осложненных коррозией. Для этого просматривались дефектовки насосов, акты ревизии НКТ, данные лаборатории по кислотности среды и минерализации. Для борьбы с АСПО на месторождении используют магнитные активаторы, а также подача ингибиторов с помощью специальных дозаторов. Рассмотрим эти мероприятия подробнее.
3.3.1 Измельчающее устройство ЭЦН
Для улучшения работы УЭЦН в условиях повышенного выноса механических примесей в ОАО «Аганнефтегазгеология» предлагается применить следующее приспособление - измельчающее устройство, которое позволит устранить причину отказов ЭЦН из-за попадания в его рабочие органы механических примесей ИМ -НМС (рис.3.9).
Рисунок 3.9 – Общий вид измельчителя мехпримесей ЭЦН
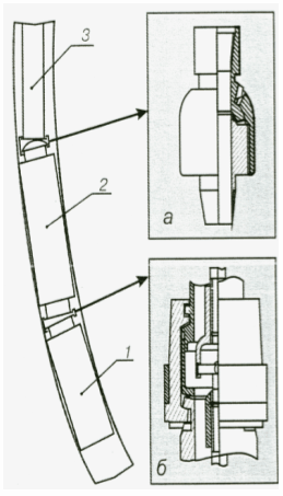
Измельчитель механических примесей предназначен для разрушения и измельчения механических примесей, находящихся в откачиваемой жидкости. ИМ устанавливается на нижний опорный подшипник УЭЦН.
Измельчающее устройство монтируется в приемной части насоса и состоит из шнека 4, пружины 5, неподвижного диска 2, кулачка 9, кольца 3, ножей 6. При вращении вала насоса 1 кулачок 9 упирается в пружину 10 и приводит во вращение кольцо с ножами 6 (рис.3.10).Ножи измельчают сравнительно нетвердые включения, например, кусочки парафина, смолистых отложений, а также волокнистые образования. Размельчение этих примесей происходит за один оборот вала. Если же в потоке жидкости встречается не поддающееся размельчению твердое тело, вращение ножей прекращается из-за упора одного из них в это твердое тело.
Вал насоса вместе с кулачком начинает проворачиваться относительно кольца 3, преодолевая усилие пружины. Кулачок и пружина поочередно приводят ножки в возвратно-поступательное движение в радиальном направлении при помощи направляющих пазов 8. Зубцы ножей при этом работают как пилы. Шнек обеспечивает проталкивание частиц через диск 2, имеющий отверстия 7 диаметром 2 мм.
Рисунок 3.10– Измельчающее устройство ЭЦН
1-вал ЭЦН; 2-диск; 3-кольцо; 4-шнек; 5,10-пружина; 6-ножи; 7-отверстия; 8-направляющие пазы; 9-кулачок.
В 2006 году внедрено пять УЭЦН с измельчителем механических примесей в скважинах со средней наработкой на отказ 72 суток. Из них отказало пять установок по причине снижения изоляции системы кабель-ПЭД со средней наработкой 101,7 суток. При дефектации оборудования выявлены твердые отложения и износ рабочих органов ЭЦН. В работе осталась одна установка с текущей наработкой 246 суток.
3.3.2 Комплект песочного якоря с противополетным оборудованием
Для снижения попадания механических примесей в ЭЦН предлагается комплект противополетного оборудования (ППО) фирмы Тайберсон" (США) и песочного якоря (рис. 3.11).
Песочный якорь 4 изготавливается из НКТ диаметрами 76 и 89 мм, имеет фильтр с отверстиями диаметром 3 мм и накопитель 5, длина которого рассчитывается в зависимости от концентрации песка в добываемой продукции и желаемого межочистного периода.
Сборка ППО 'Тайберсон" и песочного якоря устанавливается на расчетной глубине (обычно 30 - 40 м ниже зоны подвески ЭЦН 7) полностью разобщая пласт и ЭЦН. Продукция скважины поступает в якорь 4 через отверстия фильтра, песок оседает в накопителе 5, пластовая жидкость через клапан-отсекатель 2 ППО 3 поступает в насос.
На восьми скважинах НК «РуссНефть» с низкой наработкой ЭЦН из-за пескопроявления были спущены комплекты песочного якоря с ППО "Тайберсон". В результате наработка на отказ ЭЦН по этим скважинам в среднем увеличилась в 3,7 раза, число текущих ремонтов за год снизилось с 17 до I.
3.3.3 Шарнирное устройство для работы ЭЦН в искривленных скважинах
По актам ремонтов скважин с УЭЦН установлено, что основной причиной остановки скважин в ремонт является падение установок на забой. Анализ причин обрывов ЭЦН в скважинах со сверхнормативным искривлением ствола показывает [2], что наибольшее число аварий обусловлено разрушением НКТ и соединительных элементов УЭЦН. Основной причиной разрушения соединительных элементов является их ослабление при прохождении ЭЦН участков максимального искривления. При этом на часть болтов нагрузка возрастает, и они разрушаются.
В настоящее время разработаны и внедрены устройства для повышения устойчивости работы УЭЦН в скважинах со сверхнормативным искривлением ствола. Устройства обеспечивают снятие изгибающих нагрузок, действующих на установку как при прохождении интервалов с интенсивным набором кривизны при спуске, так и в период ее эксплуатации в зоне с набором кривизны выше допустимого.
