Совершенствование технологических операций при ремонте скважин с применением депрессионных устройств
Принцип работы депрессионных устройств заключается в создании депрессии на объект воздействия путем создания большого перепада давления в районе ПЗП скважины. Это достигается спуском пустых труб, открытием депрессионного устройства и заполнением груб под действием пластового давления или давления гидростатического столба жидкости.
Конструктивно депрессионные устройства (ДУ) изготавливаются в 2-х схемах.
Схема № 1
Депрессионное устройство (рис.1) изготавливается из пришедшего в негодность штангового насоса Ш1-44 и состоит из: штока, корпуса 0114 мм, переводников, упорной муфты.
Принцип работы.
Депрессионное устройство спускается па НКТ в скважину совместно с пакером или без пего. Во время посадки пакера или упора на забой срезается упорный болт-фиксатор. «Окна», на штоке совмещаются с «окнами» корпуса и появляется связь с внутренней полостью НКТ.
Изготовление ДУ не требует больших затрат и выполнимо в условиях оборудованной мастерской.
Схема №2
Депрессионное устройство (рис.2) изготавливается из НКТ 114x9 мм и представляет собой сборную на устье конструкцию
Затраты на изготовление в условиях мастерской невелики при наличии необходимого материала. Состоит из:
• НКТ 0 114x9, L 10 м;
• переводника 0 114-f73 мм, 2 шт.;
• НКТ 0 73, L 9 м;
• башмака НКТ 0 73 с заглушкой;
• сливных клапанов, 3 шт.
Принцип работы.
ДУ спускаются па шаблонированных НКТ в скважину совместно с пакером или без него. Производится посадка пакера или упор колонны НКТ на забой. Опрессовкой проверяется герметичность затрубного пространства, сбиваются сливные клапана и восстанавливается связь с внутренней полостью НКТ.
Преимуществами ДУ-2 являются больший размер «окон» перетока и прочность конструкции, возможность опрессовки спущенной компоновки, а также герметичность узлов по отношению к паре «плунжер насоса-корпус» ДУ-1, что не говорит о нецелесообразности применения ДУ 1 Решение о спуске различных схем ДУ зависит от преследуемых целей и возможности его изготовления, наличия необходимого материала и технологии ведения работ.
Предлагаемые схемы использования ДУ:
1. Очистка ПЗП после обработки пласта хим. реагентами.
После закачки хим.реагентов, направленных на повышение проницаемости пласта и его очистки, необходимо извлечь продукты реакции на поверхность. С этой целью предлагается использовать ДУ, позволяющее извлечь продукты реакции под действием энергии пласта. По предложенной компоновке спуска оборудования удается поместить продукты реакции во внутреннюю полость НКТ, поднять их до устья и промывкой извлечь на поверхность.
2. Очистка забоя скважин от посторонних предметов.
При загрязненности забоя скважин посторонними предметами и для его очистки используются фрезера-ловители, магнитные фрезера и т.д., требующие замыва предметов в полость фрезера или трубы. С этой целью предлагается воспользоваться ДУ, которое позволяет использовать энергию и направление потока жидкости в качестве замывающего агента. На рис.3 предложена компоновка спуска ДУ с лепестковым фрезером, которая позволяет замыть посторонние предметы
за лепестки фрезера с неоднократным изменением местоположения коронки фрезера в процессе притока.
3. Освоение скважин с применением ДУ.
D настоящее время в качестве метода освоения скважин широко распространено свабнросание скважин.
Для сокращения времени свабировапия и его объемов, за счет ненадобности извлечения объема труб, предлагается и компоновку с пакером включить ДУ, которое позволяет получить приток сразу из пласта и более качественное освоение по объему с одновременной очисткой ПЗП от фильтрата промывочной жидкости и загрязнений.
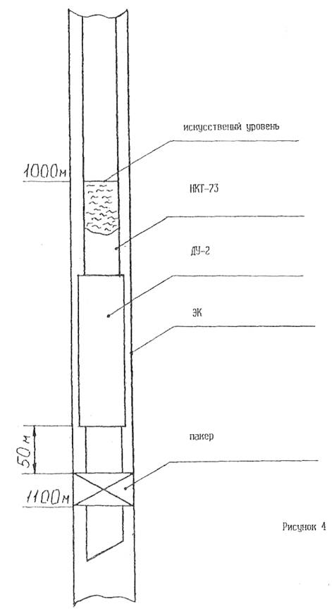
4. Использование ДУ при понижении уровня в скважине.
В процессе ремонтных работ на скважине после изоляции обводнившихся горизонтов и ликвидации негерметичпостей необходимо проверить цементный мост и вксплутащгакнуго колонну па герметичность понижением уровня в скважинй, для чего необходимо заказать СВабируГОщуга установку, произвести отбор жидкости с необходимой глубины и проследить за уровнем. Для решения поставленной задачи Предлагается вместо заказа свабиругощеи установки использовать компановку с ДУ (рис.4). Пакёр с ДУ спускается на глубину 1100 м при понижении уровня па 1000 м. Внутренняя полость НКТ заполняется промывочной жидкостью из расчета получения уровня 1000 м, сажается пакер и производится его опрессовка, После открытия ДУ прослеживается уровень, который не должен подняться выше расчетного по отношению к внутренним объемам эксплутационной колонны и НКТ.
5. Опенка продуктивных характеристик пласта.
Для оценки продуктивных характеристик пласта одним из методов является применение пластоиспытателя. Пластоиспытание производится геофизической партией с участием бригады КРС, спускающей оборудование. После небольшой доработки предлагается спуск ДУ в компоновке с накером UNI-6 фирмы «Гапберсон» и спец.клапаном, позволяющий отработать в режиме пластоиспытателя. В результате возможен отказ от услуг геофизиков, исключая затраты на интерпретацию материала, (рис.5)
Технология ведения работ:
Инструмент спускается в нужный интервал, сажается пакер, который позволяет сработать без нагрузки сверху. Производится его опрессовка. Открывается клапан и идет запись после срабатывания ДУ. После 3-х часов работы нижний клапан закрывается и идет запись восстановления давления. Клапан открывается и повторяется запись притока. Дополнительно в данной компоновке применен спец.клапан, разработанный для данной компоновки.
Разработка находится на стадии испытания и еще не накоплен достаточный материал об эффективности работ.
6. Захват аварийного инструмента.
В качестве еще одной модели применения ДУ можно рекомендовать его применение при аварийных работах для захвата и освобождения аварийного инструмента при расхаживании. Данная компоновка включает в себя колокол с заходом под «голов)'» аварийного инструмента и ДУ. Принцип работы заключается в посадке колокола на «голову» аварийного инструмента, открывания ДУ с целью «засоса» аварийного инструмента в колокол и его расхаживание нагрузкой сверху плюс сила, возникающая для преодоления перепада давления в ДУ.
Изучая опыт применения ДУ видно, что оно применимо практически во всех видах КРС в сочетании с другим инструментом. Конструктивно любое применение ДУ подразумевает 'использование природной энергии пласта или потока жидкости, исключая затраты на дорогостоящие операции сокращая время работ и их стоимость, что немаловажно в преследовании цели сокращения текущих эксплуатационных затрат.
Целесообразно использование ДУ при низких Рпл. и высокой поглощающей способности пласта, так как не вызываются значительные противодавления на пласт, не считая гидродинамику спуска, и не загрязняется пласт фильтратом используемой промывочной жидкости.
