Сравнительный анализ технологий приготовления сырокопченых колбас
При работе куттер-мешалки спиральные шнеки, вращаясь навстречу друг другу, перемешивают фарш с одновременным перемещением его по длине дежи. Торцевая стенка дежи, примыкающая к куттеру, имеет окна, через которые один шнек подает фарш в куттер на измельчение, а второй принимает измельченный продукт, перегоняя его к противоположной торцевой стенке и подавая на первый шнек. Таким образом, в процессе работы осуществляется круговое перемещение фарша с одновременным перемешиванием и измельчением. В окна торцевой стенки дежи, через которые фарш загружают и выгружают в куттерную часть, вмонтированы шиберы. Шиберы управляются дистанционно с гидравлического пульта. Шиберы открывают и закрывают отверстие в нижней части дежи, через которое фарш поступает в насос. В машине предусмотрены блокировочные устройства[7,9]:
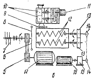
Рис. 9. Куттер-мешалка Р3-ФСЕ:
1—станина; 2—куттер; 3— мешалка; 4— гидросистема; 5—клиноременная передача, 6, 8, 9—шиберы соответственно правый и левый насоса; 7—серповидные ножи, 10—кулачки-вытеснители насоса; 11, 16, 17 — электродвигатели соответственно насоса, мешалки и куттера;
12 — дежа со шнеками; 13—шестерни; 14 — звездочки; 15— редуктор;
Электродвигатель не включается при открытой крышке куттера, при нажатии на предохранительную рамку дежи мешалки отключается электродвигатель привода шнеков.
При эксплуатации куттера важно правильно установить и отрегулировать серповидные ножи. Допустимая разность в их массе не более 1—5 кг. Зазор между ножами и стенкой корпуса куттера 2 мм.
Техническая характеристика куттер-мешалки Р3-ФСЕ
Производительность, кг/ч 1000
Вместимость чаши, л 400
Количество серповидных ножей 8
Мощность электродвигателя, кВт 22,3
Габаритные размеры, м 2,38Х3,23Х1,84
Масса, кг 3560
Куттеры применяют для тонкого измельчения и превращения мяса и некоторых мясопродуктов в довольно однородную гомогенную массу. Продукцию, загружаемую в куттеры, как правило, предварительно измельчают на волчках, хотя последние конструкции куттеров приспособлены для работы на сырье, измельченное перед посолом. Измельчение мясопродуктов в куттерах, протекающее при добавлении холодной воды, снега или дробленого льда, сопровождается заметным изменением механических и химических свойств обрабатываемой продукции (линейные размеры кусочков, определяемые по ситовому анализу, липкость, напряжение предельного сдвига и пр.).
На куттере допускается измельчение охлажденного мяса в кусках массой не более 0.5 кг, а также замороженных блоков размером 190
190
75 мм, температура их не должна быть ниже – 8 ºС.
2.3 Куттер Л5 – ФКБ
Куттеры применяют для тонкого измельчения и превращения мяса и некоторых мясопродуктов в довольно однородную гомогенную массу. Продукцию, загружаемую в куттеры, как правило, предварительно измельчают на волчках, хотя последние конструкции куттеров приспособлены для работы на сырье, измельченное перед посолом. Измельчение мясопродуктов в куттерах, протекающее при добавлении холодной воды, снега или дробленого льда, сопровождается заметным изменением механических и химических свойств обрабатываемой продукции (линейные размеры кусочков, определяемые по ситовому анализу, липкость, напряжение предельного сдвига и пр.).
Куттер Л5-ФКБ (рис. 10) с механической выгрузкой фарша емкостью чаши 0.250 м³ является ротационной мясорезательной машиной, предназначенной для окончательного тонкого измельчения мяса, поступающего на приготовление фарша вареных и ливерных колбас, а также сосисок и сарделек.
На куттере допускается измельчение охлажденного мяса в кусках массой не более 0.5 кг, а также замороженных блоков размером 190
190
75 мм, температура их не должна быть ниже – 8 ºС.
Рис.10 Куттер Л5-ФКБ
1 - станина с приводом чаши;2 - тележка; 3 - механизм загрузки; 4 - выгружатель; 5 - тарелка выгружателя; 6- чаша с ножевым валом
Технические характеристики
Тип куттера – работающий при атмосферном давлении (открытый ГОСТ 10103-73Е)
Производительность техническая, кг/ч, не менее:
- по охлажденному сырью 2250
- по мороженному сырью 2400
Геометрическая емкость чаши, м ³ 0.25
Коэффициент заполнения чаши, не более
- по охлажденному сырью 0.5
- по мороженному сырью 0.4
Масса загрузки, кг, не более
- по охлажденному сырью 150
- по мороженному сырью 75
Длительность цикла, мин 4 - 7
Число двойных ножей, шт 3
Установленная мощность, кВт 50.23
Дозирование воды, л
- наибольшая доза 35
-интервалы дозирования 5
Высота загрузки, мм 1060 ± 5
Габаритные размеры машины, мм, не более:
-длина 3600
-ширина 2150
-высота 2300
2.3.1 Состав изделия
1.Куттер состоит из следующих основных сборочных единиц: станины с приводом, мешалки, куттера, червячного редуктора привода чаши, подъемника, гидросистемы, фаршевого насоса, ножевого вала, крышки, выгружателя, механизма загрузки, дозатора воды, шкафа электрооборудования и пульта управления.
2.Станина куттера состоит из двух отдельных пустотелых частей, отлитых из чугуна и жестко соединенных между собой с помощью болтов.
В нижней внутренней полости станины на качающихся плитах установлены электродвигатели привода ножей и чаши, в верхней части смонтирован ножевой вал, а в проеме станины установлен червячный редуктор привода чаши.
3.Ножевой вал смонтирован на подшипниках качения, расположенных в корпусе станины.
На правой стороне ножевого вала имеется шкив для его вращения, на левой, расположенной над чашей, надеты ножевые головки с ножами. Для предотвращения попадания смазки в продукт между подшипником вала и ножевыми головками имеются лабиринтные канавки.
4.Привод чаши представляет собой червячный редуктор с вертикальным расположением вала червячного колеса. Чаша опирается на упорный подшипник, вмонтированный в крышке червячного редуктора.
5.Механизм выгрузки представляет собой конструкцию, состоящую из цилиндрического редуктора, с одной стороны к которому прифланцован электродвигатель привода, а с другой - труба выгружателя с проходящим через нее валом привода тарелки.
Внутри корпуса установлена электромагнитная муфта, отключающая механизм опускания при нижнем крайнем положении тарелки.
6.Зона куттерных ножей закрыта защитной крышкой, снизу к которой крепится специальный скребок.
7.Дозатор воды состоит из бака, в котором установлены датчики доз, центробежного насоса с электродвигателем для подачи чистой воды в чашу и соленоидного клапана.
8.Механизм загрузки состоит из тележки, предназначенной для транспортирования продукта к куттеру и механизма ее опрокидывания, смонтированного в чугунной станине. Механизм опрокидывания представляет собой систему рычагов, получающих вращение от специального червячного редуктора.
