Комбинированные орудия для предпосевной обработки почвыРефераты >> Ботаника и сельское хоз-во >> Комбинированные орудия для предпосевной обработки почвы
4. Навешивание и демонтаж комбинированного орудия для предпосевной обработки почвы Система-Компактор
4.1 Монтаж Система-Компактор
Для монтажа Система-Компактор гидросистему трактора необходимо переключить на позиционное регулирование.
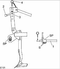
− Соединить нижнюю тягу трактора с осью навески (1) и застопорить ее.
− Верхнюю тягу (2) необходимо соеди-нить так, чтобы точка соединения на агрегате и во время работы была расположена выше, чем на тракторе.
− Палец верхней тяги (3) застопорить предохранительным шплинтом (4).
− Если дисковый культиватор оснащен крайними дисками, то перед перевозкой культиватора по дорогам общего пользования их необходимо повернуть внутрь и застопорить от обратного поворота.
На пашне (перед использованием) крайние диски следует снова повернуть наружу и зафиксировать.
4.2 Демонтаж системы-компактор
Систему-компактор следует всегда устанавливать на прочную и ровную площадку.
Переключить гидросистему трактора на позиционное регулирование.
Полностью опустить агрегат и отсоединить верхнюю тягу (2) со стороны агрегата.
Отсоединить нижнюю тягу от оси навески (1).
5. Техническое обслуживание
Система-компактор нуждается лишь в незначительном техническом обслуживании.
Все смазываемые места необходимо каждые 20 часов смазывать качественной смазкой, безвредной для окружающей среды.
Перед длительным перерывом эксплуатации (на зимний сезон) и непосредственно после этого перерыва (перед началом использования) необходимо смазать все смазываемые места и нанести небольшое количество консистентной смазки на забивные штифты и в отверстия для них.
Неокрашенные поверхности лапы, направляющие пластины и сферические диски перед длительным перерывом эксплуатации необходимо смазать безвредной для окружающей среды консистентной смазкой, чтобы на них не появилась ржавчина.
В первый раз через 10 часов эксплуатации, а затем каждые 20 часов эксплуатации следует проверять надежность затяжки всех винтов и гаек и, если необходимо, подтягивать их.
Изношенные носки лемехов, крылья лап, направляющие пластины и т.п. следует своевременно заменять, чтобы не начали изнашиваться несущие детали. Использовать только оригинальные изнашивающиеся детали Lemken.
6. Масса
|
Модель Компактор |
Ширина захвата, см |
Вес, кг |
Мощность, кВт/ л. с. |
Кол-во и ширина секций, см | |
|
Не складывающиеся |
Компактор S 300 |
300 |
1430 |
74/100 |
2x150 |
|
Компактор S 400 |
400 |
1650 |
96/130 |
2x200 | |
|
Складывающиеся при помощи гидравлики |
Компактор K 400 |
400 |
1850 |
96/130 |
2x200 |
|
Компактор K 450 |
450 |
1990 |
125/170 |
3x150 | |
|
Компактор K 500 |
500 |
2103 |
147/200 |
2x150, 1x200 | |
|
Компактор K 600 |
600 |
2703 |
169/230 |
4x150 | |
|
Полунавесные, складывающиеся при помощи гидравлики |
Компактор K 450 A |
450 |
2857 |
125/170 |
3x150 |
|
Компактор K 500 A |
500 |
2970 |
147/200 |
2x150, 1x200 | |
|
Компактор K 600 A |
600 |
3570 |
169/230 |
4x150 | |
|
Компактор Гигант 800 |
800 |
5750 |
от 162/220 |
4x200 | |
|
Компактор Гигант 1000 |
1000 |
7430 |
от 205/280 |
4x150, 2x200 |
7. Предписания по технике безопасности и предотвращению несчастных случаев
Общие указания по технике безопасности.
Перед каждым использованием проверяйте агрегат и трактор на транспортную и эксплуатационную безопасность.
Помимо указаний этого руководства соблюдайте также действующие общие предписания по технике безопасности и охране труда.
Использовать, обслуживать и ремонтировать агрегат разрешается только тем лицам, которые изучили агрегат и осведомлены об опасностях.
При движении по дорогам с поднятым орудием рычаг управления должен быть заблокирован против опускания.
Установленные на агрегате предупреждающие знаки и таблички с инструкциями содержат важные указания для безопасной эксплуатации; их соблюдение необходимо для вашей безопасности.
При езде по дорогам общего пользования соблюдать соответствующие правила.
Перед началом работы ознакомиться со всеми устройствами, элементами управления и их функциями. Делать это во время рабочего применения слишком поздно.
