Организационно-методические основы занятий атлетической гимнастикой с учащимися старшего школьного возрастаРефераты >> Физкультура и спорт >> Организационно-методические основы занятий атлетической гимнастикой с учащимися старшего школьного возраста
Если постепенно увеличивать напряжение мышц, то в работу будут вовлекаться все более крупные по размеру ДЕ: начиная от малых низко пороговых и до больших - высоко-пороговых.
Выносливые SO-волокна обладают низким порогом возбуждения. Частоты в 20 импульсов в секунду (20 Гц) уже может быть достаточно для полного исчерпания их силового потенциала.
В связи с тем, что FG-волокна сокращаются и расслабляются гораздо быстрее, чем SO-волокна, Частота импульсации для достижения их максимальной активации должна быть выше. Поэтому при частоте 25-30 Гц достигается лишь умеренное по силе напряжение у этого типа волокон. Максимальное напряжение и максимальная сила достигаются у них лишь при частотах 45-50 Гц. Мышца, состоящая преимущественно из ДЕ с SO-во-локнами, может поддерживать максимальный уровень своего напряжения значительно дольше, чем состоящая преимущественно из ДЕ с FG-волокнами. Но развиваемая при этом сила, очевидно, будет существенно ниже.
В связи с этим, необходимая для полного титанического сокращения ДЕ частота импульсации мотонейрона зависит и от типа составляющих ее мышечных волокон.
Регулировка силы сокращения мышц за счет изменения частоты нервной импульсации определяется термином«временная суммация».
Когда скелетные мышцы преодолевают легкие и умеренные сопротивления, например, в быту или в процессе обычной трудовой деятельности, необходимая для их возбуждения частота нервной импульсации не достигает максимума, а деятельность низко пороговых ДЕ при этом осуществляется попеременно, т. е. асинхронно. В этом случае относительно низкое общее напряжение мышцы не колеблется, поскольку для разных асинхронно активных ДЕ максимумы сокращений никогда не совпадают (3).
Рис. 5. Режимы сокращений двигательной единицы импульсами различной частоты (по Я. Коцу).
При длительной мышечной работе умеренной интенсивность, например, в длительном беге или лыжных гонках, в первую очередь активизируются низко пороговые ДЕ. По мере утомления этих работающих ДЕ, их сократительная способность постепенно уменьшается, и в работу начинают вовлекаться более крупные и высоко пороговые ДЕ. Этим объясняется тот факт, что в процессе длительной работы умеренной интенсивности гликоген - внутримышечный источник энергии - более быстро расходуется в медленных SO-волокнах, а по мере продолжения работы и в быстрых FG-волокнах.
При скоростном проявлении силы и необходимости при этом преодоления мышцами умеренных и высоких внешних сопротивлений, происходит активизация преимущественно высоко пороговых ДЕ с FG-волокнами короткими сериями высокочастотных нервных импульсов. Такая стартовая иннервация вызывает сильный и нарастающий процесс мышечного сокращения, после чего за «взрывным» началом следует сигнальная блокировка биоэлектрической активности мышц. Во время этой «паузы» ДЕ и сокращаются с высокой скоростью. Движения при таком баллистическом характере мышечного сокращения заранее программируются в головном мозге и реализуются с такой высокой скоростью, что их коррекция по ходу движения часто оказывается практически невозможной. Период биоэлектрического «молчания», во время которого мышца не реагирует на поступающие к ней нервные импульсы, следующие за стартовой иннервацией, зависит преимущественно от величины преодолеваемого внешнего сопротивления (1).
Если внешнее сопротивление возрастает настолько, что при баллистическом сокращении мышц ускорения движения не происходит, то подается новая серия импульсов с последующим периодом «молчания», что в конечном итоге до определенного уровня величины внешнего сопротивления и обеспечивает дальнейшее ускорение выполняемого движения.
Движения, характеризуемые сериями импульсов стартовой иннервации с последующим периодом сигнальной блокировки и проявлением баллистического режима мышечного сокращения, имеют резко выраженный скоростно-силовой характер.
Если же сопротивление увеличивается до максимального или близкого к нему, то такое сопротивление будет преодолеваться уже более продолжительными сериями импульсов очень высокой частоты. Такой режим работы мышц характерен для проявления максимальной силы.
1.1.5. Мышечная механика
Механические свойства мышц достаточно сложны и зависят от свойств образующих их компонентов: миофибрилл, соединительных и трофических образований и т, п., а также от состояния самой мышцы.
Для понимания большинства свойств мышечной механики можно использовать упрощенную модель ее строения. Эта модель представляет собой комбинацию сократительных и упругих компонентов мышцы (рис. 6).
Сократительные элементы соответствуют участкам саркомеров, где актиновые и миозиновые нити перекрывают друг друга. В этих участках при возбуждении мышцы и происходит генерация мышечной силы.
Актиновые и миозиновые нити легко скользят относительно друг друга, поэтому в расслабленных мышцах сопротивление растяжению оказывается очень низким. Укороченную при сокращении мышцу небольшим усилием можно снова растянуть до исходной длины. Однако это растяжение мышцы до своей исходной длины является пассивным процессом, который может быть осуществлен лишь за счет внешнего воздействия.
Если же покоящуюся мышцу потянуть за один конец так, чтобы ее волокна растянулись, то после снятия внешней нагрузки мышца восстанавливает свою длину. Это говорит о том, что в ней развивается пассивное напряжение. Значит, покоящаяся мышца обладает эластичностью, которая свойственна преимущественно растяжимым структурам, расположенным параллельно по отношению к сократительным элементам мышцы - миофибриллам. К этим параллельным эластическим элементам относятся окружающие мышечное волокно оболочка (сарколемма), элементы соединительной ткани между волокнами и их пучками, и некоторые другие структурные компоненты мышечной клетки (3).
Зависимость между величиной внешней нагрузки и удлинением мышцынелинейная. Модуль упругости покоящейся мышцы возрастает с ее растяжением.
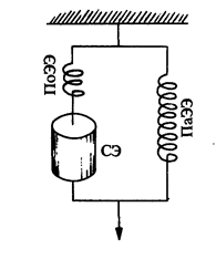
Рис. 6. Аналоговая модель строения мышцы: СЭ - сократительный элемент, ПаЭЭ - параллельный эластический элемент, ПоЭЭ - последовательный эластический элемент (по RueggJ. С. 1983).
Степень предварительного растяжения определяет и величину дополнительной силы эластического напряжения мышцы, которую она может развить в процессе своей активации при данной исходной длине. Соотношение сила - длина мышцы при ее изометрическом напряжении зависит от степени взаимного перекрывания нитей актина и миозина в саркомере (рис. 7). Максимум силы достигается при длине мышцы, соответствующей состоянию саркомера, когда его длина составляет от 2,0 до 2,2 мкм. При меньшей длине мышцы (или саркомера) сила уменьшается, поскольку актиновые и миозиновые нити начинают мешать друг другу, а также и из-за некоторых других факторов, возникающих при укорочении мышцы. Все это обычно не позволяет мышцам укорачиваться при сокращении до длины, меньшей чем 50-70% от их длины в покое.
