К-3600Рефераты >> Коммуникации и связь >> К-3600
3.3 Расчет и построение диаграммы уровней
Расчет диаграммы уровней заключается в определении уровней передачи. Приема на входе и выходе усилений для верхнего по частоте канала, при наиболее тяжелых условиях работы. Уровень передачи ОП-1 равен номинальному для данной системы передачи - 13 дБ.
Уровень на входе усилителя, Lвх, необходимо рассчитывать по формуле (10).
Lвх=Lвых - Ауутах , (10)
где Lвых - уровень на выходе предшествующего ОП, ОУП или
НУП, дБ;
Ауутах - затухание предшествующего участка при тах
температуре грунта,дБ.
Уровень на выходе усилителя рассчитывается по формуле (11).
Lвых=Lвх +S, (11)
где Lвх - уровень на входе данного усилителя, дБ;
S - усиление данного усилителя, дБ.
Рассчитаем уровень на входе НУП 1/1:
Lвх = Lвых - Ауутах;
Lвх = -13 – 31,52 = -44,52 дБ;
Lвых = Lвх +S;
Lвых = -44,52 +31,31 = -12,14 дБ.
Результаты расчета диаграммы уровней для двух направлений приведены в таблицах 4, 4а.
3.4 Расчёт мощности шумов линейного тракта
3.4.1 Расчет допустимой мощности шумов линейного
тракта
Допустимая мощность шумов линейного тракта в точке относительного нулевого уровня Рш.лт. доп (О), пВт псоф, рассчитывается по формуле (14).
Рш.лт. доп (О) = 1· L , (14)
где L - длина магистрали, км.
1пВт псоф./км.- это норма шума на 1 км. линейного
тракта.
Напряжение допустимого псофометрического шума в канале ТЧ в точке относительного уровня (ТОУ) -7дБ, Uшлтдоп(-7), мВпсоф рассчитывается по формуле (15).
Uшлтдоп(-7)=10 2,65
(15)
где 600(Ом)-это входное сопротивление канала ТЧ.
3.4.2 Расчет ожидаемой мощности шумов линейного
тракта.
Ожидаемая мощность шумов линейного тракта, Ршлтож(0) , пВт псоф., рассчитывается по формуле (16).
Ршлтож(0)=Рсшож(0)+Рнпож(0)+Рлпож(0) , (16)
где Рсшож(0) - мощность собственных шумов в ТОНУ, пВт псоф;
Величина собственных шумов в ТОНУ Рсшож(0) , пВт псоф, рассчитывается по формуле (17).
n
Рсшож(0)=К2ΣРсшожууi (0) , (17)
i=1
где К – псофометрическая коэффициент, К=0,75;
Рсшожууi (0) - ожидаемая мощность собственных шумов
каждого УУ в ТОНУ, пВт псоф;
Рсшожууi (0) , пВт , определяется по формуле (18).
Рсшожууi (0)=100,1(Lсшус-Lвх)+9 (18)
где Lсшус - уровень собственных шумов приведенных ко входу
усилителя в ТОНУ,дБ. Lсшус =-132 дБ ;
Lвх – уровень на входе усилителя, дБ.
Данные расчеты ожидаемой мощности собственных шумов каждого усилительного участка приведены в таблице 5.
Ожидаемая мощность шума от нелинейных переходов в ТОНУ, Рнпож(0) , пВт, определяется по формуле (19).
Рнпож(0) = Рсшож(0) , (19)
Ожидаемая мощность шумов от нелинейных переходов в ТОНУ, Рлпож(0) , пВт, определяется по формуле (20).
Рлпож(0)=0, (20)
Напряжние ожидаемого псофометрического шума в точке относительного шума (-7дБ), Uшлтож(-7,0),мВ псоф, определяется по формуле (21).
Uшлтож(-7,0)=102,65
(21)
Напряжение ожидаемого псофометрического шума в точке относительного уровня -7дБ<U допустимого псофометрического шума, следовательно, усилительные пункты по магистрали распределены правильно.
Uшлтож(-7,0) < Uшлтдоп(-7,0) (22)
Расчёт:
Рш.лт. доп (О) = 1· L =1· 84 =84 пВт псоф. ;
Uшлтдоп(-7)=10 2,65
= 446,7· Ö84·10 -12· 600 = 0,1 мВ;
Ршлтож(0)=Рсшож(0)+Рнпож(0)+Рлпож(0)= 34,99 + 34,99+0 = 69,98 пВт псоф;
n
Рсшож(0)=К2ΣРсшожууi(0) = 0,75 2· 62,21=34,99 пВт псоф.;
i=1
Рнпож(0) = Рсшож(0) = 34,99 пВт псоф.;
Рлпож(0)=0 пВт псоф.;
Uшлтдоп(-7)=102,65
=446,7· Ö69,98· 10–12· 600=0,092 мВ;
Uшлтож(-7,0) < Uшлтдоп(-7,0) ;
0,092 мВ < 0,1 мВ.
3.2 Расчёт рабочего усиления усилителя
Система передачи К-3600 имеет следующие типы НУП:
НУП-0 - основной не регулирующий, оборудован
установочной регулировкой;
НУП-Р - регулирующий, оборудован АРУ по КЧ и АРУ по
температуре грунта.
Усиление не регулирующих НУП SНУП-0, дБ рассчитывается по формуле (7).
SНУП-0 = Sуст , (7)
где Sуст - установочное усиление усилителя, выбирается
по затуханию УУ при среднегодовой
температуре грунта с учетом ступенчатой
регулировки, дБ; Sуст=31 ± 1,5 дБ.
Усиление регулирующих НУП Sнул-р, дБ
рассчитывается по формуле (8).
S НУП-Р = Sуст +ΔSКЧ +ΔSТРУ, (8)
где ΔSкч - усиление усилителя за счет АРУ по КЧ, дБ.
Рассчитывается по формуле (9).
ΔS КЧ =Δa • lсекции1 /2, (9)
где Δa - изменение коэффициента затухания кабеля, дБ.
Рассчитывается по формуле (10).
Δa= atтах - atср.расч. (10)
где lсекции1 /2 - половина расстояния от предыдущего
НУП-Р до данного, км.
SТРУ - изменение усиления усилителя за счет АРУ по
температуре грунта, дБ.
Рассчитывается по формуле (11).
ΔSтру =Δa - lсекции2 / 2 (11)
где lсекции2 / 2 - половина расстояния от данного НУП-Р
до следующего, км.
Результаты расчёта усиления усилителя двух направлений приведены в таблице 3, 3а.
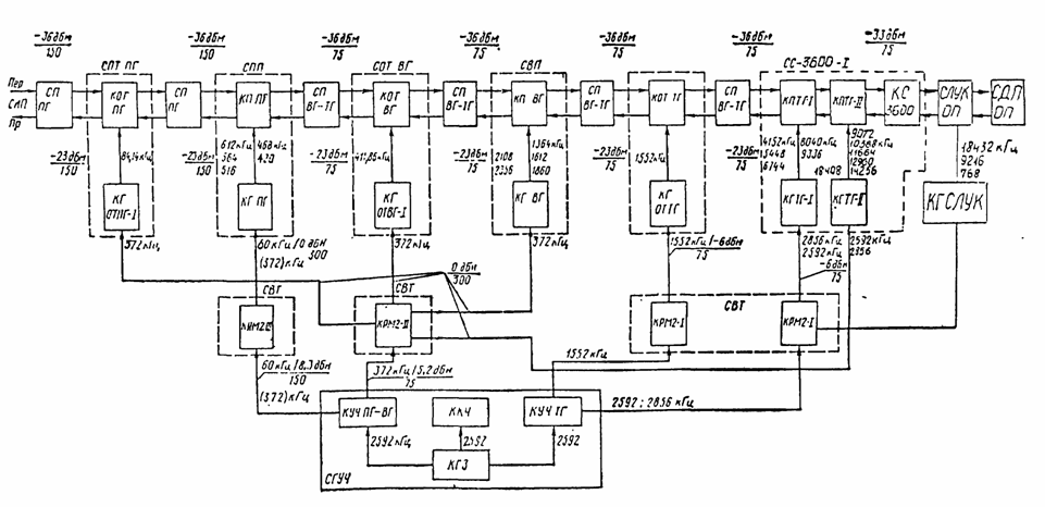
Рисунок 1-Структурная схема станции СП К-3600.
СПИСОК ЛИТЕРАТУРЫ
1 Справочник. – Коаксиальные и В.Ч. симметричные
кабели связи. – М.: Связь, 1987
2 Шляхтер М.С. Справочник аппаратуры сетей
связи. – М.: Связь, 1980
3 Система передачи К-3600. – М.: Радиосвязь, 1986
Таблица 2.
|
Участок | Lyy,км |
Актах,дБ |
Ак ср рас,дБ |
Аст,дБ |
Ауутах,дБ |
Ауусррас,дБ |
| ОП-1-НУП1/1 | 3,02 | 31,37 | 30,59 | 0,5 | 31,87 | 31,09 |
| НУП1/1-НУП2/1 | 3,03 | 31,48 | 30,69 | 0,5 | 31,98 | 31,19 |
| НУП2/1-НУПЗ/1 | 2,95 | 30,65 | 29,88 | 0,5 | 31,15 | 30,38 |
| НУПЗ/1-НУП4/1 НУП4/1 | 2,97 | 30,86 | 30,09 | 0,5 | 31,36 | 30,59 |
| НУП4/1-НУП5/1 | 3,05 | 31,69 | 30,9 | 0,5 | 32,19 | 31,4 |
| НУП5/1-НУП6/1 | 3 | 31,17 | 30,39 | 0,5 | 31,67 | 30,89 |
| НУП6/1-НУП7/1 | 3,03 | 31,48 | 30,69 | 0,5 | 31,98 | 31,19 |
| НУП7/1-НУП8/1 | 2,95 | 30,65 | 29,88 | 0,5 | 31,15 | 30,38 |
| НУП8/1-НУП9/1 | 2,97 | 30,86 | 30,09 | 0,5 | 31,36 | 30,59 |
| НУП9/1-НУП10/1 | 3,05 | 31,69 | 30,9 | 0,5 | 32,19 | 31,4 |
| НУП10/1-НУП11/1 | 3 | 31,17 | 30,39 | 0,5 | 31,67 | 30,89 |
| НУП11/1-НУП12/1 | 3,03 | 31,48 | 30,69 | 0,5 | 31,98 | 31,19 |
| НУП12/1-ОУП-2 | 2,95 | 30,65 | 29,88 | 0,5 | 31,15 | 30,38 |
| ОУП-2-НУП1/2 | 2,97 | 30,86 | 30,09 | 0,5 | 31,36 | 30,59 |
| НУП1/2-НУП2/2 | 3,05 | 31,69 | 30,9 | 0,5 | 32,19 | 31,4 |
| НУП2/2-НУПЗ/2 | 3 | 31,17 | 30,39 | 0,5 | 31,67 | 30,89 |
| НУП3/2-НУП4/2 | 3,03 | 31,48 | 30,69 | 0,5 | 31,98 | 31,19 |
| НУП4/2-НУП5/2 | 2,95 | 30,65 | 29,88 | 0,5 | 31,15 | 30,38 |
| НУП5/2-НУП 6/2 | 2,97 | 30,86 | 30,09 | 0,5 | 31,36 | 30,59 |
| НУП6/2-ОП3 | 3,03 | 31,48 | 30,9 | 0,5 | 31,98 | 31,19 |
