Вольтамперометрия, полярография, амперометрическое титрование, инверсионная вольтамперометрия
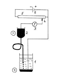
Рис. 1. Схема полярографической установки: 1 - электролизёр; 2 - сосуд с ртутью; 3 - гальванометр; 4 - передвижной контакт; 5 - реохорд; 6 - ак - кумулятор.
Фиксируя силу тока, проходящего через ячейку, в зависимости от поданного напряжения, получают вольтамперные кривые, называемые в полярографии полярограммами (рис. 2). Форма полярограмм напоминает волну. Первый участок волны (АБ) соответствует начальному моменту процесса, когда протекает только остаточный (конденсаторный или емкостной) ток, связанный с расходом некоторого количества электричества на заряжение двойного электрического слоя на поверхности капли ртути и восстановлением следовых количеств электроактивных примесей.
Рис. 2. Типичный вид полярограмм определяемого элемента при концентрациях
Если в растворе присутствуют ионы, способные восстанавливаться на РКЭ (катоде), то при достижении определенного значения внешнего напряжения, обеспечивающего потенциал, равный потенциалу восстановления данных ионов, на полярограмме наблюдается резкое увеличение тока. Потенциал, соответствующий точке Б на полягрограмме, называют потенциалом выделения. Восстановление иона металла на РКЭ сопровождается растворением восстановившегося металла в ртути, т.е. образованием амальгаммы:
Mez+ + ze - + Hg Me(Hg).
С этого момента рост потенциала электрода как бы отстает от роста налагаемого внешнего напряжения - электрод деполяризуется. Вещество, участвующее в электрохимической реакции и вызывающее деполяризацию электрода, называется деполяризатором. Ток, обусловленный электрохимической реакцией на электроде, называют фарадеевским, подчеркивая его связь с процессом электролиза. Подвод ионов деполяризатора к электроду осуществляется путем диффузии в приэлектродный слой раствора, концентрация в котором СЭ меньше концентрации в глубине С. Скорость диффузии, и тем самым сила тока, определяется разностью (градиентом) концентраций С - СЭ, поэтому ток называют диффузионным током.
IД = К(С - СЭ).
Дальнейшее увеличение напряжения вызывает уменьшение СЭ и усиление диффузии, следовательно, также и увеличение тока (участок БВ). Так продолжается до тех пор, пока СЭ не становится практически равной нулю. Это означает, что все ионы деполяризатора, которые подходят к электроду, сразу разряжаются. Дальнейшее увеличение напряжения не вызывает роста тока - достигается предельный диффузионный ток. Он зависит от концентрации деполяризатора в растворе
IД = КС (так как
).
На коэффициент пропорциональности К оказывают влияние многие факторы. Д. Ильковичем было получено уравнение, в котором отражено влияние некоторых из них:
,
где z - число электронов, участвующих в электродной реакции;
D - коэффициент диффузии ионов деполяризатра;
m - масса ртути (мг), вытекающей из капилляра за одну секунду;
t - промежуток времени между двумя каплями, с.
Для обратимого восстановления деполяризатора Гейровским-Ильковичем было выведено уравнение полярографической волны
.
Когда сила тока равна половине предельного диффузионного тока
(I = 1/2 IД), получают Е = Е1/2. Следовательно, половине высоты волны всегда соответствует одно и то же напряжение, независимо от концентрации деполяризатора. Оно называется потенциалом полуволны.
Качественный анализ проводят по потенциалам полуволн деполяризаторов. При этом необходимо иметь в виду, что на значение этой величины оказывают влияние фоновый электролит, рН раствора, присутствие комплексообразующих агентов. Определив в процессе полярографирования потенциалы полуволн ионов, находящихся в растворе, и сравнив их величины с табличными данными, можно установить, какие именно ионы находятся в растворе. Уравнение обратимой полярографической волны дает удобный графический способ нахождения важной качественной характеристики полярограммы - потенциала полуволны Е1/2. Построенная в координатах “ lgХ - [I/(Iд - I)] - Е” полярограмма будет выглядеть в виде прямой, точка пересечения которой с осью абсцисс - соответствует потенциалу, когда ток равен ½Iд (рис. 3).
Рис. 3. Графический способ определения потенциала полуволны Е1/2 по уравнению полярографической волны.
По этому же графику можно определить число электронов z, участвующих в электрохимической реакции. Сделать это можно, найдя котангенс (мВ) и сравнив его с теоретическим значением. Из уравнения полярографической волны следует, что теоретические величины равны соответственно: 59,16 мВ для n = 1; 29,58 мВ для n = 2; 19,7 мВ для
n = 3. Если же число электронов, участвующих в электрохимической реакции известно, то по этому критерию можно установить, обратимо ли протекает данная реакция на электроде. При совпадении экспериментальной величины наклона с теоретической можно полагать, что электрохимическая реакция протекает обратимо.
Для количественных определений уравнение Ильковича, как правило, не используют, поскольку определение численных значений всех его параметров - слишком трудоемкая работа. На практике чаще всего для целей количественного анализа пользуются высотой полярографической волны h, выраженной в мм. В количественном полярографическом анализе могут быть использованы все приемы определения концентрации: сравнение с эталоном, метод стандартных серий, метод добавок.
Рис. 4. Полярограмма раствора, содержащего цинк, никель и кадмий.
Если в растворе присутствуют несколько деполяризаторов с достаточно большой разностью потенциалов полуволн (не менее 0,2 .0,3 В), например, кадмий, никель, цинк, полярографическая волна каждого элемента возникнет последовательно друг за другом и высота волны каждого элемента не зависит от присутствия других элементов (рис. 4). Концентрация определяемого деполяризатора может быть в
пределах 10-2 .10 - 6 моль/л. Различные виды полярографии позволяют работать еще при более низких концентрациях деполяризаторов. При правильном выборе среды (фоновый электролит, рН, комплексообразующие агенты) с РКЭ можно определять ионы почти всех металлов, даже щелочно-земельных и щелочных. В вольтамперометрии с успехом применяют также твердые микроэлектроды, изготовленные из благородных металлов (Pt, Au и т.д.) или графита. Основным достоинством твердых электродов является возможность работы в более положительной области потенциалов (до 1,3 В), чем с РКЭ (от 0,3 . -2,0 В) и их нетоксичность. Однако стационарные твердые электроды не нашли широкого применения из-за медленности установления предельного тока, невысокой чувствительности и других недостатков. Большее применение имеют вращающиеся и вибрирующие платиновые микроэлектроды, у которых предельный ток устанавливается быстро за счет непрерывного перемешивания раствора. Благодаря этому ионы к поверхности электрода доставляются не только за счет диффузии, но и перемешивания. Это в 10 .20 раз увеличивает предельный ток по сравнению с диффузионным.
