Контактные осветители
Контактные осветлители представляют собой разновидность фильтровальных аппаратов, работающих по принципу фильтрования воды в направлении убывающей крупности зерен через слой загрузки большой толщины, который реализуется применением восходящего фильтрования, снизу вверх. Обрабатываемая вода через распределительную систему, уложенную на дне сооружения, вводится в нижние гравийные слои (вариант) и затем фильтруется последовательно через слои загрузки, крупность зерен которых постепенно уменьшается.
При этом основная масса примесей воды задерживается в нижних крупнозернистых слоях, характеризующихся большой грязеемкостью, что уменьшает темп прироста потери напора. Снижение темпа прироста потери напора и увеличение продолжительности защитного действия загрузки вследствие большой высоты слоя позволяют очищать на контактных осветлителях воду с содержанием взвеси, значительно превышающим обычно допустимое для скорых фильтров. Скорые фильтры могут работать нормально, если содержание взвеси в поступающей на фильтры воде составляет 5 . 15 мг/л. Контактные же осветлители, как показала практика, работают нормально при содержании взвеси в очищаемой воде до 120 мг/л и ее цветности до 120 град.
При водообработке на контактных осветлителях коагулянт вводят в воду непосредственно перед ее поступлением в загрузку осветлителей, процесс коагуляции происходит в ее толще.
За короткий промежуток времени от момента введения коагулянта до начала фильтрования в воде могут образовываться лишь микроагрегаты коагулирующих частиц. Дальнейшая агломерация примесей происходит не в свободном объеме воды, а на зернах загрузки контактных осветлителей; частицы адсорбируются на поверхности зерен, образуя отложения характерной для геля сетчатой структуры. Такой процесс является контактной коагуляцией, что обусловливается контактом воды, содержащей коагулированные примеси, с поверхностью зерен контактной массы.
Как показали исследования и практика эксплуатации, процесс контактной коагуляции идет с большей полнотой и во много раз быстрее, чем при обычной коагуляции в объеме. Доза коагулянта для контактной коагуляции, как правило, меньше, чем доза, необходимая для коагулирования примесей в свободном объеме. Для протекания процесса контактной коагуляции необходимо ввести в воду такую дозу коагулянта, при которой частицы примесей теряют свою агрегативную устойчивость в отношении прилипания к поверхности зерен контактной массы. Такие дозы обычно недостаточны для того, чтобы обеспечить быстрое хлопьеобразование в свободном объеме с получением тяжелых, хорошо декантирующих хлопьев. Кроме того, при контактной коагуляции на процесс почти не влияют температура воды, ее анионный состав, наличие грубодисперсных взвесей и ее щелочность.
Отпадает необходимость в перемешивании воды для обеспечения протекания ортокинетической фазы коагулирования примесей.
Однако, быстрота смешения и равномерность распределения коагулянта в обрабатываемой воде, как показали исследования Е. И. Апельциной, Е. Ю. Рождественской, имеют решающее значение.
Благодаря этим преимуществам в условиях обработки маломутных вод контактные осветлители весьма удачно заменяют обычную двухступенчатую очистку воды, обеспечивая высокий эффект осветления и обесцвечивания при одновременном удешевлении стоимости строительства и эксплуатации очистных сооружений.
На водоочистных комплексах с контактными осветлителями необходимо предусматривать барабанные фильтры и входную камеру для воздухоотделения и смешения реагентов с водой.
Объем камеры рассчитывают на пятиминутное пребывание в ней воды и секционируют на два отделения. Скорость движения воды в камере принимают 5 мм/с. Микрофильтры или барабанные сита располагают обычно над входной камерой.
Устройство и расчет контактных осветлителей
Контактные осветлители рекомендуется использовать без поддерживающих слоев при промывке водой и с поддерживающими слоями при водовоздушной промывке.
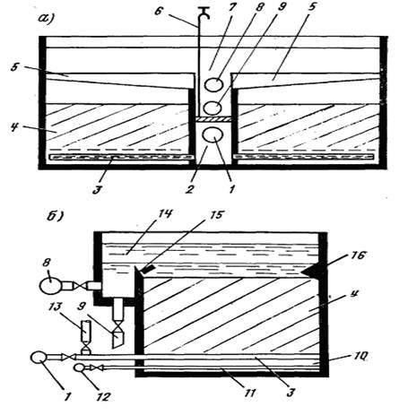
Контактный осветлитель КО-1 представляет собой резервуар, заполненный загрузкой из песка и гравия (рис. 13.1). Песок не должен
Рис. 13.1. Контактные осветлители КО-1 (а) и КО-3 (б).
13,9 _ подача и отвод промывной воды; 2, 7 — нижнее и верхнее отделения центрального канала; 3 — водораспределительная система; 10 — слой гравия; 4 — слой песка; 5 — водосборный желоб; 8, 1 - отвод фильтрата и подача исходной воды; 11 — воздухораспределительная система; 12 — подача воздуха на промывку; 16 — струенаправлякдций выступ; 14 — боковой карман; 15 — пескоулавливающий желоб содержать фракции крупнее 2 мм и меньше 4 0,8 мм.
Средний диаметр зерен песка 0,9 . 1,1 мм, <4=1,0 . . 1,3 мм, толщина слоя песка около 2 м. Гравийные слои располагаются под песчаной загрузкой на дне контактного осветлителя и имеют общую толщину 0,6 . 0,8 м. Рекомендуемая высота и крупность песчаных и гравийных слоев приведены в табл. 13.1.
Таблица 13.1
|
Крупность зерен, мм |
Высота слоев, м, в контактном осветлителе | |
|
безгравийном |
гравийном | |
|
40 20 |
— |
0,2 0,25 |
|
20 10 |
— |
0,1 0,15 |
|
10 5 |
— |
0,15 0,2 |
|
5 2 |
0,5 . 0,6 |
0,3 0,4 |
|
2 1,2 |
1,0 . 1,2 |
1,2 1,3 |
|
1,2 .0,7 |
0,8 . 1,0 |
0,8 1,0 |
Расчетную скорость фильтрования для контактных осветлителей КО-1 принимают 4,0 . 5,5 м/ч (большие значения при форсированном режиме). Очищаемую воду, предварительно смешанную с коагулянтом, подают в загрузку с помощью распределительной системы дырчатых труб, уложенной на дне в слое мелкого гравия. Распределительная система служит и для подачи промывной воды. Промывку с интенсивностью 15 . .18 л/(с*м2) в течение 7 . 8 мин производят так же, как и обычных скорых фильтров. Осветленная вода, как и промывная, отводится с помощью желобов, расположенных над песком.
Важным конструктивным элементом контактных осветлителей является распределительная система, которая должна обеспечить равномерное распределение промывной воды по всей площади сооружения. В безгравийных контактных осветлителях (КО-1), промываемых водой, должны устраивать безгравийную трубчатую распределительную систему с приваренными вдоль дырчатых труб боковыми шторками (рис. 13.2), между которыми приваривают поперечные перегородки, разделяющие подтрубное пространство на ячейки.
