Контактные осветители
Работа распределительной системы в контактных осветлителях осложняется тем, что она служит также и для подач неочищенной воды и поэтому отверстия в трубках могут засоряться. В связи с этим распределительная система должна быть доступна для прочистки. Это требование выполняется при устройстве магистрали распределительной системы в виде железобетонного канала достаточно большого сечения, чтобы в него мог проникнуть человек. Магистральный канал располагается в центре контактного осветлителя или вдоль его передней стенки (см. рис. 13.1). Все другие расчетные и конструктивные требования к распределительной системе такие же, как и для фильтров.
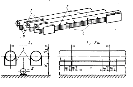
Рис. 13.2. Безгравийная трубчатая распределительная система.
1 — водораспределительные трубы; 2 — проходные отверстия; 3 — поперечные перегородки; 4 — боковые шторки; 5 — воздухораспределительная труба
В контактных осветлителях с поддерживающими слоями и водовоздушной промывкой следует применять трубчатые распределительные системы для подачи воды и воздуха и систему горизонтального отвода промывной воды.
В контактных осветлителях без поддерживающих слоев отверстия в дырчатых трубах должны быть расположены в два ряда в шахматном порядке в нижней части и направлены вниз. Диаметр отверстий 10 . 12 мм, расстояние между осями в ряду 150 . 200 мм. Распределительную систему надлежит проектировать в соответствии с рекомендациями СНиПа.
В контактных осветлителях без поддерживающих слоев сбор промывной воды производят желобами согласно СНиПу. Над кромками желобов предусматривают пластины с треугольными вырезами высотой и шириной по 50 . 60 мм, расстояниями между их осями 100 . 150 мм.
Для промывки следует применять очищенную воду. Допускается использование неочищенной воды при ее мутности неболее 10 мг/л, коли-индексе — до 1000 ед/л с предварительной обработкой воды на барабанных сетках (или микрофильтрах) и обеззараживании. При этом должен быть предусмотрен разрыв струи перед подачей воды в емкость для хранения промывной воды. Непосредственная подача воды на промывку из. трубопроводов и резервуаров фильтрованной воды не допускается.
Водовоздушную промывку контактных осветлителей следует' осуществлять со следующим режимом: взрыхление загрузки воздухом интенсивностью 18 . 20 л/(с-м2) в течение 1 . 2 мин; совместная водовоздушная промывка при подаче воздуха 18 .20 л/(с*м2) и воды 3 .3,5 л/(с-м2) при продолжительности 6 . 7 мин; дополнительная промывка водой с интенсивностью- 6 . 7 л/(с*м2) продолжительностью 5 . 7 мин.
Продолжительность сброса первого фильтрата при промывке очищенной водой 5 . 10, неочищенной — 10 . 15 мин.
В контактных осветлителях, в отличие от скорых фильтров,, слой воды над загрузкой осветленный, так как вода уже профильтровалась через загрузку. Следовательно, зеркало осветленной воды в контактных осветлителях открыто. Для предотвращения вторичного загрязнения воды оно должно быть изолировано от помещения обслуживания осветлителей. Для этого осветлители группами или каждый в отдельности отделяют от коридора управления остекленными перегородками высотой не менее 2,5 м. Благодаря остеклению можно вести простые визуальные наблюдения за качеством осветляемой воды.
Контактные осветлители типа КО-1 с безгравийной загрузкой следует применять для вод с умеренной цветностью и мутностью при небольшом содержании планктона, в остальных случаях — контактные осветлители типа КО-3 (рис. 13.1,б) с гравийно-песчаной загрузкой.
В контактных осветлителях типа КО-3 предусматривают две- трубчатые распределительные системы: одна для подачи воды, другая — воздуха. Воздухораспределительная система состоит из дырчатых полиэтиленовых труб, располагаемых у дна сооружения точно посередине между распределительными трубами для воды. В контактных осветлителях типа КО-3 применяют систему горизонтального отвода промывной воды, основными элементами которой являются пескоулавливающий желоб и струенаправляющий выступ (см. рис. 13.1,б).
Работа и промывка контактного осветлителя типа КО-3 осуществляется по следующей схеме. Во время работы обрабатываемая вода, смешанная с реагентами, подается в нижнее отделение бокового кармана и далее по распределительной системе поступает в загрузку. Фильтрат собирается в надзагрузочном объеме и через водослив пескоулавливающего желоба поступает в верхнее отделение бокового кармана, откуда по трубопроводу отводится в сборный коллектор очищенной воды.
В начале промывки загрузка продувается воздухом для предварительного разрушения загрязнений и выравнивания гидравлического сопротивления загрузки по площади сооружения. Затем в результате одновременной подачи воды и воздуха загрязнения полностью разрушаются и перемещаются кверху, выходя на поверхность загрузки, и далее в верхнее отделение бокового кармана и за пределы аппарата. По окончании совместной водовоздушной промывки подача воздуха в загрузку прекращается и производится дополнительная промывка загрузки водой. Таким образом, в конце промывки из загрузки удаляется оставшийся в ней воздух, она несколько разрыхляется и восстанавливается ее первоначальная пористость. По окончании промывки производится сброс первого фильтрата, а затем вновь начинается фильтроцикл.
Удаление загрязнений при промывке осуществляется с помощью системы горизонтального (низкого) отвода воды. Промывная вода из надгрузочного объема, двигаясь горизонтальным потоком, проходит через пескоулавливающий желоб и сливается в верхнее отделение бокового кармана и далее в водосток. Необходимая скорость горизонтального потока в начальном сечении создается за счет его стеснения струенаправляющим выступом (см. рис. 13.1,б). Выносимые потоком отдельные зерна загрузки оседают на стенках желоба и через щель между стенками попадают обратно в загрузку.
фильтрование вода контактный осветитель
ЛИТЕРАТУРА
1. Алексеев Л. С., Гладков В. А. Улучшение качества мягких вод. М., Стройиздат, 1994 г.
2. Алферова Л. А., Нечаев А. П. Замкнутые системы водного хозяйства промышленных предприятий, комплексов и районов. М., 1984.
3. Аюкаев Р. И., Мельцер В. 3. Производство и применение фильтрующих материалов для очистки воды. Л., 1985.
4. Вейцер Ю. М., Мииц Д. М. Высокомолекулярные флокулянты в процессах очистки воды. М., 1984.
5. Егоров А. И. Гидравлика напорных трубчатых систем в водопроводных очистных сооружениях. М., 1984.
6. Журба М. Г. Очистки воды на зернистых фильтрах. Львов, 1980.
