Огнестойкие композиции на основе полибутилентерефталата
При получении полимер-силикатных нанокомпозитов в растворе органо-силикат набухает в полярном растворителе, таком как толуол или N,N-диметилформамид. Далее к нему добавляется раствор полимера, который про никает в межслоевое пространство силиката. После этого проводится удаление растворителя путем испарения в вакууме. Основное преимущество этого метода заключается в том, что "полимер-слоистый силикат" может получаться на основе полимера с низкой полярностью или неполярного материала. Тем не менее, этот метод не находит широкого использования в промышленности по причине большого расхода растворителя [49].
При получении нанокомпозитов на основе различной керамики и полимеров применяется золь-гель технология, в которой исходными компонентами служат алкоголяты некоторых элементов и органические олигомеры. Сначала алкоголяты подвергают гидролизу, а затем проводят реакцию поликонденсации гидроксидов. В результате образуется керамика из неорганической трехмерной сетки. Существует также метод синтеза, в котором полимеризация и образование неорганического стекла протекают одновременно. Возможно применение нанокомпозитов на основе керамики и полимеров в качестве специальных твердых защитных покрытий, а также как оптические волокна [52].
1.9 Свойства полимерных композитов
Посредством введения наночастиц органоглины в полимерную матрицу, удается улучшить термическую стабильность и механические свойства полимеров. Достигается это благодаря объединению комплекса свойств органического (легкость, гибкость, пластичность) и неорганического (прочность, теплостойкость, химическая устойчивость) материалов.
Композиты демонстрируют существенное изменение свойств по сравнению с ненаполненными полимерами. Так при введении в полимерную матрицу модифицированных слоистых силикатов в пределах 2-10 вес. % наблюдается изменение: механических свойств, таких как прочность на растяжение, сжатие, изгиб и излом; барьерных свойств, таких, как проницаемость и стойкость к воздействию растворителей; оптических свойств и т.д. Плюс к этому повышается огнестойкость (температуростойкость), ударопрочность и практически отсутствует увеличение веса полимера и физико-механические свойства не ухудшаются как при обычных наполнениях, а существенно улучшаются.
Другие интересные свойства, демонстрируемые композитами "полимер-органоглина" включают повышенную термостабильность и стойкость к распространению пламени даже при очень низких концентрациях наполнителя. Формирование термоизоляции и незначительная проницаемость обугленного полимера для огня обеспечивают преимущества использования этих материалов.
Использование органоглины в качестве добавки в полимеры может изменять такие свойства, как температура деструкции, огнестойкость, упругость, прочность на разрыв. Важными свойствами композитов являются [53] увеличение модуля упругости, понижение коэффициента термического расширения, низкая газопроницаемость, повышенная устойчивость к действию растворителей. В композитах наблюдается широкий комплекс барьерных свойств.
Глава 2. Экспериментальная часть
2.1 Материалы и методики смешения
В работе в качестве исходных материалов использованы вторичный полиэтилентерефталат (ВПЭТФ), т. е. использованные пластиковые бутылки из-под минеральной воды, и органомодифицированная глина (месторождение Герпегеж). Предварительно собранные бутылки, прежде всего, отмывались от этикеток и других посторонних веществ. Для отмывки использовали моющие средства. Затем вторичный полиэтилентерефталат вручную измельчили в мелкую крошку. После этих операций вторичный ПЭТФ сушили при температуре 100 ± 5 °С в глубоком вакууме в течение двух часов.
Рабочие композиции на основе высушенного вторичного полиэтилентерефталата и органомодифицированной глины готовили следующим образом. Вначале приготовили концентрат на основе ВПЭТФ и органоглины, затем этот концентрат диспергировали в основной массе полимера экструзией на одношнековом экструдере фирмы «Betol» (Великобритания) с диаметром шнека 25 мм. Процесс экструдирования проводили при скорости вращения шнека 70 + 100 об/мин; температуре материального цилиндра 260 °С и температуре формирующей головки 230 °С. Затем экструдаты гранулировали и использовали для изготовления соответствующих образцов для физико-химических исследований. Содержание органоглины во вторичном ПЭТФ варьировали в интервале 0,5 + 5 масс. %.
2.2 Приготовление образцов
Пластины на основе исходного полимера и композитов на его основе и органоглины для оценки огнестойкости с размерами 100x1 Ох 1мм получали методом прессования при температуре 250 °С, а также давлении 250 кгс/см (ГОСТ 25.601 - 80). Фиксация формы изделия происходит в результате охлаждения в пресс-форме до комнатной температуры. Затем на данных пластинах проводились исследования на горючесть.
Образцы для ударных испытаний получали литьем под давлением ~ 10 МПа на термопластавтомате «KuASY-l,6 х 2/1» (Германия) при температуре 260 °С.
2.3 Методика приготовления органоглины
В водную суспензию Са-монтмориллонита, полученную путем перемешивания на магнитной мешалке в течение двух часов, добавляли метакрилат туанидина (МАГ) в концентрации 5 % от массы монтмориллонита (50 г) и перемешивали еще 4 часа. Полученную органоглину промывали дистиллированной водой многократной декантацией. Высушивали при комнатной температуре.
2.4 Методика определения скорости горения
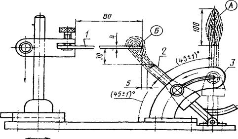
Горение принято характеризовать значениями линейных и массовых скоростей выгорания полимерных материалов. При лабораторных исследованиях определяют время самостоятельного горения материала. Исходя из этого, в на стоящей работе оценку эффективности действия замедлителей горения оценивали по продолжительности самостоятельного горения композитов согласно ГОСТ 21207. 81. Для этого образец, пластинку размером 100x10x1 мм, закрепили по ширине в горизонтальном положении таким образом, чтобы длина незакрепленной части образца была не менее 80 мм. Затем образец поджигали горелкой, пламя которой устанавливается под углом 45 ± 1°. Через 60 сек после поджога образца, горелку выключают, одновременно включают секундомер и измеряют время горения образца.
Метод предназначен для сравнительной оценки относительной способности пластмасс воспламеняться под воздействием источника зажигания.
Время горения определяли под вытяжкой. Образцы поджигали газовой горелкой Бунзена (рис. 2.1.), диаметром (9,5 ± 0,5) мм, с использованием смеси газов: пропан-бутан.
Рис. 2.1. Устройство газовой горелки Бунзена: 1 - образец; 2 - горелка Бунзена; 3 - поворотное приспособление.
2.5 Определение коксового остатка
Коксовый остаток определялся термогравиметрическим методом. Образцы исходного вторичного полиэтилентерефталата и композитов ВПЭТФ + органоглина выдерживали при температуре 800 °С в муфельной печи в течение часа. Скорость подъема температуры 5 °С/мин. Затем находили разницу в массе навесок до и после выдерживания в муфельной печи и вычисляли коксовый остаток (%).
