Определение свойств газов
Изолирующая гребенка со шлангом 30 для поглотительных сосудов 3 и 5, которая соединена со склянкой Тищенко 29, служащей гидравлическим затвором.
Предохранительная трубка с шарообразным расширением для поглотительного сосуда 2 с раствором брома.
Петля 17 для сжигания газов, помещенная в трубчатую печь 18 с электрическим обогревом. Для регулирования температуры печи используется ЛАТР-1. Для измерения температуры имеется термометр 19 (при сжигании водорода) и термопара, соединенная с гальванометром.
Реактивы Едкое кали, 30—35%-ный раствор.
Пирогаллол А, щелочной раствор. В колбе объемом 250 мл с обратным воздушным холодильником растворяют при помешивании 24 г пирогаллола А в 160 мл 21%-ного раствора едкого кали. При растворении колба нагревается - До 50 °С. После охлаждения колбу с готовым раствором закрывают корковой пробкой во избежание контакта раствора с окружающим воздухом.
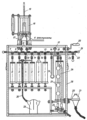
Рис. 7. Газоанализатор ВТИ-2:
б— поглотительные сосуды; 7,8,10—13,16— серповидные краны; 9—одноходовые краны; 14,22—трехходовые краны; 15—кран компенсационной трубки; 17— петля для сжигания компонентов газа; 18—электрическая печь; Р—термометр на 350°С; 20— кольца для установки уравнительной склянки, 21 — заглушка для гребенки; 23—планка для крепления кранов; 24 — компенсационное устройство; 25—двойная газовая бюретка 2 — футляр прибора, 27 — уравнительная склянка, 28—стеклянная вилка с двумя прямыми кранами; 29—склянка Тищенко; 30—изолирующая гребенка со шлангом.
Хлорид меди(1), аммиачный раствор. Стружки из красной меди помещают в склянку вместимостью 1,5 л. В эту же склянку наливают 750 мл дистиллированной воды и растворяют в ней 250 г хлорида аммония. К раствору добавляют 200 г хлорида меди(1). Склянку плотно закрывают резиновой пробкой и раствор выдерживают несколько дней до осветления. После этого его декантируют и смешивают в поглотителях с 25%-ным раствором аммиака в соотношении 3:1. Готовый раствор приобретает синюю окраску.
Бром, насыщенный раствор в 20%-ном водном растворе бромида калия. Насыщение проводится до тех пор, пока на дне сосуда не появится капля брома.
Серная кислота, 10%-ный раствор.
Оксид меди(П) гранулированный.
Аскарит.
Азот.
Перед тем как приступить к работе с прибором, необходимо проверить все стеклянные краны и хорошо их, притереть, а также изучить направление движения газа при различных положениях кранов.
В рубашку наливают дистиллированную воду, а в уравнительную склянку — 150—200 мл 10%-ного раствора серной кислоты, подкрашенной метиловым оранжевым.
Поглотительные сосуды заполняют следующими абсорбентами: 1 и 6 — раствором щелочи, 2 — бромной водой, 3— щелочным раствором пирогаллола А, 4 и 5 — аммиачным раствором хлорида меди (И). Заполнение реактивами ведется на месте через вспомогательные камеры сосудов с помощью воронок. Краны, соединяющие сосуды с гребенкой, при этом должны быть закрыты. Только сосуд 2 снимают с прибора и заполняют раствором брома в вытяжном шкафу. Сосуды 2—5 изолируют от окружающего воздуха. Отверстие сосуда 2 закрывают предохранительной трубкой с шарообразным расширением, заполненной натронной известью или аскаритом и закрытой с обеих сторон пробками из ваты. Отверстия сосудов 3—5 изолируют с помощью гребенки 30, соединенной со склянкой Тищенко 29.
Подготовленные сосуды приводят в рабочее состояние, доводя уровень жидкости до метки в узкой части внутреннего поглотителя. Для этого наполняют напорной жидкостью бюретки, разобщают гребенку с атмосферой, открывают серповидный кран к соответствующему поглотительному сосуду и кран 16 к левой части «бюретки. При медленном опускании склянки создается разрежение, и поглотительная жидкость будет переливаться из наружной вспомогательной камеры во внутреннюю. Как только жидкость дойдет до метки, кран поглотителя закрывают и наблюдают в течение нескольких минут за уровнем жидкости в поглотительном сосуде. Если уровень опускается, то надо промыть ацетоном пробку и втулку стеклянного крана, смазать кран и вновь проверить поглотитель на герметичность. Таким же приемом доводят до уровня поглотительную жидкость в остальных сосудах.
Трубку для сжигания наполняют гранулированным оксидом меди(II) и в оба ее конца закладывают неплотные пробки из асбеста или медной проволоки. Проверяют работу печи, для чего ее включают в сеть через ЛАТР-1.
Для активации оксида меди(П) трубку нагревают до 900°С, пропускают через нее 100—200 мл испытуемого газа и затем после снижения температуры до 500 °С пропускают несколько порций по 100 мл воздуха.
В манометр компенсатора наливают подкрашенную дистиллированную воду в таком количестве, чтобы ее уровень находился на 5—6 мм ниже его капиллярных отростков. Несколько капель дистиллированной воды наливают в компенсационную трубку, чтобы находящийся в ней воздух был насыщен водяными парами.
Прибор ВТИ-2 выдерживается в помещении при открытых в атмосферу кранах 14 и 15 для достижения постоянной температуры всех его частей. Через 2 ч краны закрывают и наблюдают за манометром, в обоих коленах которого жидкость должна стоять на одном уровне. В противном случае установку компенсатора повторяют, и прибор ВТИ-2 снова выдерживают в помещении.
Для ликвидации вредного пространства (примесь воздуха или газа) при открытых кранах 9 и перекрытом кране 10 гребенку и трубку для сжигания продувают азотом. Для этого вместо заглушки к крану 7 присоединяют пипетку с азотом. Через кран 16, соединенный с бюреткой, набирают около 20 мл азота в правую часть бюретки. Поднимая уравнительную склянку и поворачивая кран 16 на соединение с правой частью гребенки, через кран 22 выпускают азот в атмосферу. Продувку азотом повторяют несколько раз. Перекрыв кран 14 манометра на сообщение с прибором, устанавливают жидкость в манометре на одном уровне и закрывают кран 14 и краны 9 на трубке для сжигания. Отросток правой части гребенки заполняют напорной жидкостью из бюретки. Пипетку с испытуемым газом посредством резиновой трубки присоединяют к трехходовому крану 22 и забирают в правую часть бюретки 80 мл газа, а в левую — 20—22 мл. Закрывают кран 22 и выжидают 2— 3 мин, чтобы напорная жидкость стекла со стенок бюретки. Манипулируя уравнительной склянкой и кранами 28, точно устанавливают уровень жидкости сначала в левой части бюретки, а затем в правой. После уравнивания давления газа по манометру,с давлением воздуха в компенсационной трубке сбрасывают избыток газа (свыше 20 мл в правой части бюретки) в атмосферу через кран 22. Перекрыв кран 13 на сообщение бюретки с первым поглотительным сосудом, с помощью уравнительной склянки перемещают в него газ сначала из правой части бюретки, затем из левой и обратно.
После 3—4 прокачиваний устанавливают объем газа. Для этого в левую часть бюретки помещают 80, 60, 40 или 20 мл газа, а остаток измеряют по шкале правой части бюретки. Уравняв давление газа по манометру с давлением воздуха в компенсаторе суммируя показания бюреток, находят общий объем оставшегося после поглощения газа. Операцию поглощения газа в растворе щелочи повторяют несколько раз до тех пор, пока разница между двумя измерениями объема не станет равной 0,05 мл, т.е. до достижения постоянного объема. Разность между первоначальным объемом газа и оставшимся после первого поглотителя принимается за количество кислых газов. Затем газ из бюретки переводят на 3—4 мин во второй поглотитель с раствором брома и возвращают в бюретку. Для удаления паров брома газ прокачивают через первый поглотитель со щелочью, после чего замеряют его объем. Поглощение непредельных углеводородов и отделение паров брома проводят несколько раз до достижения постоянного объема. Разность между объемами газа до и после поглощения раствором брома принимают за сумму непредельных углеводородных газов.
