Определение свойств газов
Оставшийся газ 3—4 раза прокачивают через третий поглотитель с раствором пирогаллола А. После измерения объема прокачивание газа повторяют до достижения постоянного объема. За кислород принимается количество газа, поглощенное пирогаллолом А.
Оксид углерода адсорбируется очень медленно. Поэтому его содержание определяют путем последовательного поглощения испытуемого газа аммиачным раствором хлорида меди(II) в поглотительных сосудах 4 и 5. В сосуде 4 поглощение проводится до тех пор, пока изменение объема между двумя последовательными отсчетами по бюретке будет не более 0,5 мл, а в сосуде 5 — до достижения постоянного объема.
После поглощения оксида углерода в оставшемся газе следует /определить водород, предельные углеводороды и азот. Для определения водорода включают электрическую печь и поддерживают температуру в рабочем, пространстве в пределах 280—285 °С. Открывают краны 9 трубки для сжигания, поворачивают кран 10 на 60° на гребенку и открывают кран 7 на поглотитель 6. С помощью уравнительной склянки перемещают газ из бюретки до достижения постоянного объема, после чего отключают печь. Трубку охлаждают до комнатной температуры, вновь прокачивают газ и измеряют его объем. Уменьшение объема газа при сжигании относят к водороду.
Пользуясь тем же приемов, сжигают предельные углеводороды, предварительно нагрев печь до 850—950 °С. Когда печь охладится до комнатной температуры, газ снова перекачивают через печь в сосуд 3 для поглощения кислорода и измеряют его объем. Оставшийся после сгорания газ принимают за азот.
Содержание в газе каждого компонента х [в % (об.)] вычисляют по формуле:
где V1 — объем газа по бюретке после поглощения или сжигания, мл; V2 — объем газа по бюретке до поглощения или сжигания Данного компонента, мл; V3 — объем газа, взятого на анализ, мл.
На этом же приборе можно проводить анализ различных нефтяных газов только на содержание азота. Для этого все кислые газы поглощаются раствором щелочи, а все горячие газы сжигаются при 950 °С. Остаточный газ принимается за азот.
ТЕПЛОТА СГОРАНИЯ ГАЗА И ЕЕ ОПРЕДЕЛЕНИЕ
Теплотой сгорания (теплотворной способностью) горючих материалов называется количество тепла в килоджоулях, которое выделяется при полном сгорании 1 м8 газа или 1 кг жидкого или твердого топлива.
Теплота сгорания является одним из главных свойств горючих газовых смесей и зависит от их состава. Например, попутные нефтяные газы и газы крекинга, состоящие в основном из углеводородов, при сгорании выделяют значительно больше тепла, чем газы, полученные при термическом разложении сланцев в составе которых содержится значительное количество водорода и оксида углерода. Природный газ, состоящий в основном из. метана, выделяет в среднем при сгорании 35160 кДж/м3.
Различают высшую и низшую теплоту сгорания. Высшая теплота сгорания QB отличается от низшей QН на количество теплоты, которая выделяется при конденсации образовавшихся при сгорании, а также находившихся ранее в анализируемом газе водяных паров. При подсчете QВ теплота сгорания газа и теплота конденсации водяных паров суммируются. Однако обычно при сгорании топлива в промышленных установках водяные пары не конденсируются и уносятся вместе с дымовыми газами. Поэтому чаще всего калорийность топлива, в том числе и газообразного, оценивается низшей теплотой сгорания, при определении и подсчете которой теплота конденсации водяных паров не учитывается.
Теплоту сгорания горючих газовых смесей можно определить экспериментально — путем сжигания газовой смеси в калориметрах.
ОПРЕДЕЛЕНИЕ ТЕПЛОТЫ СГОРАНИЯ В КАЛОРИМЕТРАХ
Для определения теплоты сгорания газа в лабораторной практике довольно широко используется калориметрическая установка типа КЛП-1. Принцип работы этой установки основан на сжигании определенного объема газа. Вся выделившаяся теплота поглощается водой, непрерывно проходящей через калориметр. Количество воды и температура ее нагрева измеряются во время проведения эксперимента. Потери теплоты в окружающее пространство незначительны, и обычно ими пренебрегают при работе с данным прибором.
Теплота сгорания газа подсчитываётся по объему сгоревшего газа, количеству и температуре нагрева воды, прошедшей через калориметр.
Устройство калориметрической установки
Установка (рис, 8) состоит из калориметра 7, газовых часов /, регулятора давления 4, горелки, напорного бака, технических весов и сборников воды.
Рис. 8. Схема калориметрической установки:
1 - газовые часы; 2— манометр; 3—термометры; 4—регулятор давления; 5—сосуд для сбора воды, вытекающей из калориметра; б—термометры; 7—калориметр; 5—зеркало; мензурка для сбора конденсата.
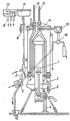
Калориметр (рис. 9) представляет собой металлический цилиндр с двойными стенками; внутри которого имеются еще несколько цилиндров. Цилиндры заключены в металлический кожух, к которому прикреплены три ножки с установочными винтами, с помощью которых калориметр устанавливается вертикально по отвесу.
Во внутреннем цилиндре имеется камера где происходит сгорание топлива в газовой горелке 2. Продукты горения поступают вверх, а затем по трубкам опускаются вниз и через выхлопную трубу 6 выходят в атмосферу. На выхлопной трубе имеется термометр 7 со шкалой от 0 до 50 °С с ценой деления 1 °С и шибер 5, с помощью которого регулируется скорость газов, проходящих через калориметр. Между стенками цилиндра протекает вода, которая воспринимает теплоту отходящих газообразных продуктов сгорания, нагревается и собирается в сосуде. Степень нагрева воды контролируется двумя термометрами 12 и 13, поставленными на входе и выходе воды. Поступление воды из специального бака или водопровода регулируется распределительным устройством с краном 16, которое позволяет излишек воды направлять в канализацию. Снизу калориметр снабжен краном для сбора конденсата, образующегося при сгорании водорода и углеводородных газов.
Газовые часы или газовый счетчик служат для измерения объема газа. Газовый счетчик снабжен водяным U-образным манометром со шкалой 0-100 мм и термометрами со шкалой 0—50 °С с ценой деления 1 °С.
Регулятор давления представляет собой газгольдер и служит для выравнивания давления сгорающего газа. Он включается перед подачей газа в горелку.
Газовая горелка устроена по принципу Обычной лабораторной газовой горелки и снабжена тремя насадками с отверстиями различных размеров, которые устанавливаются на горелку в зависимости от калорийности газа.
Напорный бак вместимостью 100—200 л с шаровым клапаном предназначен для питания калориметра водой комнатной температуры. Такая вода позволяет легче, чем вода из водопровода, достичь устойчивости в показаниях термометров на входе и выходе воды из калориметра и уменьшить потери тепла системы в окружающую среду.
В качестве сборника нагретой воды применяют два одинаковых цилиндра.
