Основные задачи термохимии. Использование калориметрических методов для определения теплот растворения солей
Оглавление
1. Основные задачи термохимии
2. Чем обусловлен тепловой эффект реакции?
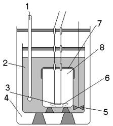
3. Калориметрическая установка
4. Вычисление Dt
5. Основной источник погрешности в результатах калориметрических опытов
6. Определение удельной теплоты растворения соли
7. Методики определения удельной теплоты растворения соли
8. Оглавление
Основные задачи термохимии
Термохимия, раздел химической термодинамики, включающий определение теплового эффекта реакции и установление его зависимости от физико-химических параметров. В задачу термохимии входит также измерение и вычисление теплот фазовых переходов, растворения, разбавления и других процессов, изучение теплоемкостей, энтальпий и энтропий веществ. Основным экспериментальным метод термохимии – калориметрия. Иногда используются некалориметрические методы (расчет тепловых эффектов из результатов измерения констант равновесия, эдс и т.п.), однако в этих случаях результаты обычно менее точны.
В 1840 году химик Гесс открыл закон, названный позднее его именем, этот закон дает возможность определять расчетным путем тепловые эффекты реакций по теплотам образования исходных веществ и продуктов или по теплотам их сгорания. Тем самым, открывая путь для определения тепловых эффектов реакций, которые трудно осуществимы, а иногда и невозможно. Необходимые для расчета стандартные теплоты образования DHобро собраны в фундаментальные термохимические справочники.
В середине XIX века Томсен и Бертло высказали идею, согласно которой химические реакции, происходящие без подвода энергии извне, протекают в направлении максимального выделения теплоты. Ими и их учениками были разработаны основные экспериментальные методики термохимии и измерены тепловые эффекты многих реакций.
Хотя в общем виде принцип Бертло-Томсена оказался неверен, но за термохимией сохранилась ведущая роль в исследовании возможности протекания химических реакций в заданных условиях. Так, уравнение DH - TDS=-RTlnKp являющееся обобщением первого и второго начал термодинамики (DH – изменение энтальпии, DS – изменение энтропии при химической реакции, T – температура, R – газовая постоянная), позволяет рассчитать константу равновесия Kp любой реакции через тепловые величины.
Изменение энтальпии (тепловой эффект) очень просто может быть измерен в лаборатории. Обычно это делают, окружая зону реакции: при этом происходит энергообмен. Если реакция является экзотермической, то вода нагревается, если эндотермической – то охлаждается. Если измерить изменение температуры воды и если известна масса воды и ее удельная теплоемкость, то можно вычислить количество поглощенной или выделенной в процессе химической реакции энергии.
На рисунке 1 показан прибор, с помощью которого может быть получено более точное значение DH, чем в довольно грубом расчетном методе. Этот прибор называется калориметрической бомбой и предназначен для определения теплоты сгорания вещества.
Для некоторых реакций можно непосредственно измерить DH. Возьмем, к примеру, реакцию горения метана. Можно провести грубое измерение DH этой реакции, используя обычное кухонное оборудование и газовую плиту.
Для других реакций это выполнить сложнее. Например, для реакции разложения CaCO3 требуется температура свыше 800оС, что усложняет использование
воды для измерения передаваемой энергии. В таких
случаях изменение энтальпии определяется косвенно, с
использованием энтальпийных циклов.
Как уже было отмечено, калориметрия используется для определения тепловых эффектов реакций, в частности она используется и для определения теплот растворения солей или других соединений в воде
или других растворителях. Это является одной из самых интересных задач термохимии, так как выделение теплоты при растворении солей может быть использовано для разогрева или охлаждения тех или иных объектов.
Чем обусловлен тепловой эффект реакции?
А чем, собственно говоря, определяется изменение теплового эффекта реакции.
Процесс образования растворов на молекулярном уровне можно представить следующим образом. Каждая группа молекул чистого вещества должна сначала перестроиться таким образом, чтобы молекулы были удалены друг от друга на расстояния, соответствующие конечной концентрации раствора. (Например, в разбавленном растворе метанола в воде молекулы метанола очень удалены друг от друга, а молекулы воды находятся почти так же близко друг к другу, как в чистой воде.) Далее системы с удаленными молекулами должны сблизиться, образовав раствор конечной плотности. Сначала индивидуальные вещества должны поглотить энергию, чтобы произошло разделение частиц; однако при сближении частиц «раздвинутых» систем при образовании раствора энергия выделяется. Смешение частиц увеличивает статический “беспорядок” системы, что сопровождается увеличением энтропии.
Для процессов растворения характерна склонность к самопроизвольному протеканию к отрицательному изменению энергии Гиббса в результате смешивания частиц растворителя и растворенного вещества.
Основные различия в поведении растворов зависят от баланса выделяемой и поглощаемой энергии, связанной с изменениями межчастичных расстояний. Величины DH для процессов растворения отличаются друг от друга. Образование раствора является экзотермическим процессом (изменение энтальпии отрицательно), если при смешении частиц освобождается больше энергии, чем необходимо для первоначального разделения частиц. Если же для разделения деления частиц требуется больше энергии, чем освобождается при смешении, процесс растворения - эндотермичен (изменение энтальпии положительно). Поскольку энтальпийная функция дает вклад в изменение энергии Гиббса DG=DH-TDS, можно ожидать, что именно для эндотермического процесса наиболее вероятна ограниченная растворимость; это в действительности подтверждается термодинамическими измерениями. Однако на молекулярном уровне эндотермический ход процесса растворения обусловлен тем, что однородные частицы в чистых жидкостях притягивают друг друга в смеси в среднем сильнее по сравнению с разнородными. Следовательно, для разделения однородных частиц в систему необходимо ввести больше энергии, чем выделится при сближении разнородных частиц в процессе смешения.
