Свойства краун-эфиров и фуллеренов
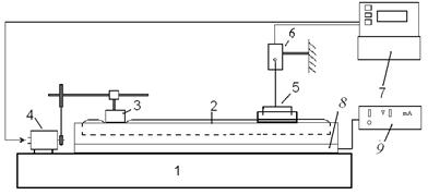
Рис.10. Схема ЛБ установки.
Для получения монослоев использовалась тефлоновая ванна размером 13,5 на 26 см. Перед проведением работ на ЛБ установке ванну (2) тщательно моют и просушивают. Затем наполняют её чистой бидистиллированной водой или слабым кислотным (щелочным) раствором с нужным значением pH. После некоторого времени смахивают подвижным барьером (3) поверхностный слой воды для дополнительной очистки субфазы. Затем устанавливают нулевое значение на цифровом приборе (7). На поверхность воды пипеткой или шприцом наносится растворённое в легколетучем органическом растворителе исследуемое вещество. После испарения летучего растворителя на поверхности жидкости получается монослой в виде двумерного газа. Барьер может передвигаться по поверхности воды, уменьшая или увеличивая площадь, занимаемую монослоем. Причём на установке можно установить барьер как из не смачиваемого водой материала, так и из смачиваемого. Перемещение барьера осуществляется электродвигателем (4) через понижающий редуктор и червячную передачу. Запуск и остановка барьера, а также регулировка скорости его перемещения осуществляются с блока управления и с помощью компьютерной программы.
Поверхностное давление монослоя измеряется весами Вильгельми (5) через силоизмерительный датчик (6). В качестве пластины Вильгельми используется фильтровальная бумага размером 50x10 мм. При соприкосновении с поверхностью жидкости бумажная пластинка силами поверхностного натяжения, действующими по её периметру смачивания, втягивается в жидкость до тех пор, пока сила жёсткости пружины датчика и архимедова сила не уравновесят втягивающую силу.
Датчик представляет собой механоэлектрический преобразователь. Основным элементом датчика является плоская бронзовая пружина, консольно закреплённая на шасси головки датчика. На свободном конце пружины укреплены крюк, на который подвешивается пластина Вильгельми, оптическая шторка и постоянный цилиндрический магнит. На шасси закреплены: источник света (электрическая лампа), два фотодиода и соленоид, внутри которого (не касаясь его) расположен магнит. Шторка расположена между источником света и фотодиодами. Изменение поверхностного давления в монослое вызывает изменение силы, втягивающей пластинку в воду, что в свою очередь изменяет нагрузку на крюке датчика и вызывает отклонение пружины от некоторого первоначального положения. В результате на выходе датчика возникает изменение напряжения сигнала, по которому и судят об изменении поверхностного давления. Сигнал с датчика передаются на цифровой прибор, на котором отображается поверхностное давление монослоя в мН/м.
Для создания магнитного поля ванна (2) помещена на специальную приставку (8), которая представляет собой катушку. При протекании тока возникает магнитное поле, максимальное значение которого достигает 0,005 Тл. Напряжение и силу тока, подаваемые на приставку, можно регулировать прибором (9).
Все устройства, за исключением блока управления и самописца, размещены на платформе (1) и находятся в стеклянном шкафе. Стеклянный шкаф предохраняет прибор и монослой от загрязнения пылью и от внешних механических факторов.
Перед тем как наносить плёнки на подложку, необходимо для заданного количества вещества построить p-А изотерму и выбрать по ней необходимое давление, соответствующее выбранной фазе монослоя. Построение p-А изотерм можно вести вручную, определяя положение барьера по отчётной линейке, а давление монослоя по показаниям цифрового прибора, или же p-А изотерму можно строить полностью автоматически на компьютере с помощью специальной программы. Слив отработанную жидкость, и подготовив установку заново, наносят такое же количество вещества на рабочую поверхность ванны. Получив нужное давление перемещением барьера, начинают процесс переноса монослоя на подложку.
3.2.2 Расчет порогового значения поля Фредерикса
Для формирования ленгмюровского слоя с планарной анизотропией был использован эффект Фредерикса ориентации молекул мезогенных комплексов. Расчет минимального значения магнитного поля, при котором происходит переориентация молекул жидких кристаллов, рассчитывался по формуле (СГС):
(3)
Здесь d – параметр ячейка жидкого кристалла;
K – Константа упругости (10-6 дин);
Δχ – величина магнитной анизотропии (в данной работе Δχ = –6300·10-6 см3/моль).
Расчет показал, что величина магнитного поля, необходимая для начала ориентации молекул мезогенного комплекса составляет 0,0027 Тл. Таким образом, величины поля, создаваемого установкой (0,005 Тл), достаточно для ориентации монослоя.
3.2.3 Расчет необходимого количества вещества
Этот расчет необходим для быстрого и эффективного получения монослоя, а также для интерпретации p-А изотермы и выводов относительно строения слоя в каждый конкретный момент.
Площадь на одну молекулу S определялась как площадь ванны, приходящуюся на все молекулы.
(4)
где L - длинна ванны (м); D - ширина (м); N - всего молекул рабочего вещества;
(5)
где C - концентрация рабочего раствора (г/мл); V - объём рабочего раствора (мл); M - молярная масса (г/моль); NA - число Авогадро (1/моль).
Отсюда следует:
(6) площадь на 1 молекулу;
(7) рабочий объём раствора концентрации.
Для получения гетеромолекулярного монослоя необходимо смешивание полученных растворов, при этом объем каждого раствора при условии их одинаковой концентрации рассчитывался по формуле:
(8)
Где Vi, Mi и Ci – соответственно объем, молярная масса и концентрация каждого компонента раствора; Ni – желаемое число молекул, в растворе.
3.2.4 Приготовление растворов
Выбор растворителя определялся следующими факторами: нерастворимость в воде, растворимость в нем рабочего вещества, летучесть, плотность растворителя должна быть меньше, чем плотность воды, кроме того, он должен обладать наименьшим вредным воздействием.
В данной работе растворы всех соединений были приготовлены раздельно. В качестве растворителя для фуллеренов был использован бензол; краун-эфиры и магнитные комплексы наносились на поверхность воды из раствора в хлороформе. Концентрация каждого раствора составляла 0,3-0,35 мл/мл. Для формирования гетеромолекулярного слоя использовались смеси этих растворов в количестве, обеспечивающем молекулярное соотношение краун-эфиров, фуллеренов и магнитных комплекса 20:10:2. Такое соотношение было выбрано по причине ожидания, что образующийся комплекс краун– фуллерен будет иметь структуру сэндвича.
