Химические методы очистки отходящих газов
Введение
Тема реферата «Химические методы очистки отходящих газов» по дисциплине «Технология очистки и утилизации газовых выбросов».
В связи с повышением требований к экологической чистоте производств все больше внимания уделяется развитию химических методов очистки отходящих газовых потоков. Эти методы сами по себе или в совокупности с основанными на других принципа технологии обеспечивают эффективную очистку выбрасываемы) в атмосферу газообразных продуктов, надежность всего производства, снижение энергозатрат и себестоимости.
Устранение нежелательных компонентов в газах с использованием химических методов означает, что в основе процесса лежит химическая реакция и ее роль является преобладающей по сравнению с процессами адсорбции, абсорбции, конденсации или сжигания. В большинстве случаев, однако, технология сочетает в себе несколько операций и достаточно сложно классифицировать метод очистки в соответствии с перечисленными выше физико-химическими методами. Например, метод очистки газа от SO2 с использованием извести или известкового молока не приводится здесь в качестве химического, поскольку определяющей операцией является абсорбция на стадии скруббирования. Из этого примера видно, что определение, данное «химическому» методу очистки, неоднозначно и вводится для удобства изложения и необходимости классификации.
1. Окислительные методы
1.1 Особенность применения химических методов очистки отходящих газов
Устранение нежелательных компонентов в газах с использованием химических методов означает, что в основе процесса лежит химическая реакция и ее роль является преобладающей по сравнению с процессами адсорбции, абсорбции, конденсации или сжигания. В большинстве случаев, однако, технология сочетает в себе несколько операций и достаточно сложно классифицировать метод очистки в соответствии с перечисленными выше физико-химическими методами. Например, метод очистки газа от SO2 с использованием извести или известкового молока не приводится здесь в качестве химического, поскольку определяющей операцией является абсорбция на стадии скруббирования. Из этого примера видно, что определение, данное «химическому» методу очистки, неоднозначно и вводится для удобства изложения и необходимости классификации.
Вследствие разнообразия топок, котельных и других аналогичных устройств сфера приложения описываемых методов контроля чистоты выбросов очень широка. Специалист в данной области имеет возможность выбрать наиболее оптимальный вариант или найти способы улучшения уже функционирующих конструкций. Общий интерес представляет применимость отдельных методов к конкретным типам загрязняющих выбросов, их универсальность, экономичность, перспектива усовершенствования, увеличение производительности и возможные недостатки.
Каталитические методы очистки газов основаны на реакциях в присутствии твердых катализаторов, т. е. на закономерностях гетерогенного катализа В результате каталитических реакций примеси, находящиеся в газе, превращаются в другие соединения, т. е. в отличие от рассмотренных методов примеси не извлекаются из газа, а трансформируются в безвредные соединения, присутствий: которых допустимо в выхлопном газе, либо в соединения, легко удаляемые из газового потока. Если образовавшиеся вещества подлежат удалению, то требуются дополнительные операции (например, извлечение жидкими или твердыми сорбентами).
Трудно провести границу между адсорбционными и каталитическими методами газоочистки, так как такие традиционные адсорбенты, как активированный уголь, цеолиты, служат активными катализаторами для многих химических реакций. Очистку газов на адсорбентах–катализаторах называют адсорбционно-каталитической. Этот прием очистки выхлопных газов весьма перспективен ввиду высокой эффективности очистки от примесей и возможности очищать большие объемы газов, содержащих малые доли примесей (например, 0,1—0,2 в объемных долях SO2). Но методы утилизации соединений, полученных при катализе, иные, чем в адсорбционных процессах.
1.2 Адсорбционно-каталитические методы
Адсорбционно-каталитические методы применяют для очистки промышленных выбросов от диоксида серы, сероводорода и серо-органических соединений. Катализатором окисления диоксида серы в триоксид и сероводорода в серу служат модифицированный добавками активированный уголь и другие углеродные сорбенты. В присутствии паров воды на поверхности угля в результате окисления SO2 образуется серная кислота, концентрация которой в адсорбенте составляет в зависимости от количества водяного пара при регенерации угля от 15 до 70%.
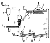
Схема каталитического окисления H2S во взвешенном слое высокопрочного активного угля приведена на рис. 8. Окисление H2S происходит по реакции
H2S + 1/2 О2 = Н2О + S
Активаторами этой каталитической реакции служат водяной пар и аммиак, добавляемый к очищаемому газу в количестве ~0,2г/м3. Активность катализатора снижается по мере заполнения его пор серой и когда масса S достигает 70—80% от массы угля, катализатор регенерируют промывкой раствором (NH4)2S. Промывной раствор полисульфида аммония разлагают острым паром с получением жидкой серы.
Представляет большой интерес очистка дымовых газов ТЭЦ или других отходящих газов, содержащих SO2 (концентрацией 1-2% SO2), во взвешенном слое высокопрочного активного угля с получением в качестве товарного продукта серной кислоты и серы.
Другим примером адсорбционно-каталитического метода может служить очистка газов от сероводорода окислением на активном угле или на цеолитах во взвешенном слое адсорбента-катализатора.
| |
Рис. 1. Схема каталитической очистки газа от сероводорода во взвешенном слое активного угля: 1 – циклон-пылеуловитель; 2 – реактор со взвешенным слоем; 3 – бункер с питателем;4 – сушильная камера;5 – элеватор; 6 – реактор промывки катализатора (шнек); 7 – реактор экстракции серы (шнек-растворитель); I – газ на очистку; II – воздух с добавкой NH3; III – раствор (NH4)2Sn на регенерацию; IV – раствор (NH4)2S; V – регенерированный уголь; VI – свежий активный уголь; VII – очищенный газ; VIII – промывные воды
1.3 Каталитическое окисление токсичных органических соединений и оксида углерода
Широко распространен способ каталитического окисления токсичных органических соединений и оксида углеродав составе отходящих газов с применением активных катализаторов, не требующих высокой температуры зажигания, например металлов группы платины, нанесенных на носители.
В промышленности применяют также каталитическое восстановление и гидрирование токсичных примесей в выхлопных газах. На селективных катализаторах гидрируют СО до CH4 и Н2О, оксиды азота — до N2 и Н2О. Применяют восстановление оксидов азота в элементарный азот на палладиевом или платиновом катализаторах.
