Управление запасами на предприятии
р1 – коэффициент гарантийности, определяющий величину случайных отклонений от среднего значения (в сторону уменьшения) и расходуемых значений (в сторону увеличения).
Рассчитанная данным методом норма страхового запаса составила 9 949 тыс. руб.
2.5 Сравнение различных методов расчета страховой составляющей нормы производственного запаса
Таким образом, анализ методов определения текущей составляющей производственного запаса и страховой составляющей производственного запаса показывает отсутствие единства в методических подходах к расчету норм производственного запаса. Так, например, Б. Федорчук в определении текущей составляющей предлагал дополнительно взвешивать интервалы по соответствующим объемам поставок, что позволяет учесть неравномерность поставок по объемам. Н. Фасоляк рекомендует, кроме того, дополнительно учитывать в текущей составляющей отклонения вариаций нормообразующих факторов от их средних значений.
Еще большие методические разногласия наблюдаются в рекомендациях по способам расчета страховой составляющей. В методике Е. А. Мельниковой рекомендуется рассчитывать составляющую из предположения детерминированного процесса, в других методиках – из предположения, что процесс формирования носит стохастический характер. У авторов нет согласия и в том, какие интервалы между поставками следует учитывать и как. Например, К. Инютина рекомендует принимать все отклонения, как положительные, так и отрицательные, а Н. Фасоляк - только положительные, т.е. значения интервалов, которые превышают среднее значение. Во всех работах, кроме двух - методик Н. Фасоляк и Е. А. Мельниковой – не учитывается влияние на величину страховой составляющей вариации суточных объемов отпусков нормируемого материала на предприятии, которое в общем случае может быть достаточно большим и оказывать сильное воздействие. При этом в методиках, кроме трех формул Н. Фасоляк, Е. А. Мельниковой и А. П. Вожжова, вообще не учитывается влияние вариаций интервалов между отпусками товарно-материальных ценностей на предприятии. В большинстве методик по нормированию запасов не предусмотрен следующий принципиальный вопрос: что является источником образования текущего и страхового запасов на предприятии в интервалах между поставками? Как результат, и сами учитываемые нормообразующие факторы в различных методиках также разнятся. Все это не позволяет сформулировать научно-обоснованные подходы к расчету норм.
Глава 3. Организационно-инженерная часть. Типовая технологическая карта. Монтаж сборных железобетонных оград.
3.1 Область применения
3.1.1. Технологическая карта разработана на монтаж 100 м сборных железобетонных оград по ГОСТ 13015.0-83.
3.1.2. В состав работ, рассматриваемых картой, входят:
- установка железобетонных фундаментных блоков;
- установка железобетонных панелей;
- заделка панелей оград в стаканах фундаментов.
3.1.3. Работы по монтажу оград выполняют при помощи автокрана марки КС-2561К-1 при положительной температуре наружного воздуха.
3.1.4. При привязке технологической карты необходимо уточнить объём работ, калькуляцию трудовых затрат, график производства работ и средства механизации.
3.2 Организация и технология строительного процесса
3.2.1. До начала монтажа элементов железобетонных оград должны быть выполнены следующие работы:
- устроены подъезды для автотранспорта и монтажного крана;
- доставлены на объект монтажный кран, инвентарь, инструмент и приспособления;
- спланированы площадка для складирования элементов ограды, приспособлений и инвентаря;
- завезены на строительную площадку элементы ограждения с созданием не менее 4-х сменного запаса, который постоянно должен поддерживаться;
- выполнена разбивка трассы ограды;
- выкопаны, выровнены и защищены котлованы для сборных фундаментов до проектных отметок, с устройством песчаной подушки.
3.2.2. Доставленные на строительную площадку железобетонные изделия должны отвечать следующим требованиям:
- элементы сборных железобетонных оград должны иметь маркировку и штампы ОТК предприятия-изготовителя;
- на каждую партию однотипных элементов предприятие-изготовитель должно представить акты испытаний контрольных образцов, отвечающих требованиям ГОСТ 7473-85 (испытания изделий могут не производиться, если производится систематический контроль за качеством бетона и арматуры согласно требованиям ГОСТ 8829-85) и паспорта изделий;
- панели оград не должны иметь внешних дефектов и повреждений;
- предельные отклонения фактических размеров панелей оград не должны превышать по длине ± 8 мм, по высоте ± 8 мм, по толщине ± 5 мм;
- предельные отклонения фактических размеров для фундаментов не должны превышать ± 15 мм.
3.2.3. Последовательность выполнения операций при монтаже сборных железобетонных элементов ограды:
- планировка верха котлованов под проектную отметку;
- установка фундаментов, их выверка;
- установка сборных панелей ограды, их выверка и раскрепление клиньями;
- замоноличивание панелей оград бетоном;
- засыпка котлованов и траншей грунтом с уплотнением вручную.
Монтаж элементов ограды производят автомобильным краном КС-1562.
Для размётки мест установки фундаментов следует натянуть вдоль ограды проволоку. На дно котлована, отвесом переносят центры фундаментов, вдоль оси ограды в обе стороны отмеряют расстояние равное половине ширины фундамента, после чего фиксируют эти точки колышками, забитыми в грунт.
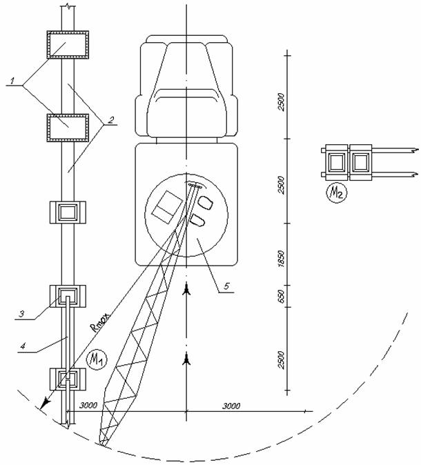
Монтаж фундаментов производят двухветвевым стропом. Схема организации рабочего места представлена на рисунке 3.1.
3.2.4. Работы производят при положительной температуре воздуха.
3.2.5. Работы по монтажу элементов ограды выполняет звено монтажников в составе: монтажников 4 разряда – 1 человек, 3 разряда – 1 человек, машиниста 6 разряда – 1 человек.
Рис. 3.1 Схема организации работ
1- котлован под фундаменты; 2 – траншея; 3 – сборный железобетонный фундамент; 4 – сборная железобетонная панель ограды; 5 – автокран КС-2561К-1; М1, М2 - монтажники
3.3 Калькуляция затрат труда
Таблица 3.1
|
ЕНиР |
Наименование работ |
Ед. изм. |
Объем работ |
Норма времени на ед. изм., чел.-ч. |
Затраты труда на весь объем работ, чел.-см. |
|
Е 4-1-19 |
Монтаж сборной железобетонной ограды: | ||||
|
т. 2, п. 1 а |
Установка фундаментных блоков |
1 блок |
50 |
0,4 |
2,44 |
|
т. 2, п. 2 а |
Установка столбов |
1 столб |
50 |
0,6 |
3,66 |
|
т. 2, п. 4 а |
Установка панелей ограждений |
1 панель |
48 |
0,86 |
5,03 |
|
т. 2, п. 6 а |
Заделка стыков |
1 стык |
50 |
0,28 |
1,71 |
|
Итого: |
12,84 | ||||
|
т. 2, п. 1 б, 2 б, 4 б, 6 б |
Обслуживание крана |
м/см |
6,42 | ||
|
Всего: |
19,26 | ||||
