Интраскопия (Лазерные методы диагностики и термографии)
Лазерные методы диагностики
ОПТИЧЕСКИЕ КВАНТОВЫЕ ГЕНЕРАТОРЫ
Лазеры представляют собой источники света, работающие на базе процесса вынужденного (стимулированного, индуцированного) испускания фотонов возбужденными атомами или молекулами под воздействием фотонов излучения, имеющих ту же частоту. Отличительной чертой этого процесса является то, что фотон, возникающий при вынужденном испускании, идентичен вызвавшему его появление внешнему фотону по частоте, фазе, направлению и поляризации. Это определяет уникальные свойства квантовых генераторов: высокая когерентность излучения в пространстве и во времени, высокая монохроматичность, узкая направленность пучка излучения, огромная концентрация потока мощности и способность фокусироваться в очень малые объемы. Лазеры создаются на базе различных активных сред: газообразной, жидкой или твердой. Они могут давать излучение в весьма широком диапазоне длин волн - от 100 нм (ультрафиолетовый свет) до 1.2 мкм (инфракрасное излучение) - и могут работать как в непрерывном, так и в импульсном режимах.
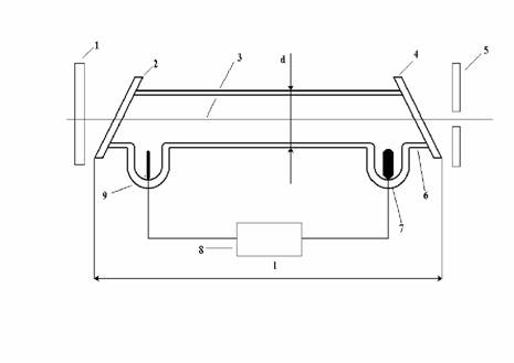
Лазер состоит из трех принципиально важных узлов: излучателя, системы накачки и источника питания, работа которых обеспечивается с помощью специальных вспомогательных устройств. Упрощенная конструктивная схема гелий-неонового лазера показана на рисунке ниже.
Излучатель предназначен для преобразования энергии накачки (перевода гелий-неоновой смеси 3 в активное состояние) в лазерное излучение и содержит оптический резонатор, представляющий собой в общем случае систему тщательно изготовленных отражающих, преломляющих и фокусирующих элементов, во внутреннем пространстве которого возбуждается и поддерживается определенный тип электромагнитных колебаний оптического диапазона. Оптический резонатор должен иметь минимальные потери в рабочей части спектра, высокую точность изготовления узлов и их взаимной установки. В лазере, показанном на рисунке, оптический резонатор выполнен в виде двух параллельных зеркал 1 и 5,расположенных вне активной части среды 3,которая отделена от окружающей среды колбой 6 разрядной трубки и двумя окнами 2,4 с плоскопараллельными границами, образующими с осью излучения угол Брюстера. Внешние зеркала 1 и 5 обеспечивают многократное прохождение излучения через активную среду с нарастанием мощности потока лазерного излучения. Для выхода излучения одно из зеркал (5) делается с отверстием или полупрозрачным.
Система накачки предназначена для преобразования энергии источника электрического питания 8 в энергию ионизированной активной среды 3 лазера. Накачка осуществляется электрическим разрядом, для чего в нем устанавливаются два электрода - катод 7 и анод 9, между которыми подается напряжение от источника питания. Атомы гелия возбуждаются при соударениях с быстрыми электронами и, сталкиваясь с атомами неона, передают им свою энергию. В некоторых типах лазеров применяют фокусирующие магниты или обмотки и специальные отводные трубки для циркуляции активной среды.
ОСНОВНЫЕ НАПРАВЛЕНИЯ И ЦЕЛИ МЕДИКО-БИОЛОГИЧЕСКОГО ИСПОЛЬЗОВАНИЯ ЛАЗЕРОВ.
Современные направления медико-биологического применения лазеров могут быть разделены на две основные группы :
|
К первому типу отнесено воздействие на ткани патологического очага импульсным или непрерывным лазерным излучением при плотности мощности, недостаточной для глубокого обезвоживания, испарения тканей и возникновения в них дефекта. Этому типу воздействия соответствует применение лазеров в дерматологии и онкологии для облучения патологических тканевых образований, которое приводит к их коагуляции. Второй тип - рассечение тканей, когда под влиянием излучения лазера непрерывного или частотно-периодического действия часть ткани испаряется и в ней возникает дефект. В этом случае плотность мощности излучения может превосходить используемую при коагуляции на два порядка и более. Этому типу воздействия соответствует хирургическое применение лазеров. К третьему типу можно отнести влияние на ткани и органы низкоэнергетического излучения, обычно не вызывающего явных морфологических изменений, но приводящего к определенным биохимическим и физиологическим сдвигам в организме, т.е. воздействие типа физиотерапевтического. Сюда же следует включить применение гелий-неонового лазера в целях биостимуляции при вяло текущих раневых процессах, трофических язв и др.
Несмотря на всю условность схемы (нетрудно видеть, например, что при рассечении тканей наблюдается одновременно гибель части клеток, т.е. реализуется и воздействие по первому типу, рассечение и коагуляция тканей сопровождается определенными физиолого-биохимическими изменениями и др.),она дает представление о тех основных эффектах, которые достигаются с помощью лазерного облучения и практически используются специалистами медико-биологического профиля. Задача исследований по механизму биологического действия лазерной радиации сводится к изучению тех процессов, которые лежат в основе интегральных эффектов, вызываемых облучением — коагуляции тканей, их испарения, биостимуляционных сдвигов в организме.
Лазерная диагностика в офтальмологии
АНГИОГРАФИЯ
Исследование сосудистой системы и гемодинамики глазного дна является одним из важнейших средств ранней диагностики тяжелых патологических изменений органа зрения и, в конечном счете, профилактики преждевременной слепоты.
Наибольшее распространение для исследования гемодинамики в настоящее время получили флюоресцентная ангиография и ангиоскопия глазного дна. Эти методы обладают большой информационной емкостью.
Флюоресцентная ангиография (ФАГ) с фоторегистрацией позволяет зафиксировать результаты исследования, но нарушает целостность динамической картины кровообращения.
Перед исследователем, который работает над усовершенствованием и разработкой аппаратуры для исследования гемодинамики глазного дна, встают следующие задачи:
1) выбор фотоприемника, имеющего достаточно высокую чувствительность как в видимом, так и в ближнем инфракрасном диапазоне и дающего возможность оперативно регистрировать и воспроизводить в реальном времени динамическую картину кровообращения глазного дна
2) выбор соответствующего источника освещения глазного дна, который излучает в диапазоне возбуждения применяемых контрастирующих красителей и позволяет достаточно простым способом изменять длину волны излучения.
