АппроксимацияРефераты >> Программирование и компьютеры >> Аппроксимация
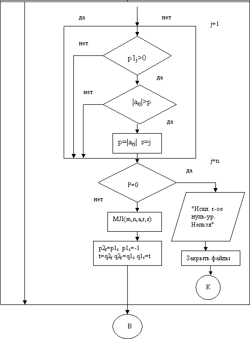
6.2 Блок-схема и параметры реализованной процедуры.
|
![]() | |||
| |||
Обращащение: isnu(k1,m,n,a,p1,q1,p2,q2). Используются модули typesm, mjim.
Параметры подпрограммы isnu:
|
Наименование |
Обозначение |
|
Число ограничений |
m |
|
Число переменных |
n |
|
Матрица задачи |
a |
|
Отслеживающие векторы |
p1, q1, p2, q2 |
В итоге успешной работы алгоритма все нуль-уравнения будут исключены, и в отслеживающем векторе p1 это будет отмечено как -1, что даст возможность в дальнейшем соответствующие столбцы матрицы А при выборе разрешающего элемента не трогать. Если же алгоритм применить нельзя, то будет выдано сообщение (см. блок-схему), и работа программы закончится.
7.2 Листинг модуля, исходных данных и результатов машинного расчета.
unit isnum;
interface
uses typesm,mjim;
procedure isnu(var k1:k1t;m,n:integer; var a:at;
var p1,q1:vec1it; var p2,q2:vec2it);
implementation
procedure isnu;
var p:real;k,s,r,j,t:integer;
begin
for r:=1 to k do begin
if p2[r]<0 then p1[abs(p2[r])]:=-1;end;
p:=0;
for j:=1 to n do begin
if p1[j]>0 then begin
if abs(a[r,j])>p then begin p:=abs(a[r,j]);s:=j;end;
end;end;
if p=0 then begin writeln(fo,'Исключить r',r:6,'-ое нуль-уравнение нельзя');
close(fi);close(fo);halt end;
mji(m,n,a,r,s);
p2[r]:=p1[s];p1[s]:=-1;
t:=q2[r];q2[r]:=q1[s];q1[s]:=t;
end;
end.
Исходныйфайлsimp.dat:
12
Исключение нуль-уравнений
Моносов ЭОУС-1-2 преподаватель Марьямов А. Г.
12.05.98
2 2 0
5 3
-2 -1 1 -2
1 -1 0 -1
-1 -1 0 -2
0 1 0 2
2 1 0 4
4 4 0 0
1 2
Файл результатов simp.res:
МОСКОВСКИЙ ГОСУДАРСТВЕННЫЙ СТРОИТЕЛЬНЫЙ УНИВЕРСИТЕТ
КАФЕДРА ИНФОРМАТИКИ И ПРИКЛАДНОЙ МАТЕМАТИКИ
Лабораторная работа по информатике
Факультет ЭОУС, 2-ой семестр обучения
Решение задачи линейного программирования
Вариант 12
модуль: Исключение нуль-уравнений
Исполнил студент Моносов ЭОУС-1-2 преподаватель Марьямов А. Г.
Дата исполнения: 12.05.98
Управляющий вектор:
2 2 0
Число ограничений: 5
Число переменных: 3
Матрица задачи
Н-р Коэффициенты Св. члены
строки
1 -2.00000 -1.00000 1.00000 -2.00000
2 1.00000 -1.00000 0.00000 -1.00000
3 -1.00000 -1.00000 0.00000 -2.00000
4 0.00000 1.00000 0.00000 2.00000
5 2.00000 1.00000 0.00000 4.00000
6 4.00000 4.00000 0.00000 0.00000
Вектор номеров свободных переменных:
1 2
Вектор решения прямой задачи:
1.00000 2.00000 3.00000
Значение целевой функции прямой задачи= 12.00000
Вектор решения двойственной задачи:
0.00000 4.00000 0.00000 8.00000 0.00000
Значение целевой функции двойственной задачи= 12.00000
8.2 Ручной расчет задачи линейного программирования.
Требуется максимизировать функцию
z=4x1+5x2
при ограничениях:
-2x1-x2+x3=-2
x1-x2£ -1
- x1 - x2 £ -2
0x1+ 1x2 £ 2
2x1 + 1x2 £ 4
x3 ³ 0
Коэфициенты ограничений, записанных в таком виде, переписываются со своими знаками, в последней строке таблицы записываются коэффициенты целевой функции с противоположными знаками. Сперва следует исключить свободные переменные, перекинув их на бок таблицы:
|
-x1 |
-x2 |
-x3 |
1 | |
|
0= |
-2 |
-1 |
1 |
-2 |
|
y2= |
1 |
-1 |
0 |
-1 |
|
y3= |
-1 |
-1 |
0 |
-2 |
|
y4= |
0 |
1 |
0 |
2 |
|
y5= |
2 |
1 |
0 |
4 |
|
z= |
-4 |
-4 |
0 |
0 |
|
-x1 |
-y4 |
-x3 |
1 | |
|
0= |
-2 |
1 |
1 |
0 |
|
y2= |
1 |
1 |
0 |
1 |
|
y3= |
-1 |
1 |
0 |
0 |
|
*x2= |
0 |
1 |
0 |
2 |
|
y5= |
2 |
-1 |
0 |
2 |
|
z= |
-4 |
4 |
0 |
8 |

