Системы диагностики ПКРефераты >> Программирование и компьютеры >> Системы диагностики ПК
Регистр микрокоманд устанавливается средствами тестового диагностирования с помощью диагностической операции «Загрузка РгМк».
Состояние регистров поступает в СТД, где выполняется диагностическая операция сравнения с эталоном.
При несовпадении результата с эталоном происходит останов с индикацией номера останова.
5. МЕТОД ЭТАЛОННЫХ СОСТОЯНИЙ
Метод эталонных состояний характеризуется тем, что объектом элементарных проверок является аппаратура, используемая на одном или нескольких тактах выполнения рабочего алгоритма функционирования, реализуемого в режиме диагностирования.
Рис. 16. Обобщенна» схема системы диагностирования, реализующей метод эталонных состояний
В качестве результата элементарной проверки используется состояние аппаратурных средств диагностируемого устройства.
Процесс диагностирования по методу эталонных состояний, заключается в потактовом выполнении рабочих алгоритмов ДУ, опросе состояния ДУ на каждом такте, сравнении состояния ДУ с эталонным и ветвлении в зависимости от исхода сравнения к выполнению следующего такта или сообщению о неисправности.
При реализации метода эталонных состояний средства тестового диагностирования представляют собой совокупность аппаратурных и программных средств.
Обобщенная схема системы диагностирования, реализующей метод эталонных состояний, приведена на рис. 16.
При представлении алгоритмов операций ЭВМ в виде графов каждому пути i из множества путей на графе можно поставить в соответствие последовательность состояний ЭВМ на каждом такте: Si0, Si1, ., Sil, . ,Sin,
|
|
где п—число вершин граф-схемы алгоритма, соответствующее числу тактов выполнения операции с конкретными условиями. Эталонной последовательностью состояний считается последовательность состояний Sil, l=0, 1, .,п, имеющих место при отсутствии ошибок.
Проверка выполняется путем сравнения реального состояния ЭВМ Sil на l-м такте i-го пути с эталонным Sэil.
Несовпадение Sil и Sэil является признаком неисправности.
Процедура диагностирования по методу эталонных состояний приведена на рис. 17.
Для реализации метода эталонных состояний средства тестового диагностирования должны иметь:
средства управления потактовой работой ЭВМ;
средства опроса состояния ЭВМ;
средства сравнения состояния с эталонным и средства сообщения о неисправности.
Обычно этот метод используется в тех случаях, когда средства тестового диагностирования имеют достаточно большие возможности. Например, этот метод может использоваться при диагностировании каналов с помощью процессора. Наибольшее применение этот метод находит в устройствах со схемной интерпретацией алгоритмов функционирования.
В силу неопределенности состояний некоторых триггеров каждому состоянию Sil может соответствовать некоторое подмножество состояний Silk, где k=0,1, ., т, т — множество неопределенных состояний. Поэтому обычно до сравнения с эталоном выполняется маскирование состояний. Маска снимает неопределенные состояния .
Обычно управление потактовой работой устройства и опрос состояния устройства выполняются с помощью команды ДИАГНОСТИКА, а сравнение с эталоном, маскирование и сообщение о неисправности—с помощью команд на программном уровне.
Команда ДИАГНОСТИКА адресует управляющее слово в ОП, которое поступает на вход диагностируемого устройства, как показано на рис. 8.18. Сочетание бит управляющего слова обеспечивает продвижение тактов, а также опрос состояния и запись его в ОП.
Остальные операции, такие как маскирование состояния с целью исключения неопределенных бит, сравнение его с эталонным состоянием и сообщение о неисправности, выполняются программой диагностирующего устройства.
6. МЕТОД ДИАГНОСТИРОВАНИЯ С ПОМОЩЬЮ СХЕМ ВСТРОЕННОГО КОНТРОЛЯ.
Этот метод характеризуется тем, что объектом элементарной проверки является сменный блок, а средствами функционального диагностирования являются схемы встроенного контроля (СВК), конструктивно совмещенные с каждым) сменным блоком.
На рис. 19 показаны диагностируемое устройство и схемы встроенного контроля, образующие самопроверяемый сменный блок. Наибольшая вероятность правильного диагностирования достигается при полной проверяемости ДУ и самопроверяемости СВК.
Поэтому здесь приводится только определение полной проверяемости ДУ.
Рис. 19 Самопроверяемый сменный блок.
Диагностируемое устройство называется полностью проверяемым, если любая его неисправность заданного класса обнаруживается СВК в момент ее первого проявления на выходных устройствах .
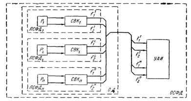
Рис 20 Структура системы диагностирования, использующей схемы встроенного контроля
Требование полной проверяемости. ДУ и самопроверяемости СВК приводит к значительным аппаратурным затратам, что ограничивает применяемость данного метода устройствами, реализованными в основном на больших интегральных микросхемах.
На рис. 20 приведена структура системы функционального диагностирования. Локальными средствами функционального диагностирования ЛСФД являются самопроверяемые СВК с парами выходов fi1, fi2, приданные каждому сменному блоку Бi общим средством функционального диагностирования ОСФД—устройство анализа и индикации УАИ. Назначением последнего является синхронизация сигналов ошибок от сменных блоков с учетом их связей, предотвращение возможной неоднозначности индикации из-за распространения сигналов ошибок и однозначная индикация неисправного блока.
Достоинством метода диагностирования с помощью схем встроенного контроля является практически мгновенное диагностирование сбоев и отказов, сокращение затрат на локализацию перемежающихся отказов и на разработку диагностических тестов.
7. МЕТОД ДИАГНОСТИРОВАНИЯ С ПОМОЩЬЮ САМОПРОВЕРЯЕМОГО ДУБЛИРОВАНИЯ.
Этот метод аналогичен предыдущему, так как он тоже основан на принципе самопроверяемости сменных блоков. Разница состоит в том, что самопроверяемость сменных блоков достигается введением в него дублирующей аппа-
