Исследование систем возбуждения эксимерных лазеров на основе LC-контура
Рис.1
этом случае вся энергия запасенная в С1 переходит в обостритель С0, причем именно в таком режиме обеспечивается как правило максимальный К.П.Д. лазера [14].
Нами была создана компьютерная программа расчета холостого и рабочего режимов работы системы возбуждения на основе LC-контура. По расчетной схеме на рис.1,б была составлена следующая система уравнений:
(1)
![]()
гдеI1, I2, Ir– токи через соответствующие элементы (рис.1,б); U1 – напряжение на емкости C1; U0– напряжение на емкости C0; Ue – разность потенциалов на емкости Ce; U – напряжение на лазерных электродах; Rk – сопротивление разрядников.
В расчетной схеме (рис.1,б) введена межэлектродная емкость Ce, сопротивление разряда R(t) и собственная индуктивность разряда LS. Эти три величины моделируют импеданс разряда. Напряженность электрического поля ![]()
в разряде имеет две составляющие.
(2)
Первое слагаемое в (2) является напряженностью электростатического поля, обусловленного зарядами. Второе слагаемое вызвано переменным магнитым полем. В квазистационарном прибижении вектор потенциал
определяется токами протекающими в системе, поэтому второе слагамое зависит от скорости изменения токов и можно записать
(3)
Зависимость сопротивления разряда от времени задавалась в следующем виде
(4)
Такая зависимость сопротивления разряда от
времени получается в случае, если плотность электронов n удовлетворяет следующему уравнению.
(5)
Где
– эффективная частота ионизации; β – коэффициент рекомбинации. Решение уравнения (5) при начальном условии n(0)=np(начальная концентрация электронов, то есть созданная предыонизацией) имеет следующий вид
(6)
где -
стационарная концентрация электронов, достигаемая за достаточно большой промежуток времени. Эффективная частота ионизации зависит от ионизационного коэффициента α и дрейфовой скорости электронов Vd следующим образом.
(7)
Представим ионизационный коэффициент a в форме Таунсенда.
(8)
Дрейфовую скорость электронов в следующем виде.
(9)
Тогда на основании выражений (7-8) имеем
(10)
Где Р – давление газа. То есть, в общем случае (при μР
const) частота ионизации зависит от давления газа Р и отношения Е/P. Поэтому, при получении решения уравнения (5) в форме (6), подразумевалось, что величины Р и Е/P постоянны. Удельное сопротивление плазмы ρ равно
(11)
На основании (6 и 11) имеем
(12)
где
- начальное удельное сопротивление (соответствует концентрации электронов np ;
- стационарное удельное спротивление (соответствует концентрации электронов
). Тогда в выражении (4)
; (13)
(14)
где l расстояние между электродами; S площадь, занимаемая разрядом на электроде. Таким образом выражение (4) строго выполняется только при постоянном Е/P. Однако, оно успешно применятся для аппроксимации разрядного сопротивления. Это связано с тем, что сопротивлении разрядной плазмы очень быстро ~ 20 нс выходит на некоторый практически постоянный уровень. На этом уровне скорость ионизационные процессы практически равна нулю (первый член в правой части уравнения (5) обращается в ноль) и происходит медленная рекомбинация плазмы по уравнению
(15)
Решение этого уравнения при начальном условии n(0)=n0 имеет вид
(16)
На основании (11-16) сопротивление разрядного промежутка меняется медленно по закону
(17)
Этим изменением мы пренебрегаем.При расчетах величина R1 бралась в пределах 2-10 кОм; R0 ~ 0.1 Ом; a ~ (1
100)x107, Rk ~ (0,1
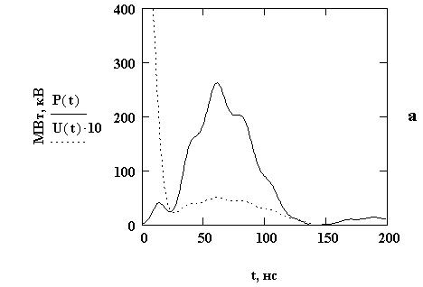
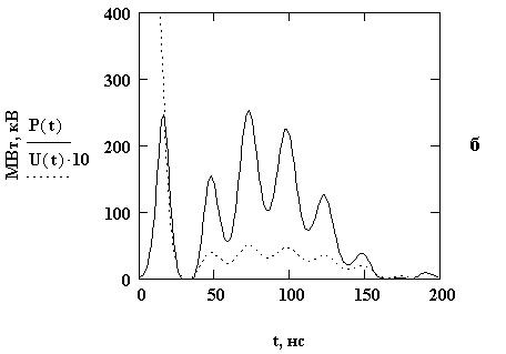
1) Ом в зависимости от числа используемых разрядников. При этом обеспечивалось наилучшее совпадение экспериментальных и расчетных осциллограмм. На рис.2-6 представлены расчетные осциллограммы напряжения U(t) на межэлектродном промежутке и мощности P(t) энерговклада в разряд, полученные в результате численного решения системы уравнений (1) при помощи стандартных программ MathCard 7. Расчетные осциллограммы (рис.2-7) будут проанализированы детально при обсуждении экспериментальных данных, полученных при тех же параметрах системы возбуждения. На рис.6 показана зависимость мощности энерговклада от времени при двух разных значениях сопротивления коммутатора Rk Уменьшение сопротивления Rk в целом спосоствует росту мощности энерговклада. На рис.7 предаставлены осциллограммы импульсов напряжения(U) и разности потенциалов (Ue) на разрядном промежутке. Они получены при разных L0 и LS, но L0+LS=const. При этом импульс напряжения на разряде не меняется, а импульс разность потенциалов меняется. На практике, при использовании делителя напряжения мы
Расчетные осциллограммы
![]() |
![]() |


