Исследование систем возбуждения эксимерных лазеров на основе LC-контура
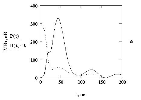
а - L1=11 нГн; б – L1=23 нГн;
С1=75 нФ; С0=3,6 нФ; U0=40 кВ; Rk=0,3 Ом; L0=5 нГн; LS=1 нГн
Рис.2
Расчетные осциллограммы
![]() |
![]() |
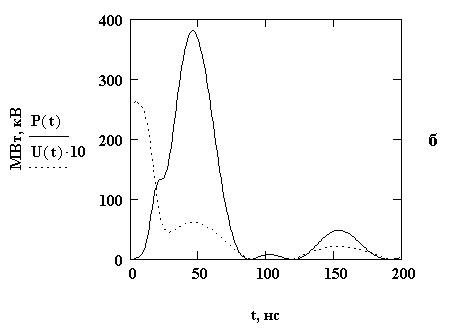
а - L1=11 нГн; б – L1=23 нГн;
С1=75 нФ; С0=15 нФ; U0=40 кВ; Rk=0,3 Ом; L0=5 нГн; LS=1 нГн
Рис.3
Расчетные осциллограммы
![]() |
![]() |
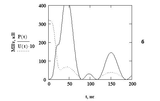
а - L1=11 нГн; б – L1=23 нГн;
С1=75 нФ; С0=37 нФ; U0=40 кВ; Rk=0,3 Ом; L0=5 нГн; LS=1 нГн
Рис.4
Расчетные осциллограммы
![]() |
![]() |
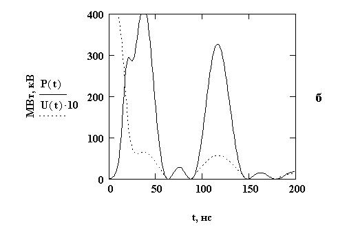
а - L1=11 нГн; б – L1=23 нГн;
С1=75 нФ; С0=70 нФ; U0=40 кВ; Rk=0,3 Ом; L0=5 нГн; LS=1 нГн
Рис.5
Расчетные осциллограммы
![]() |
![]() |
а - Rk=0,9 Ом; б - Rk=0,6 Ом;
С1=75 нФ; С0=70 нФ; U0=40 кВ; L1=23 нГн; L0=5 нГн; LS=1 нГн
Рис.6
Расчетные осциллограммы
![]() |
![]() |
а - L0=5 нГн; LS=1 нГн; б – L0=3 нГн; LS=3 нГн; С1=75 нФ;
С0=70 нФ; L1=11 нГн; U0=40 кВ; Rk=0,3 Ом
Рис.7
измеряем импульс разности потенцилов на разряде. Поэтому расчетные осцилограмы сравнивались с экспериментальными и определялись значения параметров схемы замещения разрядного промежутка (рис.1,а).
1.2. Экспериментальное исследование систем возбуждения
на основе LC-контура
Исследования проводились на эксимерном электроразрядном лазере, излучатель и система предыонизации активной среды которого выполнены аналогично описанным в [14] и представлены на рис.8. Излучатель представлял собой диэлектрическую разрядную камеру, внутри которой располагались профилированный цельнометаллический анод (А), сетчатый катод (К) и электрод предыонизации (ЭП). Предыонизация активной среды в межэлектродном промежутке (МП) осуществлялась излучением разряда из-под сетчатого катода при подаче импульса высокого напряжения на электрод предыонизации. Такое расположение системы предыонизации позволило максимально приблизить источник ионизирующего излучения к зоне основного разряда и достичь однородного распределения начальных электронов в МП. Основной разрядный объем составлял 115х3,5х2 см3 (ширина разряда 2 см). На торцах разрядной камеры располагался резонатор лазера, который был образован плоским зеркалом с Al-покрытием и плоскопараллельной кварцевой пластиной.
Возбуждение поперечного разряда осуществлялось системой возбуждения, выполненной по типу LC-контура (рис.1, рис.8). Разряд предыонизации возбуждался от отдельного LC-контура включающего Спр – накопительную емкость, Lпр – индуктивность в контуре предыонизации, РУ1 – коммутатор. Это позволяло регулировать задержку между предыонизацией и основным разрядом с помощью системы запуска разрядников РУ1 и РУ. Спр заряжалась от источника постоянного высокого напряжения через резисторы R3 и R4 до напряжения Uo. На рис.8 представлено сечение электрода емкостной предыонизации. Диэлектрик на электроде предыонизации представлял собой шестислойное лавсановое покрытие общей толщиной 0.3 мм. Отличительной особенностью предыонизации
Схема возбуждения электроразрядного эксимерного лазера
Рис.8
являлось то, что емкостной разряд зажигался на большой площади ~(100х3) см2. Этим компенсировалась меньшая по сравнению с сильноточной искрой эффективность образования ионизирующего излучения. Минимальный радиус кривизны поверхностей электрода составлял 5 мм. Рабочая поверхность электрода предыонизации находилась на расстоянии 3 мм от поверхности основного сетчатого электрода, причем это расстояние в ходе экспериментов могло изменяться от 1 до 6 мм. Разряд, обеспечивающий предыонизацию основного разрядного промежутка, возникал между сетчатым катодом (К) и поверхностью диэлектрика электрода предыонизации. Подача импульса напряжения на электрод предыонизации осуществлялась по четырем вводам, равномерно расположенным вдоль электрода предыонизации согласно электрической схеме, представленной на рис.8.
Исследования проводились на смеси НСl:Хе:Ne–1:15:3040, при общем давлении 4 атм. и зарядном напряжении до 40 кВ. Состав рабочей смеси и ее давление были выбраны после предварительной оптимизации.
На рис.9 представлена зависимость энергии от величины обострительной емкости, полученная при L1=11 нГн и L1=23 нГн Проанализируем расчетные осциллограмм (рис.2-5) соответствующие таким же параметрам системы возбуждения. Наибольшая величина энергии генерации ~ 0,7 Дж (L1=11 нГн) была достигнута при С0=3,6 нФ. Анализ расчетной осциллограммы (рис.2,а) показывает, что при указанных параметрах схемы возбуждения реализуется режим работы с автоматическим предымпульсом. Сначала на межэлектродном промежутке формируется высоковольтный импульс. При этом происходит формирование разряда. Затем при пониженном напряжении ~ 5 кВ происходит основной энерговклад в разряд. Наибольшая величина энергии генерации ~ 0,6 Дж (L1=23 нГн) была достигнута при С0=3,6 нФ и С0=70 нФ. При С0=3,6 нФ также формируется предыимпульс (рис.2,б) причем с мощным энерговкладом. При










