Исследование активных сред дазеров
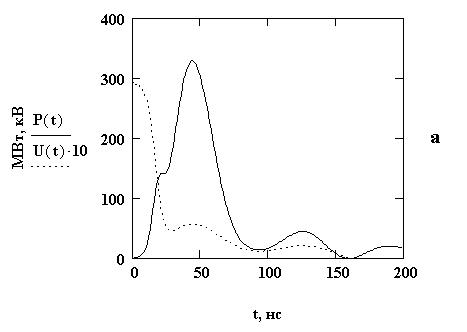
Расчетные осциллограммы
![]() |
![]() |
а - L1=11 нГн; б – L1=23 нГн;
С1=75 нФ; С0=3,6 нФ; U0=40 кВ; Rk=0,3 Ом; L0=5 нГн; LS=1 нГн
Рис.2
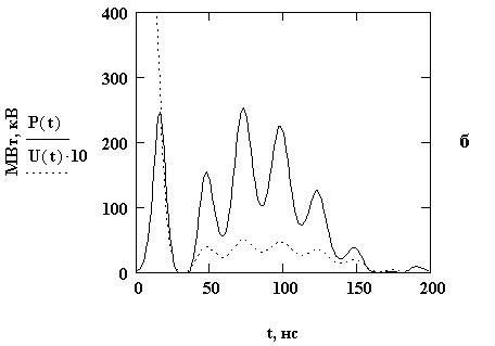
Расчетные осциллограммы
![]() |
![]() |
а - L1=11 нГн; б – L1=23 нГн;
С1=75 нФ; С0=15 нФ; U0=40 кВ; Rk=0,3 Ом; L0=5 нГн; LS=1 нГн
Рис.3
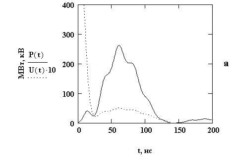
Расчетные осциллограммы
![]() |
![]() |
а - L1=11 нГн; б – L1=23 нГн;
С1=75 нФ; С0=37 нФ; U0=40 кВ; Rk=0,3 Ом; L0=5 нГн; LS=1 нГн
Рис.4
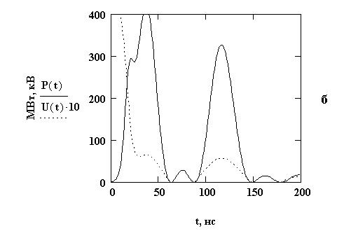
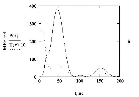
Расчетные осциллограммы
![]() |
![]() |
а - L1=11 нГн; б – L1=23 нГн;
С1=75 нФ; С0=70 нФ; U0=40 кВ; Rk=0,3 Ом; L0=5 нГн; LS=1 нГн
Рис.5
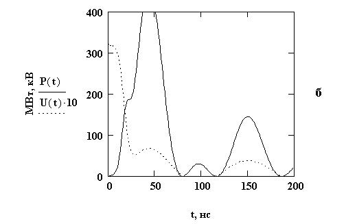
Расчетные осциллограммы
![]() |
![]() |
а - Rk=0,9 Ом; б - Rk=0,6 Ом;
С1=75 нФ; С0=70 нФ; U0=40 кВ; L1=23 нГн; L0=5 нГн; LS=1 нГн
Рис.6
межэлектродном промежутке и мощности P(t) энерговклада в разряд, полученные в результате численного решения системы уравнений (1) при помощи стандартных программ MathCard 7. Расчетные осциллограммы (рис.2-5) будут проанализированы детально при обсуждении экспериментальных данных, полученных при тех же параметрах системы возбуждения. На рис.6 показана зависимость мощности энерговклада от времени при двух разных значениях сопротивления коммутатора Rk Уменьшение сопротивления Rk в целом спосоствует росту мощности энерговклада. На рис.7 предаставлены осциллограммы импульсов напряжения(U) и разности потенциалов (Ue) на разрядном промежутке. Они получены при разных L0 и LS, но L0+LS=const. При этом импульс напряжения на разряде не меняется, а импульс разность потенциалов меняется. На практике, при использовании делителя напряжения мы измеряем импульс разности потенцилов на разряде. Поэтому расчетные осцилограмы сравнивались с экспериментальными и определялись значения параметров схемы замещения разрядного промежутка (рис.1,а).
1.2.2. Экспериментальное исследование систем возбуждения
на основе LC-контура
Исследования проводились на эксимерном электроразрядном лазере, излучатель и система предыонизации активной среды которого выполнены аналогично описанным в [14] и представлены на рис.8. Излучатель представлял собой диэлектрическую разрядную камеру, внутри которой располагались профилированный цельнометаллический анод (А), сетчатый катод (К) и электрод предыонизации (ЭП). Предыонизация активной среды в межэлектродном промежутке (МП) осуществлялась излучением разряда из-под сетчатого катода при подаче импульса высокого напряжения на электрод предыонизации. Такое расположение системы предыонизации позволило максимально приблизить источник ионизирующего излучения к зоне
Расчетные осциллограммы
![]() |
![]() |
а - L0=5 нГн; LS=1 нГн; б – L0=3 нГн; LS=3 нГн; С1=75 нФ;
С0=70 нФ; L1=11 нГн; U0=40 кВ; Rk=0,3 Ом
Рис.7
Схема возбуждения электроразрядного эксимерного лазера
Рис.8
основного разряда и достичь однородного распределения начальных электронов в МП. Основной разрядный объем составлял 115х3,5х2 см3 (ширина разряда 2 см). На торцах разрядной камеры располагался резонатор лазера, который был образован плоским зеркалом с Al-покрытием и плоскопараллельной кварцевой пластиной.
Возбуждение поперечного разряда осуществлялось системой возбуждения, выполненной по типу LC-контура (рис.1, рис.8). Разряд предыонизации возбуждался от отдельного LC-контура включающего Спр – накопительную емкость, Lпр – индуктивность в контуре предыонизации, РУ1 – коммутатор. Это позволяло регулировать задержку между предыонизацией и основным разрядом с помощью системы запуска разрядников РУ1 и РУ. Спр заряжалась от источника постоянного высокого напряжения через резисторы R3 и R4 до напряжения Uo.
На рис.8 представлено сечение электрода емкостной предыонизации. Диэлектрик на электроде предыонизации представлял собой шестислойное лавсановое покрытие общей толщиной 0.3 мм. Отличительной особенностью предыонизации являлось то, что емкостной разряд зажигался на большой площади ~(100х3) см2. Этим компенсировалась меньшая по сравнению с сильноточной искрой эффективность образования ионизирующего излучения. Минимальный радиус кривизны поверхностей электрода составлял 5 мм. Рабочая поверхность электрода предыонизации находилась на расстоянии 3 мм от поверхности основного сетчатого электрода, причем это расстояние в ходе экспериментов могло изменяться от 1 до 6 мм. Разряд, обеспечивающий предыонизацию основного разрядного промежутка, возникал между сетчатым катодом (К) и поверхностью диэлектрика электрода предыонизации. Подача импульса напряжения на электрод предыонизации осуществлялась по четырем вводам, равномерно расположенным вдоль электрода предыонизации согласно электрической схеме, представленной на рис.8.












