Исследование активных сред дазеров
Исследования проводились на смеси НСl:Хе:Ne–1:15:3040, при общем давлении 4 атм. и зарядном напряжении до 40 кВ. Состав рабочей смеси и ее давление были выбраны после предварительной оптимизации.
На рис.9 представлена зависимость энергии от величины обострительной емкости, полученная при L1=11 нГн и L1=23 нГн Проанализируем расчетные осциллограмм (рис.2-5) соответствующие таким же параметрам системы возбуждения. Наибольшая величина энергии генерации ~ 0,7 Дж (L1=11 нГн) была достигнута при С0=3,6 нФ. Анализ расчетной осциллограммы (рис.2,а) показывает, что при указанных параметрах схемы возбуждения реализуется режим работы с автоматическим предымпульсом. Сначала на межэлектродном промежутке формируется высоковольтный импульс. При этом происходит формирование разряда. Затем при пониженном напряжении ~ 5 кВ происходит основной энерговклад в разряд. Наибольшая величина энергии генерации ~ 0,6 Дж (L1=23 нГн) была достигнута при С0=3,6 нФ и С0=70 нФ. При С0=3,6 нФ также формируется предыимпульс (рис.2,б) причем с мощным энерговкладом. При С0=70 нФ (рис.5,б) сравнительно высокая энергия достигается за счет предымпульса и самой высокой мощности энерговклада по отношению к остальным рассмотренным случаям. Таким образом, наибольшая энгергия генерации достигается при реализации режима работы LC-контура с автоматическим предымпульсом.
1.3. Исследование систем возбуждения эксимерных лазеров
на основе LC-инвертора
1.3.1. Компьютерное моделирование систем возбуждения эксимерных лазеров на основе LC-инвертора
Как система возбуждения, LC-инвертор (рис.10) включает накопитель энергии на С1 и С2, которые от источника постоянного высокого заряжались до напряжения Uo. После срабатывания коммутатора Rk, в качестве которого использовались управляемые разрядники РУ-65, через L2 происходила
Зависимость энергии генерации от величины обострительной емкости
![]() |
1 - L1=11 нГн; 2– L1=23 нГн;
С1=75 нФ; U0=40 кВ; Rk=0,3 Ом; L0=5 нГн; LS=1 нГн
Рис.9
Расчетная схема LC-инвертора
![]() |
С2,С1– накопительные емкости; С0 обострительная емкость; L1, L2 и L0 – контурные индуктивности; Сe - межэлектродная емкость; R(t) –сопротивление междуэлектродного промежутка; LS – собственная индуктивность разряда; I0, I1, I2, Ir– токи через соответствующие элементы; U0 – напряжение на емкости C0; U1 – напряжение на емкости C1; U2– напряжение на емкости C2; Ue – разность потенциалов на емкости Ce; U – напряжение на лазерных электродах; Rk – сопротивление разрядников.
Рис.10
инверсия напряжения на С2, и через индуктивность L1 осуществлялась зарядка обострительной емкости С0 до напряжения, близкого к двойному зарядному. Нами была создана компьютерная программа расчета холостого и рабочего режимов работы системы возбуждения на основе LC-инвертора. По расчетной схеме на рис.10 была составлена следующая система уравнений:
(18)
![]()
где, I0; I1, I2, Ir– токи через соответствующие элементы (рис.10); U1 – напряжение на емкости C1; U2 – напряжение на емкости C2; U0– напряжение на емкости C0; Ue – разность потенциалов на емкости Ce; U – напряжение на лазерных электродах; Rk – сопротивление разрядников.
В расчетной схеме (рис.10) введена межэлектродная емкость Ce, сопротивление разряда R(t) и собственная индуктивность разряда LS. Эти три величины моделируют импеданс разряда. Зависимость сопротивления разряда от времени задавалась в виде (4).
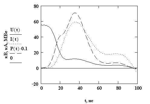
На рис.11 представлены расчетные типичные осциллограммы, полученные при использовании зарядного напряжения U0= 40 кВ. Эти
Расчетные осциллограммы
![]() |
а
![]() |
б
а – С0=44 нФ; б – С0=3,6 нФ;
С1=180 нФ; С2=50 нФ; L0=3,5 нФ; L1=7,5 нГн; L2=20 нГн; LS=1 нГн;
Rk=0,3 Ом;
Рис.11
осциллограммы использовались для анализа экспериментальных результатов по зависимости энергии генерации от параметров системы возбуждения.
1.3.2. Экспериментальное исследование систем возбуждения
на основе LC-инвертора
Исследования проводились на электроразрядном эксимерном лазере излучатель и система предыонизации которого идентичны, описанным в 1.2.2. (рис.8). Обострительная емкость С0 была подключена к электродам лазера с минимально возможной для данной конструкции лазера индуктивностью L0. В процессе экспериментов величины L2 и L0 были сведены к минимуму, который позволяла конструкция лазера, и составляли 7 и 3,5 нГн соответственно. Величина L1 определялась из осциллограмм напряжения холостого хода на С0. Для исключения зажигания основного разряда разрядная камера в этом случае заполнялась азотом и отключалась предыонизация. Величина L0 определялась из осциллограмм разрядного тока в контуре L0С0. Исследования проводились на смеси НСl:Хе:Ne–1:15:3040, при общем давлении 4 атм. и зарядном напряжении до 40 кВ.
На рис.12 представлена зависимость энергии генерации от величины обострительной емкости С0. Величина L2=20 нГн; С2=50 нФ; С1=180 нФ. Наибольшая величина энергии генерации составила 0,8 Дж. и была достигнута при С0=44 нФ. В этом случае в LC-инверторе происходит фактически полная перезарядка накопительных емкостей на обострительную.
Из расчетной осциллограммы на рис.11,а видно, что в этом случае импульс напряжения на лазерных электродах состоит из высоковольтного предымпульса ~ 60 кВ и относительно медленно меняющейся составляющей ~ 10 кв. При С0=3,6 нФ величина энергии генерации была минимальна ~ 0,4 Дж. Уменьшение энергии генерации можно объяснить тем, что существенно уменьшилась мощность энерговклада и импульс напряжения на лазерных электродах стал менее гладким (рис.11,б).




