Исследование системы возбуждения электроразрядного эксимерного лазера выполненной по типу LC-инвертора
Расчет производился для эксимерного электроразряного лазера, описанного в [10]. На рис.3 представлена его принципиальная электрическая схема. Излучатель представляет собой диэлектрическую разрядную камеру, внутри которой располагается профилированный цельнометаллический анод (А), сетчатый катод (К) и электрод предыонизации (Э). Предыонизация активной среды в межэлектродном промежутке (МП) осуществлялась излучением емкостного разряда из-под сетчатого катода при подаче импульса высокого напряжения на электрод предыонизации. Такое расположение системы предыонизации позволяет максимально приблизить источник ионизирующего излучения к зоне основного разряда и достичь однородного распределения начальных электронов в МП. Основной разрядный объем составляет 90х3,5х2 см3 (ширина разряда 2 см). На торцах разрядной камеры располагается резонатор лазера, который образован плоским зеркалом с Al-покрытием и плоскопараллельной кварцевой пластиной. Возбуждение поперечного разряда осуществляется системой, выполненной по типу LC-инвертора, принципиальная схема которой также представлена на рис.3. Она включает НЕ С1 и С2, которые от источника постоянного высокого напряжения через резистор R заряжались до напряжения Uo. После срабатывания коммутатора РУ, в качестве которого используется управляемые разрядники РУ-65, через L2 происходит инверсия напряжения на С2, и через индуктитвность L1 осуществляется зарядка обострительной емкости (ОЕ) Со до напряжения, близкого к двойному зарядному. ОЕ Со подключена к электродам лазера с минимально возможной для данной конструкции индуктивностью Lо. Разряд предыонизации возбуждаетя от отдельного LC-контура включающего Спр – накопительную емкость, Lпр – индуктивность в контуре предыонизации, РУ1 – коммутатор. Спр заряжается от источника постоянного высокого напряжения через резисторы R3 и R4 до напряжения Uo. Энергия генерации измерялась калориметром ИМО-2Н, а напряжение на Со, ток разряда, форма и длительность импульса генерации - осциллографом 6ЛОР-04 с помощью резистивного делителя Д (R1-R2), поясов Роговского ПР1 и ПР2 и вакуумного фотодиода ФЭК-22СПУ. Эксперименты, результаты которых представлены ниже, проведены на рабочей смеси Nе: Хе: НС1 (3040:22,5:1,5) при давлении 4 атм. и зарядном напряжении Uо = 38 кВ.
![]() |
Рис.3. LC-инвертор.
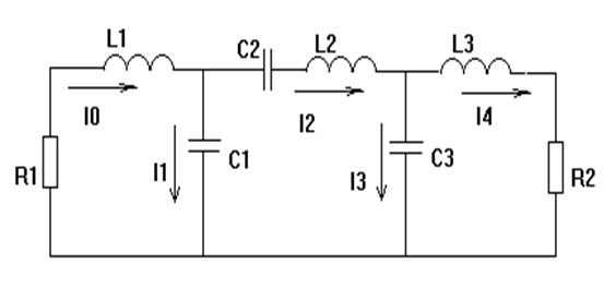
Найдем токи и напряжения в режиме холостого хода (рис.5). Для этого запишем уравнения Киргоффа для двух контуров (рис.5).
![]() |
Рис.4. Упрощенная схема LC-инвертора.
![]() |
(30)
Уравнения (30) перепишем в виде
(31)
Исходя из выбранного направления токов (рис.4) можно записать следующее уравнение:
(32)
Продифференцируем его по времени:
(33)
Значения производных токов I0 и I2 из (31) подставим в (33):
![]()
+
) (34)
Используем тот факт, что
(35)
а так же учтем, что
(36)
В итоге получим систему из 6 дифференциальных уравнений
![]()
+
(37)
В системе (37) под сопротивлением понимается сопротивление коммутатора. Очевидно, оно не является величиной постоянной во времени. Зададим сопротивление коммутатора таким образом, что за время порядка 20-30нс оно изменяется от 10 Ом до 0.2 Ом:
(38)
Продифференцируем полученное выражение и добавим его в систему (37)
(39)
Задачу нахождения токов I0-I2 и напряжений U1-U3 будем решать при следующих начальных условиях:
(40)
Используя аналогичную методику, решим задачу для полной схемы LC-инвертора (рис.4) . В итоге получим систему из 8 дифференциальных уравнений для нахождения токов I0-I4 и напряжений U1-U3:
(41)
Где под R2 подразумевается сопротивление разрядного промежутка. Очевидно, что R2
const. Далее будем считать, что сопротивление разрядного промежутка меняется по закону:
(42)
Параметры R0, Rn и а будут оптимизированы в процессе расчета.
Продифференцируем последнее уравнение по времени:
(43)
Кроме последнего выражения добавим в систему (41) уравнение для нахождения вложенной в разрядный промежуток энергии
(44)
Дифференцируя, получим:
(45)
В итоге получим систему, состоящую из 11 дифференциальных уравнений:
(46)
Систему уравнений (40) будем решать при следующих начальных условиях:
(47)



