Отчет о первой технологической практике на Опытном заводе ЛучРефераты >> Технология >> Отчет о первой технологической практике на Опытном заводе Луч
Заготовка обрабатывается до полного удаления стали с минимальным объемом хрома.
16. Сутунка после разметки на необходимый размер подвергается резке на отрезном ножовочным станке типа М-872А. В качестве смазочно-охлаждающей жидкости применяется эмульсия.
17. Технологическое плакирование заготовки.
С целью исключения разрушения при прокатке заготовка заключается в оболочку из стали 10;20. Для этого стальная труба длиной на (40 50) мм больше сутунки, имеющая периметр, превышающий периметр сутунки на (15 20)%, сплющивается до заданного размера.
Для предотвращения схватывания заготовки из хрома с оболочкой на внутреннюю полость оболочки и на поверхность заготовки наносится кисточкой слой мела. Для равномерного нанесения мелового слоя приготавливается водо-меловая смесь. Для этого в воду насыпается порошок мела при постоянном помешивании до получения сметанообразной массы, которая наносится на поверхности. После высушивания на воздухе мелового покрытия заготовка заключается в стальную оболочку.
![]() |
Рис.5
Заготовка в технологической плакировкой перед прокаткой.
1.Оболочка.
2.Сутунка из хрома.
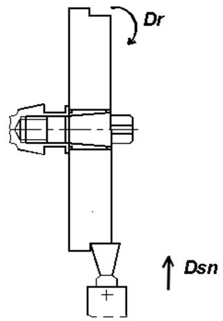
18. Прокатка.
Перед прокаткой заготовки должны быть нагреты в печи элоктро-сопртивления до температуры не ниже 9000С. Прокатка заготовок осуществляется с частной деформацией (20 30)%.
Толщина прокатываемой заготовки контролируется штангенциркулем типа МЦ-1,а длина и ширина- металлической линейкой. Время нагрева контролируется с точностью до 1 минуты часами любой марки. Измерение температуры заготовки осуществляется термоэлектрическим термометром в комплекте с потенциометром ПП-63. Катаные пластины перед удалением оболочки отжигаются при температуре (900 950)0С с выдержкой 30 минут.
19. Удаление оболочки химической обработкой.
Удаление химической обработкой в растворе кислот (азотной и ортофосфорной в соотношении 1:1).
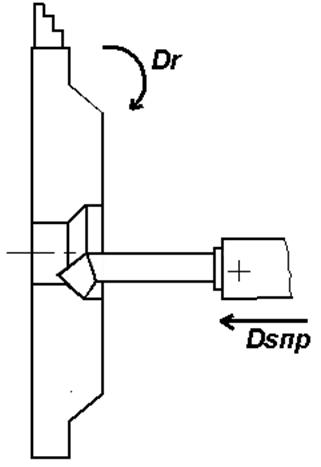
20. Правка.
Правка осуществляется на гидравлическом прессе типа ПА-653 с применением двух плит с насечкой на рабочей поверхности глубиной 0,3 мм и шагом 0,5 мм.
Правка осуществляется в следующей последовательности.
Рабочие поверхности плит смазываются коллоидно-графитовым препаратом типа ЭЛП-В, просушиваются на воздухе. Плиты загружаются в электропечь сопротивлением типа Н-30 и нагреваются до температуры (450 500)0С, а заготовка нагревается в печи Н-15 до температуры 8000С выдерживается в течение 10-15 минут, после чего выгружается и охлаждается на воздухе.
21. Механическая обработка пластин (листов).
22.
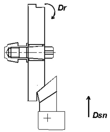
В начале из пластины вырубается диск диаметром на (2 4)мм больше диаметра готовой мишени. Механическая обработка пластин на заданный размер мишени-диска производится на токарном станке типа 1К-62 в следующей последовательности. Затем, зажимая в патроне, обрабатываются плоскости до заданной толщины подрезным резцом.
После этого выполняется сквозное отверстие в центре диска
Затем, закрепив в цанговой оправке, выполняется обработка по наружному диаметру:
-прямым проходным резцом
-
прорезным резцом
-
короткую коническую поверхность широким резцом
После этого ,зажимая в патроне, в центрах диск обрабатывается по диаметру на заданный размер.
-проходным расточным резцом
-упорным резцом
-широким резцом с наклонным движением подачи резцов, при повороте верхнего суппорта
После снятия окисленного слоя с плоскости осуществляется отбор проб на химический анализ.
23. Контроль геометрических размеров, качества поверхности.
Контроль геометрических размеров осуществляется: диаметр контролируется штангенциркулем типа ШЦ-1, модель 195, толщина- микрометром 0-25мм типа МК, модель 102. Качество поверхности контролируется визуально.
К операциям финишной обработки относятся:
- удаление наждачной бумагой дефектов на выводящие размеры мишеней за допуск;
- химическая обработка мишеней травлением в растворе соляной кислоты концентрации (15 20)% (масс),
- обезжиривание в водном растворе стирального порошка любого состава.
24. Упаковка.
Составляется этикетка, где указывается материал мишени, партия, диаметр, толщина, материал плиты-держателя (если она имеется) и дата изготовления.
Обезжиренную, промытую мишень вкладывают в полиэтиленовый пакет, заваривают и предъявляют заказчику.

