Обслуживание и ремонт электромагнитных пускателейРефераты >> Технология >> Обслуживание и ремонт электромагнитных пускателей
ЭКСПЛУАТАЦИЯ ПУСКАТЕЛЕЙ
1. ОБЩИЕ СВЕДЕНИЯ
Для предотвращения быстрого износа и отказов, поддержания в постоянной готовности к использованию по назначению, обеспечения безопасной работы в условиях шахт проводится техническое обслуживание (ТО) пускателей. Виды и регламенты технического обслуживания и испытаний определены Правилами безопасности в угольных и сланцевых шахтах (ПБ) и Положением о планово-предупредительной системе технического обслуживания и ремонта оборудования угольных и сланцевых шахт Министерства угольной промышленности СССР (Положение о ППР). Пускатели в процессе эксплуатации должны периодически осматриваться:
а) лицами, работающими на технологических машинах и механизмах, а также дежурными электрослесарями участка — еже сменно;
б) механиками участков или лицами, их замещающими — еженедельно;
в) главным энергетиком (главным механиком) шахты или назначенными им лицами — не реже 1 раза в 3 мес.
По графику, утверждаемому главным инженером шахты, а также перед спуском в шахту специальной группой электрослесарей под контролем главного энергетика (главного механика) шахты или лица, им назначенного, пускатели подвергаются ревизии и проверке на взрывобезопасность в соответствии с Инструкцией по осмотру и ревизии рудничного взрывобезопасного электрооборудования с занесением результатов в книгу регистрации состояния электрооборудования и заземлений. Перед спуском в шахту такую проверку производят в мастерской на поверхности. Максимальная токовая защита пускателей до присоединения ее к сети и при эксплуатации должна подвергаться проверке в соответствии с Инструкцией по проверке максимальной токовой защиты шахтных аппаратов.
Проверку уставок защиты производят перед спуском в шахту, перед вводом пускателя в эксплуатацию, если с момента проверки на поверхности прошло более двух недель, и во время эксплуатации — не реже 1 раза в 6 мес. Результаты проверки оформляют соответствующим протоколом или заносят в журнал результатов проверки максимальной токовой защиты шахтных электрических аппаратов.
Проверку защиты в подземных выработках шахт, опасных по газу, должна производить специализированная бригада, а в шахтах, опасных по внезапным выбросам угля и газа, бригада наладочной организации.
К работам по устранению отдельных неисправностей и отказов, возникающих при использовании по назначению электромагнитных пускателей, относятся неплановые текущие ремонты (ТР), которые выполняют дежурные или ремонтные электрослесари при участии машинистов технологических машин и их помощников. Эти работы могут выполнять также специальные подразделения заводов — изготовителей пускателей.
2. ТЕХНИЧЕСКОЕ ОБСЛУЖИВАНИЕ ПЕРЕД СПУСКОМ ПУСКАТЕЛЕЙ В ШАХТУ
Перед спуском в шахту пускатели подлежат ревизии и проверке на взрывобезопасность.
При получении пускателя со склада необходимо проверить комплектность поставки, т. е. наличие (кроме пускателя) паспорта, технического описания и инструкции по эксплуатации, запасных частей и специального инструмента. Затем проводят расконсервацию пускателя, освобождая подвижную часть контактора (удаляя клин) и снимая смазку со стыка магнитной системы. Расконсервацию и ревизию пускателя в дальнейшем следует проводить в мастерской в сухом помещении при температуре не ниже +12° С и относительной влажности 70%.
Ревизию пускателя на поверхности следует производить тщательно, так как в условиях эксплуатации в подземных выработках шахт работу по ревизии и устранению неисправностей выполнять значительно сложнее.
После расконсервации начинают ревизию пускателя. Путем внешнего осмотра убеждаются в отсутствии повреждений взрыво-безопасной оболочки, вводных устройств, рукоятки блокировочного разъединителя, смотровых окон, механической блокировки, наружных заземляющих зажимов, а также наличии специальных заглушек и резиновых колец в кабельных вводах. Подробный перечень операций по ревизии и соответствующие требования к ним приведены в разд. 3.4.
Сопротивление изоляции пускателя напряжением до 660 В измеряют мегомметром на 1000 В, а напряжением 1140 В — мегомметром на 2500 В. При этом измеряют сопротивление между каждой фазой и корпусом пускателя, а также между фазами. Сопротивление изоляции нового пускателя должно быть не менее соответственно 10 и 20 МОм.
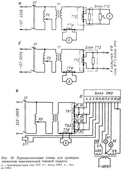
При измерении блоки управления и защиты должны быть отключены во избежание пробоев полупроводниковых элементов. Опробование пускателя под напряжением следует выполнять на специальных стендах, которые могут быть изготовлены в каждой мастерской шахты. Особое внимание при этом должно быть уделено полной проверке максимальной токовой защиты. С этой целью отключают провода между одним из трансформаторов тока и блоком защиты, собирают испытательную схему (рис. 19, а) и устанавливают сопротивление нагрузки (при проверке защиты УМЗ и ПМЗ соответственно 180 и 78 Ом). Регулятором РУ устанавливают первичное напряжение трансформатора Т1. Затем включают автомат и с помощью регулятора устанавливают первичный ток (по амперметру А) испытуемого трансформатора тока, равный шести- кратному номинальному току пускателя. Для ПМЗ, соответствующему последней уставке, напряжение на сопротивлении нагрузки /?н должно быть 66+1,5 В. При отклонении от этой нормы, что указывает на неисправность вторичной обмотки трансформатора тока или залитого вместе с ним эпоксидной смолой шунтирующего резистора, блок трансформатора тока должен быть заменен. Так же проверяют другой трансформатор тока, затем оба блока трансформаторов тока присоединяют к блоку защиты. Для измерения напряжения применяют вольтметры класса точности 0,5—1,5 с входным сопротивлением не менее 0,5 кОм/В.
Измерения тока следует выполнять с помощью лабораторного трансформатора тока и амперметра с верхними пределами измерения 5—10 А и классом точности 0,5—1,5. Фактические токи уставок срабатывания проверяют по испытательной схеме (рис. 19, б), к которой вместо нагрузочного сопротивления подключают входы блока УМЗ. Секции блока УМЗ (второй силовой фазы) испытыва-ются поочередно. Тумблеры блока должны находиться в положении «Работа». На испытуемой секции блока УМЗ устанавливают уставку тока срабатывания, а регулятором — минимальное выходное напряжение. Включают выключатель и с помощью регулятора плавно повышают первичный ток трансформатора ТТЗ до срабатывания исполнительного реле блока УМЗ (определяется по характерному щелчку). Оставив рукоятку РУ в том же положении, отключают выключатель, взводят контактную группу блока УМЗ и повторно включают выключатель, т. е. толчком подают первичный ток. Если при этом реле УМЗ не срабатывает, то проверку повторяют, снижая первичный ток и затем плавно увеличивая его до момента срабатывания блока УМЗ. Проверка должна быть произведена не менее 3 раз.
Вычисляют среднее значение (/ср) фактического первичного тока срабатывания блока УМЗ. Аналогичным образом проверяют срабатывание блока УМЗ при максимальной и средней (по шкале) уставках. Считается, что таким образом проверяется вся шкала уставок блока УМЗ. Так же проверяют и вторую секцию блока УМЗ.
