Технология изготовления детали ГоловкаРефераты >> Технология >> Технология изготовления детали Головка
Проектирование технологического процесса, выбор средств оснащения, контроля, испытаний зависит от типа производства.
Согласно ГОСТ 3.1108-79 ЕСТД тип производства характеризуется коэффициентом закрепления операций:
О
Кз.о. = ,
Р
где О – количество различных операций;
Р – количество рабочих для выполнения различных операций.
Значение Кз.о. принимается для планового периода, равного одному месяцу, следующих типов производства:
1) массового Кз.о.= 1;
2) крупносерийного 1 < Кз.о.< 10;
3) среднесерийного 10 < Кз.о.< 20;
4) мелкосерийного 20 < Кз.о.< 40.
На ранних стадиях проектирования технологического процесса и при использовании изделий – аналогов можно применять другую методику расчета коэффициента закрепления операций:
Тв
Кз.о. = ,
tшт.ср.
где Тв – такт выпуска;
tшт.ср. – среднее штучное время для выполнения операции
обработки, сборка единицы продукции.
Такт выпуска рассчитывается по формуле:
60 ×Fд
Тв = (мин/шт),
N
где Fд – действительный годовой фонд времени работы станка или
рабочего места;
N – годовая программа выпуска изделия.
Для серийного производства в технологическом процессе необходимо рассчитать размер партии одновременно запускаемых в производство изделий:
N×a
Пп = (шт),
F
Где N – годовая программа выпуска деталей;
а – количество дней, на которые необходимо иметь запас деталей;
F – количество рабочих дней в году.
В некоторых конструкциях детали повторяются в различных количествах, поэтому тип производства следует определять для каждой детали отдельно.
Производство делится на единичное, серийное и массовое в зависимости от программы выпуска.
Серийное производство предусматривает изготовление изделий серийными партиями. Серийное производство характеризуется следующим: операции закрепляются за определенным оборудованием, частично используется универсальная оснастка и частично специальная, применяется групповой метод обработки деталей и узлов; не требуется высокая квалификация рабочих; возможна механизация процесса; снижается себестоимость изделия, в наличии межоперационные склады.
4 Выбор метода изготовления детали
Деталь «Головка» изготавливается из латуни ЛС 59 – 1 методом холодной объемной штамповки (холодной высадки). Латунь достаточно пластичный материал и хорошо поддается обработке данным методом. Холодная высадка производится на холодновысадочном автомате АА1219. Данный метод обеспечивает 14 квалитет.
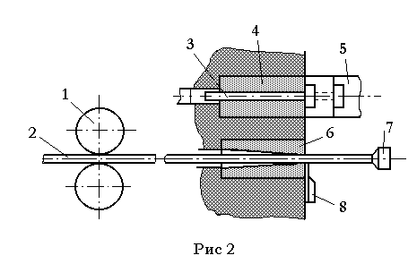
Пруток латуни (2) (Рис 2) длиной 6 метров подается прерывисто вращающимися желобчатыми роликами (1) через отверстие отрезной матрицы (6) до упора (7). При движении ножа (8) штучная заготовка отрезается от прутка и специальным захватом переносится на ось штамповки. При движении пуансона (5) к матрице (4) заготовка заталкивается в нее до упора в выталкиватель (3), после чего высаживается головка изделия. При обратном ходе пуансона выталкиватель выбрасывает высаженное изделие из матрицы.
После формовки в детали сверлятся сквозное осевое отверстие и два перпендикулярных оси. Сверление производится на сверлильном станке модели 2212 спиральными сверлами из быстрорежущей стали.
Далее на токарно-винторезном станке модели Т-4 производится снятие торцевых фасок с помощью подрезного–отогнутого резца (ГОСТ10224-62) и рифление накатным роликом с шагом накатки 0,6мм.
5 Определение размеров заготовки
При проектировании процесса изготовления детали важным вопросом является выбор наиболее рациональной заготовки. От выбора заготовки, т.е. установления метода ее получения, формы, величины припусков и т.д. зависит объем последующей механической обработки и все последующие трудовые и финансовые затраты на изготовление заготовок, приближение их по форме и размерам к готовым деталям. В машиностроении применяются в качестве заготовок: отливки, поковки, штамповки, сортовой прокат. Механические свойства отливок, поковок и штамповок значительно отличаются друг от друга, поэтому при проектировании вид заготовки каждой детали определяется конструктором по согласованию с технологами механических и заготовительных цехов. В ряде случаев, когда можно применять различные виды заготовок, выгоднейшее решение получают путем составления себестоимости конкурирующих вариантов. Выбор заготовки зависит от материала, размеров и формы детали, условий работы деталей в изделии, а так же масштаб производства.
В качестве заготовки для изготовления детали «Головка» применяются горячекатаные прутки латуни ЛС59-1 диаметром 8 мм. Основным недостатком сортового проката является большое поле допуска по размерам, что вызывает необходимость дозирования заготовки по объему. Заготовки перед выдавливанием полости требуют калибровки по диаметру. Калибровка горячекатаного прутка обеспечивает необходимую точность заготовки по поперечному сечению и улучшает качество поверхности материала. В связи с использованием однопозиционного холодновысадочного автомата АА1219 с цельной матрицей предварительная нарезка прутка на заготовки не требуется.
Выбор правильного базирования детали на станках – ответственный этап при проектировании технологического процесса обработки детали.
Базами являются поверхности, линии, точки и их совокупности, служащие для ориентации детали на станках, для расположения детали в узле, для измерения детали. Различают технологические и конструктивные базы. Технологические базы разделяются на установочные и измерительные.
Установочные базы – поверхности детали, служащие для установки детали на станке и ориентирующие ее относительно режущего инструмента. Установочными базами могут быть различные поверхности заготовок (наружные и внутренние цилиндрические поверхности, центровые гнезда, плоскости, поверхности зубчатых колес).
Основные установочные базы – это поверхности, которые ориентируют заготовку на станке и положение детали в узле относительно других деталей.
Вспомогательные установочные базы – это поверхности, которые используют только для установки детали на станке; они не имеют особого значения для работы детали в узле.
