Основы проектирования и оборудования цеховРефераты >> Строительство >> Основы проектирования и оборудования цехов
Введение
Вторая половина XX в., уже с первых лет, ознаменовалась коренным изменением структуры и технологии сталеплавильного производства, существовавших в течение всей первой половины этого столетия.
Успешному развитию производства стали в дуговых печах, способствовали коренные изменения мощности печного трансформатора, конструкций дуговых печей и технологии плавки, которые произошли в начале 60-х годов и затем быстро распространились [1].
В развитии объемно-планировочных решений ЭСПЦ в нашей стране можно выделить три периода. Первый – это период с появлением дуговых печей до конца 60-х годов. В этот период ДСП использовали исключительно для выплавки легированных и специальных сталей. Второй период охватывает годы с конца 60-х до начала 80-х. Этот период характеризуется повышением мощности печных трансформаторов, развитием систем грузопотоков, появлением первых примитивных установок внепечной обработки стали и повсеместным внедрением МНЛЗ. Начало третьему периоду развития объемно-планировочных решений ЭСПЦ в нашей стране было положено в 1984 году пуском ЭСПЦ на Молдавском и Белорусском металлургических заводах. Особенностью этих цехов является то, что в них располагаются высокопроизводительные комплексы с размещенными в укрытии мощными ДСП, установками внепечной обработки стали, развитой системой грузопотоков.
Объемно-планировочные решения цехов первого периода мало соответствуют требованиям технологических процессов. В этих цехах практически невозможно внедрение внепечных способов обработки стали и затруднено внедрение мероприятий, направленных на улучшение условий труда и экологической ситуации. В некоторых цехах к печному пролету примыкают шихтовый и разливочный пролеты. ДСП располагаются на границе с печным и разливочным пролетами, и сталь выпускают в сталеразливочный ковш, транспортируемый краном.
В цехах, которые появились во второй период развития, увеличены ширина и высота пролетов по сравнению с первыми ЭСПЦ с большегрузными ДСП, а число пролетов достигает шести. Характерной особенностью является наличие бункерной эстакады для подачи сыпучих материалов, которая располагается в печном пролете, между печным и шихтовым или печным и разливочным пролетами. Разливка стали производится как на МНЛЗ, так и в изложницы. Сталь из печи выпускают в ковш, установленный на сталевозе.
В третий период развития цехов характерным является наличие бункерной эстакады, обеспечивающей подачу сыпучих материалов непосредственно в печь или ковш. Печи располагаются в шумо-пылезащитной камере. В целом для этих цехов характерно более широкое применение спецавтотранспорта, средств внепечной обработки и АСУ ТП [2].
1. Общая часть
1.1 Конструкция здания электросталеплавильного цеха
Здание электросталеплавильного цеха представляет собой каркасный тип зданий. Конструктивные элементы здания (несущие элементы) образуют каркас – пространственную жесткую систему (рисунок 1). Каркас воспринимает внешние воздействия на здание (ветер, снег), внутренние эксплуатационные нагрузки, собственную массу элементов здания и давления грунта на подземные части здания.
Рисунок 1 – Элементы стального каркаса
1- колонны; 2 – подкрановые балки; 3 – вертикальные связи между опорами ферм; 4 – стропильные фермы; 5 – вертикальные связи в коньке ферм; 6 – растяжки; 7 – прогоны; 8 – вертикальные крестовые связи между колоннами; 9 – горизонтальные крестовые связи в уровне нижнего пояса ферм.
К несущим элементам относятся фундаменты, колонны, стропильные и подкрановые фермы, подкрановые балки.
Каркас состоит из поперечных плоских, взаимно связанных между собой рам. Каждая рама представляет собой сочетание двух вертикальных элементов (колонны) и соединяющей их горизонтальной детали (ригель) в виде балки или фермы (стропильная ферма).
Рамы связаны между собой связями. По расположению существуют горизонтальные и вертикальные связи.
Роль горизонтальных связей выполняют и прогоны, укладываемые на верхний пояс стропильных ферм, плиты покрытия.
1.2 Элементы конструкции здания
1.2.1 Фундамент, фундаментные балки
Устраиваются свайные фундаменты. Свайные фундаменты очень удобны и экономичны: сокращается объем земляных работ, уменьшаются сроки и трудоемкость строительства, конструкции свайных фундаментов не зависят от глубины заложения смежных с колоннами фундаментов под тяжелое оборудование.
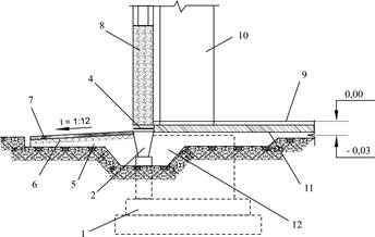
Для опирания самонесущих и навесных стен по периметру здания по обрезам фундамента укладывают фундаментные балки, изготавливаемые из железобетона. Фундаментную балку укладывают так, чтобы ее верхняя грань была выше уровня грунта, но ниже чистого пола помещения на 30 мм – отметка - 0,03 м (рисунок 2).
Рисунок 2 – Детали фундамента наружного ряда колонн
1 – фундамент; 2 – фундаментная балка; 3 – опорный столбик; 4 – гидроизоляция; 5 – песок; 5 – щебеночная подготовка; 7 – асфальт; 8 – стеновая панель; 9 – чистый пол; 10 – колонна; 11 – подстилающий слой; 12 – шлак.
Такое расположение балки позволяет, во-первых, избежать касания грунта стенами и таким образом предотвратить их увлажнение и, во-вторых, устраивать двери и ворота без порогов. Верх фундаментной балки расположен выше уровня земли, это способствует образованию зимой «мостика холода», в результате чего нижняя часть стен и прилегающая к фундаментной балке зона чистого пола может покрываться инеем и даже льдом. Для смягчения влияния «мостика холода» и для предотвращения выпирания стен при пучении грунта под фундаментной балкой вырывают траншею глубиной около 70 см и заполняют ее сыпучим теплоизолятором (шлаком).
1.2.2 Колонны
Колонны – основной элемент несущего каркаса. Они опираются на фундаменты и, в свою очередь, являются опорами для несущих конструкций покрытия. Колонны располагают строго по разбивочным осям.
В колоннах различают верхнюю часть – надколонник, на который опираются несущие конструкции покрытия; основной стержень, по которому передаются нагрузки от покрытия и кранов; нижняя часть – башмак, передающий нагрузку колонны на фундамент.
Для здания высотой более 9,6 м чаще сооружают двухветьевые колонны. Такие колонны делают двух типов. В колонах первого типа ветви работают совместно, воспринимая крановую нагрузку и нагрузку кровли. Между собой ветви связаны двухплоскостной решеткой из прокатных уголков. Надколонники – сплошные и имеют проемы для прохода обслуживающего персонала.
Нагрузку колонн на фундаменты передают через башмаки, привариваемые к нижней части колонн. Башмаки крепятся к фундаментам анкерными болтами. Располагают башмаки на 500-600 мм ниже пола. Во избежание коррозии колонн их подпольные части вместе с башмаками покрывают слоем бетона.
1.2.3 Стропильные и подстропильные фермы
Стропильные фермы несут покрытие здания. Существует несколько конструкций ферм: с параллельными поясами, треугольные, полигональные с прямым или ломаным нижним этажом. Все элементы ферм изготавливают из стальных уголков, широкополочных тавров, соединенных в узлах электросваркой или высокопрочными болтами.
