Применение и устройство строительных машинРефераты >> Строительство >> Применение и устройство строительных машин
Оглавление
1. Устройство и принцип действия четырехтактного карбюраторного двигателя
1.1 Основные механизмы и системы двигателя
1.1.1 Конструкция основных механизмов двигателя
1.1.2 Основные понятия и определения
1.1.3 Рабочий цикл четырехтактного двигателя
1.2 Карбюраторный двигатель
1.2.1 Система питания карбюраторного двигателя
1.2.2 Система охлаждения и смазки
2. Стреловые самоходные краны, назначение, классификация,
устройство
3. Бульдозеры, назначение, классификация, устройство
4. Типы просеивающих поверхностей, назначение, классификация грохотов
4.1 Типы просеивающих поверхностей
4.2 Назначение, классификация грохотов
5. Определить производительность бульдозера при разработке грунта
Список используемой литературы
1. Устройство и принцип действия 4-тактного карбюраторного двигателя
Двигателем внутреннего сгорания называют такой тепловой двигатель, в котором топливо в смеси с воздухом воспламеняется и сгорает внутри цилиндров, при этом теплота, выделяющаяся при сгорании топлива, преобразуется в механическую энергию для приведения в действие машины и рабочего оборудования с целью совершения полезной работы.
ДВС применяются на автомобилях, тракторах-тягачах, мобильных и прицепных строительных и дорожных машинах благодаря ряду достоинств: автономности, т.е. независимости от внешних источников энергии, высокой экономичности и постоянной готовности к работе, простоте обслуживания и управления.
1.1 Основные механизмы и системы двигателя
Поршневой ДВС состоит из следующих механизмов: кривошипно-шатунного, газораспределительного и декомпрессионного, а также систем: питания, смазки, охлаждения, зажигания (карбюраторные) и пуска.
Кривошипно-шатунный механизм (КШМ) преобразует прямолинейное возвратно-поступательное движение поршня во вращательное движение коленчатого вала.
Газораспределительный механизм обеспечивает своевременный впуск в цилиндр воздуха (у дизелей) или горючей смеси (у карбюраторных двигателей) и выпуск из цилиндра отработавших газов.
Декомпрессионный механизм (у дизелей) облегчает прокручивание коленчатого вала при запуске холодного двигателя, а также его остановку.
Система питания карбюраторного двигателя предназначена для приготовления и подачи в цилиндры горючей смеси определенного состава в необходимом количестве в соответствии с режимом его работы.
В дизельных двигателях система питания обеспечивает периодический впрыск и тонкое распыление топлива в камере сгорания в количестве, соответствующем режиму его работы. Система смазки подает к трущимся деталям двигателя масло, которое уменьшает трение и износ, охлаждает детали и удаляет с них продукты износа и загрязнения.
Система охлаждения отводит излишнее тепло от деталей двигателя и поддерживает его нормальную температуру 85 .95 oС.
Система пуска осуществляет запуск двигателя.
Система зажигания карбюраторных двигателей предназначена для принудительного воспламенения рабочей смеси от электрической искры. У дизеля система зажигания отсутствует.
1.1.1 Конструкция основных механизмов двигателя
а) Кривошипно-шатунный механизм (КШМ).
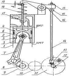
КШМ (рис. 1) состоит из гильзы 1, размещенной в блоке цилиндров 2, поршня 3 с компрессионными 4 и маслосъемными кольцами 5. Поршень 3 пальцем 6 соединен с шатуном 7, который установлен на шатунной шейке коленчатого вала 8 двигателя.
Рис. 1. Схема кривошипно-шатунного и газораспределительного механизмов
Поршни изготавливают из сплавов алюминия АЛ-25 и подвергают термической обработке.
Поршневые компрессионные кольца 4 должны создавать герметичность полости цилиндра, их изготавливают из специальных марок чугуна с хромированием рабочих поверхностей. Маслосъёмные кольца 5 снимают излишки масла со стенок гильзы 1. Поршневой палец 6 шарнирно соединяет поршень 3 с шатуном 7 и для облегчения выполнен полым. Шатун 7 передает коленчатому валу 8 силу давления газов со стороны поршня 3.
Подшипники шатунные и коренные коленчатого вала 8 служат для уменьшения трения при вращении коленчатого вала в коренных опорах и в месте соединения шатуна с коленчатым валом.
Коленчатый вал 8 воспринимает нагрузки от шатунов 7 и служит для преобразования энергии возвратно-поступательного движения поршня 3 в энергию вращательного движения маховика. Маховик предназначен для вывода поршня из мертвых точек и достижения равномерности вращения коленчатого вала двигателя. Маховик также дает возможность преодолевать кратковременные перегрузки. Материал маховика - серый чугун.
в) Газораспределительный механизм
На четырехтактных автотракторных двигателях применяется клапанный механизм распределения. Различают механизмы с нижним и верхним расположением клапанов. В современных конструкциях наиболее распространено верхнее расположение клапанов. При верхнем расположении клапанов улучшается наполнение цилиндров горючей смесью (воздухом), достигается большая степень сжатия, что повышает экономичность двигателя.
Движение от шестерни 9 (рис. 2), установленной на коленчатом валу 8, передается на промежуточную шестерню 10, а затем на шестерню 11 распределительного кулачкового вала 12.
При вращении кулачок вала 12 через ролик передает движение толкателю 13 и через штангу 14 на регулировочный винт 15 и коромысло 16, давление от которого передается на клапан 17, сжимая при этом клапанную пружину 18, удерживаемую на клапане 17 с помощью двух сухариков 19. Перемещение клапанов 17 сообщает полость цилиндра с атмосферой. Диаметр тарелки впускного клапана больше, чем выпускного.
В процессе работы клапан нагревается, и его длина увеличивается. Для исключения нарушения герметичности камеры сгорания при нагрева-нии клапанов предусмотрен тепловой зазор А между клапаном и бойком коромысла. Для впускных клапанов А = 0,35 мм, выпускных - 0,45 мм.
1.1.2 Основные понятия и определения
Верхняя мертвая точка (ВМТ) - верхнее расположение поршня в гильзе цилиндра.
Нижняя мертвая точка (НМТ) - нижнее расположение поршня в гильзе цилиндра.
Ход поршня - расстояние между ВМТ и НМТ.
Рабочий цикл двигателя - совокупность процессов, последовательно и периодически протекающих в цилиндре.
Такт - часть рабочего цикла двигателя, происходящая за один ход поршня (от одной мертвой точки к другой). Двигатели, в которых рабочий цикл совершается за четыре хода (такта) поршня или за два оборота коленчатого вала, называются четырехтактными. Двигатели, в которых рабочий цикл совершается за два хода поршня или за один оборот коленчатого вала, называются двухтактными.
Рабочий объем цилиндра - объем, освобождаемый поршнем при его перемещении от ВМТ к НМТ
где S - ход поршня; D - диаметр цилиндра.
Объем камеры сжатия Vс - объем над поршнем, когда он находится в ВМТ. Полный объем цилиндра - сумма объема камеры сжатия и рабочего объема цилиндра, т.е. пространство над поршнем, когда он находится в НМТ - V = Vс + Vn. Степень сжатия E = V/Vc. Таким образом, E - показатель уменьшения объема смеси или воздуха, сжатых в цилиндре. У карбюраторных двигателей E= 6 .10.
