Применение и устройство строительных машинРефераты >> Строительство >> Применение и устройство строительных машин
На бульдозерах может быть установлена сухая фрикционная двухдисковая муфта сцепления постоянно замкнутого типа (рис. 9).
Ведущими частями муфты сцепления являются маховик 1, установленный на коленчатом валу 2 двигателя, нажимной 3 и промежуточный 4 диски, между которыми находятся два ведомых диска 5 и 6, приклепанные к ступицам. Ведущие диски 3 и 4 имеют прорези, в которые входят направляющие пальцы 7 и 8, закрепленные в кожухе сцепления 9. Направляющие пальцы 7 и 8 передают крутящий момент ведущим дискам 3 и 4 и позволяют им перемещаться вдоль оси.
Рис. 9. Схема муфты сцепления
Ведомые диски 5 и 6 установлены на шлицах вала 10 трансмиссии. По окружности кожуха сцепления 9 равномерно размещены пружины 11, с помощью которых ведомые диски 5 и 6 зажаты между поверхностями ведущих дисков 3 и 4. Вследствие сил трения, возникающих между ними, крутящий момент передается от маховика 1 двигателя к валу 10 трансмиссии.
Для выключения сцепления машинист перемещает рычаг 12 на себя, усилие через тягу 13 и вилку включения 14 передается на выжимной подшипник 15, который перемещается к маховику 1 и нажимает на рычаги 16. Последние, поворачиваясь вокруг осей 17, отводят при помощи болтов 18 ведущий нажимной диск 3 от ведомого диска 5, а промежуточный ведущий диск 4 отходит от ведомых дисков 5 и 6 с помощью пружин 20 и 21.
Наибольшее перемещение диска 4 ограничивается регулировочными болтами 19, что устраняет возможность при выключении сцепления зажатия заднего ведомого диска 5.
Коробка передач
Коробка передач предназначена для следующих целей:
1. для изменения скорости движения трактора и его тягового усилия, что дает возможность приспосабливаться к условиям движения;
2. для изменения направления движения;
3. для отъединения двигателя от ведущих колес при длительной остановке трактора.
Коробка передач устанавливается между муфтой сцепления и задним мостом.
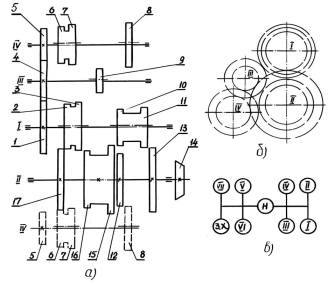
На тракторе ДТ-75 М установлена семискоростная коробка передач (рис. 10). Семь передач обеспечивают движение вперед со скоростью 5,3 .11,18 км/ч, и назад со скоростью 4,54 км/ч.
Принцип работы коробки передач основан на введении в зацепление шестерен с различными диаметрами и числом зубьев. При выводе из зацепления одной из шестерен вращение передаваться не будет, что используют в коробке передач для получения нейтрального положения.
Первичный вал I (рис. 10) получает крутящий момент от двигателя через муфту сцепления. Ведущая шестерня вала 1 находится в постоянном зацеплении с шестерней 4 вала заднего хода III, а последняя с шестерней 5 дополнительного вала IV. По шлицам вала 1 могут свободно перемещаться блоки шестерен 2-3 и 10-11. Вторичный вал II изготовлен за одно целое с ведущей шестерней 14 главной передачи, на нем неподвижно закреплены шестерни 12,13, 17 и блок 15-16. Включение передач с первой по четвертую происходит путем ввода в зацепление шестерни одного из блоков первичного вала 1 с соответствующей шестерней вторичного вала II. Первая передача - шестерни 10-15, вторая - 11-13, третья - 2-17, четвертая -3-16.
Рис. 10. Коробка передач трактора ДТ-75 М: а – кинематическая схема; б – схема взаимного расположения валов; в – положение рукоятки рычага при включении разных передач
Для получения пятой и шестой передач служит блок шестерен 6-7 дополнительного вала IV; при этом вращение на пятой передаче передается через шестерни 1-4-5-6-17, на шестой передаче 1-4-5-7-16. Седьмую передачу включают, вводя в зацепление шестерню 8 дополнительного вала IV с шестерней 12 вторичного вала-1-4-5-8-12. Для включения заднего хода подвижную шестерню 9 вала заднего хода Ш вводят в зацепление с большой шестерней 15. Переключение передач производят рычагом, установленным в крышке коробки передач, в соответствии со схемой (рис. 10, в).
Задний мост
Задний мост трактора (рис. 11) включает главную передачу, планетарный механизм поворота и конечную передачу.
Главная передача служит для увеличения и передачи под углом 90о крутящего момента от вторичного вала 7 коробки передач к планетарному механизму поворота трактора. Она состоит из двух конических шестерен 6, находящихся в постоянном зацеплении.
Рис. 11. Кинематическая схема заднего моста трактора ДТ-75
Планетарный механизм поворота служит для передачи крутящего момента конечным передачам, а также для поворота и торможения трак-тора. Он заключен в картер 1 и состоит из двух зеркально расположенных частей (для правой и левой гусеничных цепей).
При движении трактора по прямой шкивы 5 ленточных тормозов солнечных колес 11 полностью заторможены, а остановочные тормоза 4 отпущены. Вращение от главной передачи 6, ведомое коническое колесо которой закреплено на коронном барабане 8, передается коронному колесу 9. Последнее своими зубьями приводит во вращение сателлиты 10, которые, вращаясь вокруг своих осей, обкатываются вокруг заторможенного солнечного колеса 11, увлекая во вращательное движение водило 12, связанную с ним полуось 13 и ведущую шестерню конечной передачи 3. Для плавного поворота трактора необходимо растормозить шкив того солнечного колеса, в сторону которого совершается поворот. Машинист перемещает соответствующий рычаг управления на себя, тем самым растормаживает шкив одного из солнечных колес и позволяет ему свободно вращаться. Коронный барабан 8 и коронное колесо 9 вращаются по прежнему, а сателлиты 10 поворачиваются только вокруг своих осей. Сателлиты не обкатываются вокруг солнечного колеса, так как оно расторможено и вращается в обратную сторону. Поскольку сателлиты не обкатываются, крутящий момент на водило и полуось не передается. Связанная с этой полуосью ведущая звездочка 2 замедляет вращение, и трактор за счет вращения другой ведущей звездочки совершает поворот.
Для крутого поворота после выключения тормоза 5 солнечного колеса дополнительно нажимают на педаль, затормаживая шкив 4 остановочного тормоза с той стороны, в которую совершается поворот. В этом случае гусеница останавливается, и трактор круто поворачивается.
Конечная передача 3 снижает скорость вращения ведущей звездочки 2 и соответственно увеличивает силу тяги трактора. Кроме того, конечная передача позволяет увеличивать дорожный просвет. На тракторе ДТ-75М устанавливают две конечные передачи по обеим сторонам заднего моста.
Ходовое оборудование
Ходовое оборудование служит для преобразования вращательного движения ведущей звездочки в поступательное движение трактора, а также для поддержания рамы трактора. В ходовую часть входят ведущие звездочки, направляющие колеса, опорные и поддерживающие катки, гусеничная цепь и подвеска. Подвеска служит для соединения опорных катков с рамой трактора. На тракторе ДТ-75 применена эластичная подвеска, обеспечивающая высокую плавность работы и тягово-сцепные качества. На стенде студентам предлагается самостоятельно изучить конструкцию подвески, гусеничной цепи, поддерживающих и опорных катков.
