Проектирование сборных железобетонных плит перекрытия, ригелей и колонн многоэтажного производственного зданияРефераты >> Строительство >> Проектирование сборных железобетонных плит перекрытия, ригелей и колонн многоэтажного производственного здания
3.3 Статический расчет
Для выполнения расчётов по первой и второй группам предельных состояний нужно вычислить следующие усилия:
— изгибающий момент (кН·м) от полной расчётной нагрузки:
— изгибающий момент (кН·м) от полной нормативной нагрузки:
— изгибающий момент (кН·м) от нормальной длительно действующей нагрузки:
![]()
— поперечная сила (кН) от полной расчётной нагрузки:
3.4 Расчет по I группе предельных состояний
3.4.1 Исходные данные
Панель перекрытия запроектирована из тяжёлого бетона класса В25, подверженного тепловой обработке при атмосферном давлении.
В зависимости от принятого класса бетона по табл. 12, 13, 18 [1] определяю характеристики бетона, которые свожу в таблицу.
Таблица 2. Характеристика бетона
|
Класс бетона на сжатие |
Коэффициент условий работы бетона (табл. 15 [2]) γв2 |
Расчётные сопротивления для предельных состояний. МПа |
Начальный модуль упругости, МПа Еb | ||||
|
Первой группы |
Второй группы | ||||||
|
Rb |
Rbt |
Rb, ser |
Rbt, ser | ||||
|
В25 |
1 |
14,5 |
1,05 |
18,5 |
1,6 |
27·103 | |
|
0,9 |
13,05 |
0,95 |
— |
— | |||
Примечание: при расчёте по первой группе предельных состояний
Rb и Rbt следует принимать с коэффициентом γb2=0.9
Класс арматуры принимаю в соответствии с указаниями п. 2.19 а, б, в и п. 2.24[1]. В зависимости от класса арматуры по таблицам 19, 20, 22, 23, 29 [1] определяю характеристики арматуры и заношу в таблицу.
Таблица 3. Характеристики арматуры
|
Класс арматуры, диаметры |
Расчётные сопротивления для предельных состояний. МПа |
Модуль упругости арматуры, МПа Es | ||||
|
Первой группы |
Второй группы | |||||
|
Rs |
Rsw |
Rsc |
Rs, ser | |||
|
А – I |
225 |
175 |
225 |
235 |
210·103 | |
|
А – III (10…40 мм) |
365 |
290 |
365 |
390 |
200·103 | |
|
Вр – I (4 мм) |
365 |
265 |
365 |
— |
170·103 | |
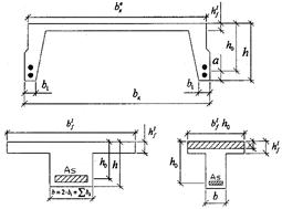
При расчёте прочности нормальных и наклонных сечений поперечное сечение панели приводится к тавровому профилю.
Рис. 5 К расчету прочности нормальных сечений
Вводимая в расчёт ширина полки приведённого сечения
для ребристых панелей не должна превышать:
а) ширину панели поверху
;
б)
,
где
;
в) 12·
+b - для сечений при
(п. 3.16 [1]).
Принимаю
.
Рабочая высота (см) сечения панели:
, где
а — расстояние от наиболее растянутого края сечения до центра тяжести растянутой арматуры панели, принимаю в соответствии с назначенной толщиной защитного слоя по п. 5.5 [1], для ребристых панелей (расположение арматуры в два ряда по высоте) – 50…60 мм.
3.4.2 Расчет прочности нормальных сечений
Расчёт прочности нормальных сечений производится в соответствии с п. 3.16 [1] (рис. 5). Предполагаю, что продольной сжатой арматуры по расчёту не требуется.
Требуемую площадь сечения растянутой арматуры определяю в зависимости от положения нейтральной оси
При соблюдении условия нейтральная линия располагается в полке.
Параметр α0 определяется с учётом свесов полки:
По таблице 7 [2] определяю коэффициент ν = 0,976 и подсчитываю требуемую площадь растянутой арматуры (см2)
По таблице 8 [2] принимаю 4Ø16 А–III AS=8,04 см2
Размещение принятой арматуры должно производиться в соответствии с п. 5.12; 5.18 [1]
