Проектирование физкультурно-оздоровительного комплексаРефераты >> Строительство >> Проектирование физкультурно-оздоровительного комплекса
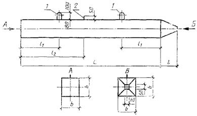
1 - подъемные петли; 2 - штырь для фиксации места строповки при подъеме на копер
Рисунок 2
Таблица 6
|
Марка сваи |
Номинальные размеры, мм |
Проектная марка бетона по прочности на сжатие |
Объем бетона, м3 |
Масса сваи, т |
Расход стали на одну сваю | ||||
|
L |
l |
l1 |
l2 |
b | |||||
|
СНпр6-30 |
6000 |
250 |
1200 |
- |
300 |
М300 |
0,55 |
1,38 |
14,2 |
2.1.3.2 Определение несущей способности висячей сваи
К висячим сваям следует относить сваи всех видов, опирающиеся на сжимаемые грунты и передающие нагрузку на грунты основания боковой поверхностью и нижним концом.
Несущую способность Fd, (тс), висячей забивной сваи, погружаемой без выемки грунта, работающей на сжимающую нагрузку, следует определять как сумму сил расчетных сопротивлений грунтов основания под нижним концом сваи и на ее боковой поверхности по формуле (8) СНиП 2.02.03-85
, (15)
где gc – коэффициент условий работы сваи в грунте, принимаемый gc = 1;
R = 83,6– расчетное сопротивление грунта под нижним концом сваи, принимаемое по таблице 1 СНиП 2.02.03–85, тс/м2;
A = 0,09 – площадь опирания на грунт сваи, принимаемая по площади поперечного сечения сваи брутто или по площади сваи-оболочки нетто, м2;
u = 1,2– наружный периметр поперечного сечения сваи, м;
fi – расчетное сопротивление i-го слоя грунта основания на боковой поверхности сваи, принимаемое по таблице 2 СниП 2.02.03–85, тс/м2;
hi – толщина i-го слоя грунта, соприкасающегося с боковой поверхностью сваи, (м);
gcR, gcf = 1 – коэффициенты условий работы грунта соответственно под нижним концом и на боковой поверхности сваи, учитывающие влияние способа погружения сваи на расчетные сопротивления грунта и принимаемые по таблице 3 СниП 2.02.03–85.
Расчетная схема к определению несущей способности призматической сваи приведена на рисунке 3.
тс
Расчетное сопротивление сваи по грунту:
тс (16)
Площадь подошвы ростверка:
м, (17)
где N = 287 – нагрузка по обрезу фундамента, кН;
gf = 1,1 – коэффициент надежности по нагрузке для собственного веса;
gm = 20 – среднее значение удельного веса материала ростверка и грунта на его уступах, кН/м3;
dg = 1,0 – глубина заложения ростверка, м;
– среднее давление на основание под ростверком, тс/м2;
тс/м2 (18)
Вес ростверка с грунтом на уступах:
кН (19)
Число свай в ростверке:
шт. (20)
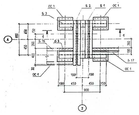
Конструктивно принимаем четыре сваи в кусте. Конструкция ростверка приведена на рисунке 4.
Рисунок 3
Рисунок 4 – Конструкция ростверка
2.1.3.3 Расчет осадки основания
Расчет оснований по деформациям производится исходя из условия:
, (21)
где: s - совместная деформация основания и сооружения, определяемая расчетом в соответствии с указаниями приложения 2 СНиП 2.02.01-83;
su = 12 - предельное значение деформации основания для многоэтажного бескаркасного здания с несущими стенами из крупных панелей, принимаемое по приложению 4 СНиП 2.02.01-83, см.
Расчет фундамента из висячих свай и его основания по деформациям следует производить как для условного фундамента на естественном основании в соответствии с п.6 СНиП 2.02.03-85.
Ширина условного фундамента:
Вусл = bo+2 · l · tgα, (22)
где bo = 1,2 – расстояние между наружными гранями крайних рядов свай вдоль меньшей стороны подошвы ростверка, м;
l = 5,45 – длина в пределах от подошвы ростверка до нижнего конца сваи, м;
α = φср / 4;
– средневзвешенный угол трения грунта в пределах от подошвы до нижнего конца сваи;
φср = (26 · 0,8 + 18 · 2,7 + 13 · 1,95) / (0,8 + 2,7 + 1,95) = 170
Вусл = 1,2 + 2 · 5,4 · tg4 » 2 м
Длина условного фундамента:
Lусл = lo +2 · l · tgα, (23)
где lo = 1,4 – расстояние между наружными гранями крайних рядов свай вдоль большей стороны подошвы ростверка, м;
Lусл = 1,4 +2 · 5,4 · tg4 » 2,2 м
Для возможности выполнения расчета осадки методами, регламентируемыми СНиП 2.02.01-83 и основанными на использовании теории линейно деформируемых сред, необходимо выполнение условия:
, (24)
где N = 287 – нагрузка по обрезу фундамента, кН;
Nc – вес условного массива, кН;
Nc = Bусл · Lусл ·ågm · h, (25)
где gm – то же что в формуле (17);
h = 6,4 – высота условного фундамента, м
кН
кН
Сжимаемая толща разбивается на слои с обязательным соблюдением двух условий:
– элементарный слой при разбивке не должен превышать 0,4b;
– состав грунта элементарного слоя должен быть однородным;
hi £ 0,4·Bусл = 0,4 · 2= 0,8 м
Нижняя граница сжимаемой толщи находится из условия:
, (26)
где
– дополнительное давление на грунт;
– напряжение от веса грунта;
– дополнительное давление в плоскости подошвы фундамента;
