Устройство башенных крановРефераты >> Строительство >> Устройство башенных кранов
Глобоидный редуктор имеет неразъемный корпус со смонтированной в нем на подшипниках червячной парой. Червяк расположен под червячным колесом, сто гарантирует ему лучшую смазку и отвод тепла. Корпус редуктора и фонарь заливают маслом, для которого предусмотрены заливные и сливные пробки. Вал червячного колеса выполнен пустотелым со шлицами внутри, которыми он соединяется с промежуточным валом 6 тележки.
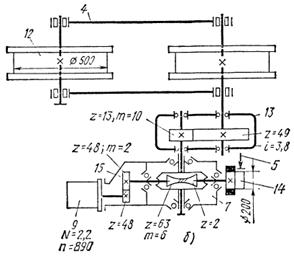
Рис. 5 Унифицированная ходовая тележка грузоподъемностью 40 и 60 т
1 – шкив-маховик; 2 – редуктор; 3 – шестерня цилиндрической пары; 4 – электродвигатель; 5 – фонарь; 6 – промежуточный вал тележки; 7 – рама; 8 – ведущая шестерня; 9 – ведомая шестерня; 10 – ходовое колесо; 11 – тормоз; 12 – шкворень; 13 – кожух тормоза; 14 – буфер; 15 – противоугонный клин; 16 – плужок сбрасывающий; 17 – центральный захват; 18 – кожух шестерен открытой передачи.
На втором конце промежуточного вала закреплена на шпонке или шлицах ведущая шестерня 8 открытой передачи. Две ведомые шестерни 9 посажены на вал ходовых колес. Таким образом, оба ходовых колеса ведущие.
Ходовые тележки выпускают как с приводом (ведущие), так и без него (ведомые). Ведущая унифицированная тележка грузоподъемностью 40 и 60т (рис.5 б) состоит из сварной рамы 7, к которой крепятся два колеса 10 и приводной агрегат. В верхней части рамы имеется шарнирный шкворень 12 для соединения с флюгером ходовой рамы крана. Наличие шкворня позволяет тележке поворачиваться относительно флюгера при движении крана по закруглениям, а также приводить ее в транспортное положение для перебазирования крана. Конструкция шкворня допускает перемещение тележки по вертикали в пределах 60мм по отношению к флюгеру, что уменьшает опасность схода крана с рельсов из-за неравномерных посадок пути. Подшипники ходовых колес закреплены в съемных буксах, что позволяет легко выкатывать колесо в сборе с валом и буксами для замены при поддомкрачивании тележки. Шестерни открытой передачи закрыты кожухом 18. Для отчистки рельсов от случайных предметов ходовая тележка оборудована двумя сбрасывающими плужками 16. Один из торцов тележки оснащен буфером 14 с резиновым амортизатором, который предназначен для восприятия нагрузки при наезде на тупиковый упор, установленный в конце кранового пути.

Рис. 6 Рельсовые противоугонные устройства
а – центральный захват тискового типа; б – то же, полуавтоматический;
в – противоугонный клин при работе крана; г – то же, во время стоянки 1 – корпус; 2 – болт; 3 – подвижная губка; 4 – ограниченная шайба; 5 – упор; 6 – клин (съемный); 7 – прижимная губка; 8,9 – губки-рычаги; 10 – ось; 11 – бобышка; 12 – клин противоугонный; 13 – плужок сбрасывающий; 14 – цепочка; 15 – ходовое колесо.
Тележка оснащена центральным рельсовым захватом 17, размещенным между колесами непосредственно под шкворнем. Благодаря этому ходовой тележке достаточного одного захвата. Захват имеет губки, постоянно подведенные под головку рельса. Они препятствуют сходу крана с рельсов и развороту тележки при отрыве ее от рельса, когда кран работает на плохо уложенных путях.
В настоящее время на многих кранах серии КБ установлены захваты тискового типа (рис.6 а). Эти захваты требуют применения для крановых путей специальных стыковых рельсовых накладок. Для работы с обычными железнодорожными накладками применяются полуавтоматические захваты (рис.6 б). Такой захват состоит из сварного корпуса 1 с бобышками 11, которыми он опирается на выступы в центральном проеме ходовой тележки. К корпусу шарнирно прикреплены рычажные губки 8 и 9, причем ось 10 их шарнира выбрана так, чтобы при восприятии отрывающей нагрузки губки не соскакивали с головки рельса. Для фиксации крана в нерабочем состоянии необходимо вставить клин 6 и затянуть болт 2. Для ускорения фиксации крана на путях в настоящее время применяют полуавтоматические захваты без съемных клиньев 6 и болтов 2, но с клиньями 12, подставляемыми под колеса (рис.6 в,г). Противоугонные клинья 12 тележек представляют собой металлический клин с приваренной ручкой. Во время работы крана клин располагается на металлоконструкции тележки, а для остановки крана и закрепления его в нерабочем состоянии клин подводится под колесо 15.
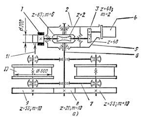
Рис. 7 Ходовая тележка крана КБ-674
а – общий вид; б – кинематическая схема ведущей тележки
1 – тележка ведомая; 2 – балансир; 3 – пята; 4 – тележка ведущая; 5 – тормоз ТКТ-200/100; 6,10 – противоугонный захват; 7 – редуктор ТКЧг-125; 8 – подхват; 9 – двигатель; 11 – штурвал привода захвата; 12 – колесо ходовое ведомое; 13 – дополнительный редуктор; 14 – маховик-шкив; 15 – цилиндрическая пара шестерен.
На рис 7. показана ходовая тележка крана КБ-674, состоящая из двух тележек, объединенных балансиром 2. Одна из тележек ведомая 1, вторая ведущая 4. Конструкция тележек аналогична унифицированной. Особенность ведущей тележки состоит в том, что привод осуществляется на одно колесо вместо двух. Для снижения скорости передвижения помимо агрегата ТКЧг-125 использован дополнительный редуктор 13. Каждая тележка оснащена откидными захватами 6 по торцам и подхватом 8 в центре тележки. Для быстрой остановки крана при угоне его ветром предусмотрен быстродействующий захват 10. Его губки зажимают, вращая штурвал 11.
Механизм поворота
Механизм поворота предназначен для вращения поворотной части крана вокруг вертикальной оси.
Механизм поворота по компоновке подразделяют на две группы: с горизонтальным и вертикальным расположением двигателя.
Механизмы поворота с вертикально расположенным двигателем более компактны, чем механизмы с горизонтально расположенным двигателем, поэтому они более распространены. К этому типу относятся все унифицированные механизмы поворота, а также усовершенствованная конструкция механизма поворота крана МСК-5-20 (рис.8).
Рис. 8 Механизм поворота крана МСК-5-20 с вертикально расположенным двигателем
1 – редуктор; 2 – тормоз; 3 – электродвигатель; 4 – конечный выключатель угла поворота; 5 – ребро; 6 – манжетное уплотнение; 7 – шестерня; 8 – опорно-поворотный круг.
Этот механизм состоит из электродвигателя 3, тормоза 2 и вертикального соосного редуктора 1, смонтированных в один агрегат. Крепление электродвигателя к редуктору на фланце позволяет исключить соединительные муфты и облегчает обслуживание механизма. В редукторе применены цилиндрические шестерни. Нижние шестерни смазываются за счет масляной ванны, а верхние – с помощью плунжерного насоса. Чтобы смазка не вытекала из редуктора вдоль выходного вала, на корпусе редуктора сделано кольцевое ребро 5, поднятое выше уровня масляной ванны, а также манжетные уплотнения 6. На выходном валу редуктора закреплена цевочная (или зубчатая) шестерня 7, которая входит в зацепление с цевочным (зубчатым) венцом опорно-поворотного круга 8. С верхним концом выходного вала редуктора соединен конечный выключатель 4 угла поворота.
