Устройство башенных крановРефераты >> Строительство >> Устройство башенных кранов
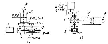
Рис. 11 Кинематические схемы механизмов изменения вылета
а – стреловой лебедки крана БКСМ-5-5А; б – тележечной лебедки крана БКСМ-5-5А; в – то же, КБ-503; г – то же, АБКС-5; д – то же, КБ-674;
1 – электродвигатель; 2 – барабан; 3 – редуктор; 4 – тормозной шкив; 5 – маховик; 6 – выносная опора барабана; 7 – зубчатая муфта.
башенный кран
Тележечные лебедки характеризуются малой мощностью двигателя и небольшими габаритами. На цилиндрический барабан лебедки, встречно навиваются два тележечных каната для передвижения грузовой тележки вперед или назад. Канаты крепят на разных концах барабана. На валу двигателя этих лебедок часто устанавливают маховики, что позволяет повысить плавность пуска и торможения привода лебедки. Тележечные лебедки кранов серии КБ грузоподъемностью до 160т∙м, аналогичные лебедкам кранов АБКС-5 (рис.11 г), выполнены с использованием глобоидного редуктора ТКЧг-125. Крепление лебедки к металлоконструкции крана выполнено по трехопорной схеме.
На тяжелых кранах (свыше 160т∙м), например КБ-503 (рис.11 в), применяют П-образную компоновку для тележечной лебедки. Чтобы исключить трехопорное опирание выходного вала редуктора и барабана, ставят зубчатую муфту 7. Двигатели для этих лебедок применяют двухскоростные. Такие двигатели дают возможность эффективнее использовать лебедку при не нагруженном крюке и тем самым увеличивать производительность крана.
На кранах КБ-674 конструкция лебедки (рис.11 д) отличается от рассмотренных тем, что трехступенчатый редуктор расположен вертикально и навешен на вал барабана, опирающийся на конструкцию стрелы двумя опорами 6. Перегрузка вала барабана исключается за счет шарнирного одноопорного крепления редуктора к конструкции стрелы. Электродвигатель имеет встроенный тормоз. Конец вала барабана заканчивается винтом, связывающим барабан с механизмом переключения ограничителя грузоподъемности.
Стреловые лебедки по конструкции и кинематической схеме аналогичны грузовым. Стреловые лебедки на кранах с установочным изменением вылета отличаются от лебедок кранов с маневровым изменением меньшей мощностью привода. Электродвигатель этих лебедок подбирают из условия подъема стрелы без груза, а тормоз – из условия удержания стрелы при поднятом грузе.
На кране МСК-5-20А (рис.12 а) с маневровым изменением вылета электродвигатель1 стреловой лебедки короткозамкнутый. На последних моделях кранов для обеспечения большей плавности движения груза в механизмах изменения вылета применены электродвигатели с фазным ротором. На ряде кранов с запасовкой канатов по схеме соединенных полиспастов барабан стреловой лебедки разделен на две секции 4 и 5. Секция 4 – для наматывания стрелового каната – цилиндрическая, либо коническая. Коническую форму барабана подбирают, исходя или из условия улучшения траектории перемещения груза при изменении вылета, или из расчета уменьшения крутящего момента на барабан лебедки от усилий в стреловом и грузовом канатах.
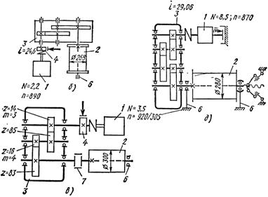
Рис. 12 Стреловые лебедки кранов
Унифицированные стреловые лебедки отличаются от соответствующих грузовых лебедок размерами барабана и двигателя. При запасовке канатов по схеме соединенных полиспастов конструкция барабанов рассчитана на крепление двух канатов: стрелового и грузового. В лебедках Л-450.1 и Л-600, используемых соответственно на кранах КБ-60 и типа КБ-160, барабаны стреловых лебедок выполнены цилиндрическими, без разделения на секции.
В лебедке Л-450 (рис.12 б), используемой на кранах КБ-306, барабан состоит из двух секций: большой цилиндрической 4 и малой 5. Кинематическую схему этой лебедки см. на рис.
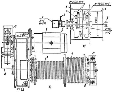
Механизмы выдвижения используются для увеличения высоты башни крана, стоящего в вертикальном положении, а также для уменьшения его высоты при демонтаже. Механизм выдвижения состоит из лебедки и полиспастной системы выдвижения. На многих кранах (например, КБ-160.2, КБ-100.2) в качестве лебедки для механизма выдвижения используют грузовую лебедку, с которой предварительно сматывают грузовой канат. На кранах КБк-250 и КБ-503 для этой цели служит лебедка (рис.), применяемая для монтажа крана. Лебедки выполнена по трехопорной П-образной схеме аналогично ранее рассмотренным. Она установлена на поворотной платформе крана.
Кран КБ-573 и КБ-674 (рис.) оборудованы специальной лебедкой для выдвижения монтажной стойки и подъема башни. Принципиально эти лебедки выполнены по одной конструктивной схеме. Различие состоит лишь в редукторе. У крана КБ-573 используется глобоидный редуктор, у КБ-674 – шестерня 10 закреплена шпонкой, причем шестерня может перемещаться вдоль вала с помощью поводка 11, приводимого в движение вручную винтом 9. Таким образом, выходной вал имеет кинематическую связь то с одним барабаном, то с другим. Это позволяет наматывать канат подъема стойки (на барабан 6) или канат подъема башни (на барабан 7). Привод переключают при ослабленных канатах на обоих барабанах, т.е. без нагрузки. Лебедки оборудованы тормозом 3, охватывающим шкив соединительной муфты 2. У большого барабана лебедки КБ-674, кроме того, предусмотрен подпружиненный подтормаживатель 12, нажимающий на торец реборды и не позволяющий барабану свободно раскручиваться, когда с него сматывается канат. Эти лебедки имеют раму 13, с помощью которой они закреплены на монтажной стойке крана. Все валы и барабаны вращаются на шариковых подшипниках.
Рис. 13 Лебедки для выдвижения башни.
Механизм подъема.
Основными рабочими движениями самоходного башенного крана являются: подъем груза, передвижение по путям, поворот стрелы, изменение вылета крюка.
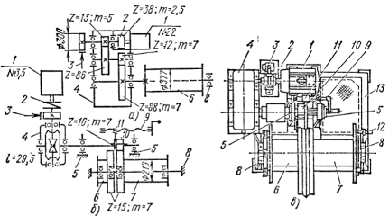
Рис. 14. Схемы грузоподъемных механизмов башенного крана
а – схема запасовки грузового каната крана с управляемой стрелой;
б – кинематическая схема лебедки с тормозным генератором;
в – схема запасовки грузового каната у крана с грузовой тележкой на стреле
Грузоподъемный механизм (рис. 14) башенных кранов состоит из реверсивной однобарабанной электролебедки 1—4, направляющих блоков, канатного полиспаста и крюковой обоймы. На рис. 14 а, показана кинематическая схема грузоподъемного механизма башенного Крана с управляемой стрелой. Неподвижный конец каната полиспаста у этих кранов крепится к металлоконструкции или к рычагу ограничителя грузоподъемности, установленного у оголовка стрелы, а неподвижный блок полиспаста находится на оголовке стрелы.
Короткозамкнутый ротор тормозного генератора насаживается на первичный вал редуктора, а статор на фланце крепится к корпусу редуктора. При прохождении тока в обмотке возбуждения статора создается неподвижное магнитное поле, взаимодействие которого с током, возникающим во вращающемся роторе, создает тормозной момент, величина которого зависит от силы тока в обмотке возбуждения и скорости вращения. Изменяя силу тока в обмотке, можно менять величину тормозного момента и соответственно замедлять скорость вращения электродвигателя 1 лебедки.
