Устройство башенных крановРефераты >> Строительство >> Устройство башенных кранов
Унифицированные механизмы поворота кранов серии КБ предназначаются не только для вращения поворотной части крана при работе, но и для поворота ходовой рамы при разворотах крана во время транспортирования его в виде прицепа. Башенные краны серии КБ комплектуются двумя типами механизмов поворота П-3 – планетарным или цилиндрическим. Комплект механизма независимо от типа состоит из фланцевого двигателя, тормоза, редуктора и тормозной (безопасной) рукояти. Тормоз на всех этих механизмах специальный с двумя электромагнитами МО-100Б. Каждая колодка тормоза управляется своим электромагнитом. Рама тормоза крепится к лапам электродвигателя.
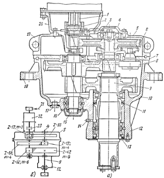
Планетарный механизм поворота П-3 (рис.9 а-в) имеет вертикально расположенный редуктор 5. В нем размещены три одинаковые по конструкции передачи (три ступени). В планетарном редукторе вращение передается от центральной верхней солнечной шестерни 4 к нескольким (обычно трем) шестерням-сателлитам 9 одинакового диаметра, располагаемым под углом 120° в плане. С наружной стороны сателлиты находятся в зацеплении с неподвижным зубчатым венцом 3. Сателлиты сидят на осях, закрепленных в общей крестовине-водиле 8. При вращении сателлиты катятся по зубчатому венцу 3. При этом их оси вместе с водилом совершают вращательное (планетарное) движение относительно оси солнечной шестерни. На нижнем конце первого водила сидит солнечная шестерня второй планетарной передачи (ступени) и т.д Планетарная передача позволяет обеспечить высокое передаточное число и сравнительно высокий коэффициент полезного действия передачи при малых габаритах и небольшой массе редуктора.
Рис. 9 Унифицированный планетарный механизм поворота П-3
а – разрез; б – кинематическая схема; в – аксонометрическая схема 1 – тормоз с двумя магнитами; 2 – двигатель; 3 – зубчатый венец; 4 – солнечная шестерня; 5 – редуктор; 6 – выходная шестерня; 7 – манжетные уплотнения; 8 – водило; 9 – сателлиты; 10 – закрепление двух верхних венцов (показано условно).
Зубчатые венцы первой и второй передач, а также зубчатые кольца, соединяющие венцы, – плавающие, без жесткого закрепления к корпусу редуктора. Это обеспечивает нормальное зацепление с ними сателлитов даже при некоторой несоосности соединения двигателя с редуктором. Венец нижней передачи ввиду больших действующих на него нагрузок жестко прикреплен к корпусу редуктора с помощью штифтов. Водило III ступе,ни через шлицы передает вращение выходному валу. На выходной вал редуктора снизу насажена шестерня 6, входящая в зацепление с венцом опорно-поворотного круга. Выходной вал редуктора передает только крутящий момент, так как он разгружен от радиальных нагрузок. Для этого шестерня 6 механизма поворота установлена на двух подшипниках, посаженных непосредственно на шейку корпуса редуктора. С валом шестерня соединяется с помощью штифтов. Чтобы из редуктора не вытекло масло, в нижней его части установлено три резиновых манжетных уплотнения 7, а чтобы масло не попало в двигатель, в крышке редуктора также установлено манжетное уплотнения.
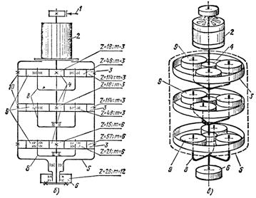
Рис. 10 Унифицированный цилиндрический механизм поворота
а – разрез редуктора; б – кинематическая схема;
1 – шестерня зубчатой муфты; 2 – входной вал; 3 – смотровое стекло; 4 – промежуточный вал; 5 – крышка корпуса; 6 – шестерня шиберного насоса; 7 – диафрагма; 8 – насос; 9 – выходной вал; 10 – корпус редуктора; 11 – манжетное уплотнение; 12 – горловина корпуса; 13 – торцовая крышка; 14 – масленка; 15 – промежуточный вал; 16 – крышка подшипника; 17 – сливная пробка; 18 – лапа корпуса; 19 – проушина; 20 – фонарь; 21 – тормоз; 22 – электродвигатель; 23 – зубчатая муфта.
Механизмы поворота П-3 имеют четыре исполнения, отличающиеся размерами приводных (выходных) шестерен и установленной мощностью электродвигателя. IV исполнение имеет большее передаточное число в редукторе.
Двухступенчатая конструкция тормоза позволяет повысить плавность работы механизма. Первая ступень торможения – наложение одной колодки на шкив осуществляется при работающем электродвигателе и служит для предварительного притормаживания механизма. Вторая ступень торможения, т.е. наложение и второй колодки на шкив, выполняется при остановке электродвигателя. Совместная работа обеих колодок позволяет удерживать кран в заданном положении. На кране КБ-401Б схемой предусмотрено положение, когда при отключении электродвигателя обе колодки тормоза остаются открытыми. Этим достигается свободный выбег крана при повороте, сто обеспечивает плавную остановку и исключает раскачивание груза.
Для разворота ходовой рамы вместе с подкатной осью при перевозке крана или повороте башни при аварийном состоянии вал механизма поворота можно вращать вручную безопасной рукояткой, надеваемой при необходимости на тормозной шкив. На период работы безопасной рукояткой колодки тормоза отводят отжимными планками, расположенными на концах рычагов.
Планетарные механизмы поворота крепят к поворотной платформе крана шарнирно: с одной стороны, с помощью вертикального шкворня, входящего в отверстие прилива на корпусе редуктора и две проушины на платформе, с другой стороны – натяжным болтом, служащим для фиксации механизма и регулировки зацепления. В некоторых случаях шкворень приваривают к приливу корпуса механизма. Такое крепление механизмов позволяет их быстро и легко монтировать и демонтировать при ремонте, а также регулировать зацепление между выходной шестерней и зубчатым венцом опорно-поворотного устройства.
Цилиндрический механизм поворота сходен по конструкции с ранее рассмотренным механизмом усовершенствованного крана МСК-5-20 (рис.10 а,б). Основное отличие заключается в том, сто шестерни его редуктора имеют зацепление Новикова, благодаря чему существенно уменьшены габаритные размеры и масса механизма. Кроме того, для смазки верхних шестерен первой и второй ступени использован шиберный насос 8, приводимый в движение валом 4 второй ступени. Для контроля за работой насоса в верхней крышке подшипника этого вала предусмотрено смотровое стекло 3.
Крепление цилиндрического механизма на поворотной платформе выполнено жестко с помощью трех кронштейнов. Нижний кронштейн имеет расточенное отверстие, в которое входит горловина 12 корпуса редуктора. Лапы 18 корпуса с помощью специальных болтов крепятся к двум другим кронштейнам. Устанавливают и снимают механизм при одновременном надевании или снятии шестерни выходного вала, имеющей зацепление с опорно-поворотным устройством.
Механизмы изменения вылета и выдвижения башни
Вылет башенных кранов меняется либо изменением угла наклона стрелы с помощью стреловой лебедки на кранах с подъемными стрелами, либо перемещением грузовой тележки по стреле с помощью тележечной лебедки – на кранах с балочными стрелами. На некоторых кранах с установочным изменением вылета, например БКСМ-5-5А, имеются обе лебедки. Стреловая лебедка (рис.11 а) предназначена для установочного, т.е. разового изменения вылета путем подъема стрелы без груза с зафиксированной на ее конце тележкой, а также для опускания стрелы при демонтаже крана. Тележечная лебедка (рис.11 б) служит для постоянного перемещения тележки с грузом по направляющим балкам горизонтально расположенной стрелы.
