Безопасность монтажа гражданских зданий и сооруженийРефераты >> Строительство >> Безопасность монтажа гражданских зданий и сооружений
1. Особенности монтажных работ. Причины травматизма монтажников
Монтаж - наиболее сложные и опасные работы, т.к. до 80% на высоте.
Особенности труда монтажников:
- работа в условиях низких или высоких температур, интенсивного солнечного облучения, ветра, атмосферных осадков, …
- нервно-психическое напряжение - на высоте (требуется непрерывный контроль за положением своего тела в пространстве, сознание опасности падения и травмирования при выполнении работ на высоте), выполнение согласованных трудовых операций, … ;
- стесненные условия на временных подмостях;
- быстрые перемещения в пределах зоны монтажа (по вертикальным лестницам, монтажным мостикам и возводимым конструкциям);
- вынужденные и неудобные позы, существенная нагрузка от напряженного состояния тела;
- тяжелый ручной труд - дополнительному физическому и нервному напряжению, утомлению;
- раскачивание монтируемых конструкций (ветер, крановщик, …);
- отсутствие видимости крановщиком непосредственно установки сборных элементов
Состав монтажных работ при возведении зданий и сооружений различного назначения представляет комплекс рабочих процессов:
а) установка монтируемого элемента и его временное закрепление;
б) окончательная выверка монтируемого элемента;
в) сварка стыков, замоноличивание конструкции.
Технологическая структура монтажных работ
|
Рабочие процессы |
Рабочие операции |
|
Подготовка места монтажника и подачи элемента |
Строповка элемента. Перемещение монтажного приспособления. Подача элемента к месту монтажа |
|
Предварительная установка элемента |
Установка. Предварительная выверка. Временное закрепление элемента |
|
Окончательная выверка и закрепление элемента |
Проверка положения элемента. Окончательная выверка. Исправление положения детали и закрепление ее. Расстроповка |
|
Сварка закладных деталей |
Выравнивание арматурных выпусков. Очистка закладных деталей. Установка анкеров и накладок. Сварка закладных деталей |
|
Замоноличивание стыков |
Устройство гидроизоляции. Установка инвентарной опалубки. Антикоррозионное покрытие закладных деталей. Бетонирование стыков |
Травматизм при монтаже обусловлен:
· обрушением (падением) монтируемых конструкций;
· падением рабочих с высоты (при наводке, установке и закреплении элементов сборных конструкций при расстроповке, окончательном оформлении узлов и особенно при перемещении на новое рабочее место);
· несовершенством и ошибками при выборе монтажной оснастки (такелажные работы),
· несовершенством или неисправным состоянием механизмом и машин и электроустановок;
· недостаточной освещенностью;
· неудовлетворительной последовательностью выполнения рабочих операций и т. п.
· операции по разгрузке элементов на приобъектном складе.
Результаты анализа травматизма:
10 % травматизма - разгрузочные работы;
35% - предварительная установка элементов;
20% - процессы по подготовке монтажного места и подаче элемента,
20% - окончательной выверке и сварке закладных деталей
10% - послемонтажные работы по замоноличиванию конструкции и заделке стыков.
Монтаж следует начинать только после завершения всех строительных работ по нулевому циклу.
К началу монтажа должны быть закончены:
· возведение фундаментов для монтируемого здания и под временные опоры для монтажа;
· все земляные и подземные работы, включая засыпку котлованов, планировку площадки, уборку мусора и лишних строительных материалов;
· возведение всех временных помещений для работы монтажного участка (конторы, кладовой, компрессорной, механической мастерской, бытовых помещений для рабочих);
· подводка электроэнергии и воды;
· освещения площадки;
· прокладка железнодорожных путей и автодорог по площадке и на складе металлических и железобетонных конструкций, а также сооружение путей под монтажные краны;
· организация склада металлоконструкций (с устройством стеллажей для складирования и укрупнительной сборки), а также монтаж кранов, обслуживающих склад;
· сборка и испытание монтажных кранов;
· сборка компрессоров и прокладка трубопроводов сжатого воздуха к местам потребления;
· организация склада материалов для ремонта и выдачи инструмента;
· укрупнение и сборка временных опор и изготовление всех индивидуальных приспособлений для монтажа.
На монтажной площадке должен быть создан склад, назначением которого является разгрузка прибывающих конструкций, их учет, сортировка, исправление обнаруженных дефектов, хранение, обустройство подвесными подмостями и комплектная отгрузка на монтаж. Предусматривают также и стеллажи для укрупнительной сборки, клепки сварки.
Монтажные приспособления для временного закрепления конструкций
Классифицируют по функциональному назначению:
- удерживающие: подкосы, растяжки, распорки;
- ограничивающие: упоры, фиксаторы;
- универсальные: связи, кондукторы;
Монтажная оснастка должна удовлетворять требованиям ГОСТ 12.2.012-75.
Конструкция монтажных приспособлений должна обеспечивать:
· быстрое и свободное выполнение операций, связанных с их установкой или снятием и выверкой элементов конструкций зданий и сооружений;
· устойчивость элементов конструкций зданий и сооружений до их закрепления в соответствии с проектом;
· ремонтопригодность и взаимозаменяемость узлов и деталей;
· точность выверки конструкций
Масса монтажных приспособлений, устанавливаемых вручную, не должна превышать:
· подкосов, растяжек, связей при длине до 3 м - 18 кг;
· подкосов, растяжек, связей при длине до 6 м - 35 кг;
· распорок - 5 кг;
· струбцин - 7 кг;
· кондукторов - 50 кг.
Несущие элементы монтажных приспособлений должны быть рассчитаны на сочетание
следующих нагрузок:
· от массы устанавливаемых конструкций зданий и собственной массы приспособлений с коэффициентом надежности по нагрузке— 1,1;
· от регулировочных винтов, домкратов при выверке установленных конструкций зданий с коэффициентом надежности по нагрузке — 1,2;
· от воздействия ветра — в соответствии с главой СНиП по нагрузкам и воздействиям.
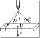
Строповка грузов
(рекомендуются инвентарные стропы, захваты или специальные траверсы).
|
Для подбора сечения гибких строп определяется натяжение в одной ветви:
|
|
|
Рис. 1. Расчетная схема гибких стропов. S=P/n/cos(a) |
Рис. 2. Канатные стропы: а—одноветвевые; б—двухветвевые; в—трехветвевые; г—четырехветвевые; d, e — универсальные УСК; 1— звено для навешивания стропа коуш; 2— канатная ветвь: 3— звено для захвата груза; 4— переходное звено |
