Расчет и конструирование несущих конструкций одноэтажного промышленного зданияРефераты >> Строительство >> Расчет и конструирование несущих конструкций одноэтажного промышленного здания
В стенке подкрановой ветви делаем прорезь, в которую заводим стенку траверсы.
Для расчета шва крепления траверсы к подкрановой ветви (ш3) составляем комбинацию усилий, дающую наибольшую опорную реакцию траверсы.
Такая комбинация: N = 543,65 кН; М = 6,64 кНм.
543,65·45/(2·150) – 664/150 + 1161,39·0,9 = 1122,37 кН
Коэффициент 0,9 учитывает, что усилия N и М приняты для второго основного сечения нагрузок.
Требуемая длина шва
1122,3/(4·0,6·16,2) = 28,9 см
Высота траверсы из условия прочности стенки подкрановой ветви в месте крепления траверсы:
1122,37/ (2·0,844·14) = 47,5 см
Принимаем
60 см.
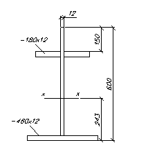
Проверим прочность траверсы как балки, нагруженной усилиями N, М, ДMAX. Нижний пояс траверсы принимаем конструктивно из листа 460х12 мм, верхние горизонтальные ребра – из двух листов 180х12.
Геометрические характеристики траверсы:
Положение центра тяжести траверсы:
ун = (2·18·1,2·44,4 + 1,2·58,8·30,6 + 1,2·46·0,6)/(2·18·1,2 + 1,2·58,8 + 1,2·46) = 24,3 см
Iх = 1,2·58,83/12 +1,2·58,8·6,32 + 1,2·46·23,72 + 2·18·1,2·20,12 = 71588,792 см4
71588,792/35,7 = 2005,29 см3
Максимальный изгибающий момент при второй комбинации усилий:
(33924,2/150+543,65·45/(2·150))(150 – 45) = 46309 кНсм
46309/2005,29 = 23,09 < R = 24 кН/см2
Максимальная поперечная сила в траверсе:
543,65·45/(2·150) – 6,64/150 +1,2·1161,39·0,9/2 = 708,65 кН
708,65/(1,2·58,8) = 12,05 < Rср = 14 кН/см2.
3.7 Конструкция и расчет базы колонны
Ширина нижней части колонны 150 см >100 см, поэтому проектируем базу раздельного типа.
Расчетная комбинация усилий в нижнем сечении колонны (сечение 4-4):
M = 688,1521кНм; N = 1144,86 кН
Усилия в ветвях колонны:
68815,21/145 +2086,61·65,4/145 = 1415,72 Кн;
1620 кН.
База наружной ветви.
Требуемая площадь плиты
1620/0,54 = 3000 см
;
(Бетон М100).
По конструктивным соображениям свес плиты c2 должен быть не менее 4см.
Тогда
9,9 +2·4 = 57,9 см. Принимаем В = 60 см;
= 3000/60 = 50 см. Принимаем L = 50 см;
50·60 = 3000 см2.
Среднее напряжение в бетоне под плитой
= 1620/3000 = 0,54 кН/см2
Из условия симметричного расположения траверс относительно центра тяжести ветви расстояние между траверсами в свету равно:
18 +1,2 – 5) = 28,4 см; при толщине траверсы 12 мм с1 = (50 – 28,4 – 2·1,2)/2 = 9,6 см
Определяем изгибающие моменты на отдельных участках плиты:
Участок 1 (консольный свес
9,6 см)
54·9,62/2 = 24,9 кНсм
Участок 2 (консольный свес
)
М2 = 0,54·52/2 = 6,75 кНсм
Участок 3 (плита, опертая на четыре стороны; b/a = 47,1/18 = 2,6 >2; a = 0,125);
·0,54·182 = 21,87 кНсм
Участок 4 (плита, опертая на четыре стороны; b/a = 47,1/9,2 = 5,1 >2; a = 0,125);
,54·9,22 = 5,7 кНсм
Принимаем для расчета МMAX = М1 = 24,9 кНсм.
![]() |
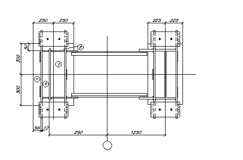
Рис.3.4. База колонны
Требуемая толщина плиты
= Ö (6·24,9/22) = 2,6 см
Принимаем
28 мм (2 мм – припуск на фрезеровку).
Высоту траверсы определяем из условия из условия размещения шва крепления траверсы к ветви колонны. В запас прочности все усилия в ветви передаем на траверсы через 4 угловых шва. Сварка полуавтоматическая проволокой марки Св-08А, d = 2 мм; kш = 8 мм. Требуемая длинна шва:
1620/(4·0,8·16,2) = 31,25 см
8 = 61,2 см
Принимаем
.
1620/(4·0,8·(40 – 2)) = 13,3 < 16,2 кН/см2
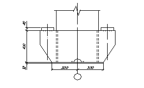
База подкрановой ветви.
Требуемая площадь плиты
= 1415,72/0,54 = 2621,7 см2
В ³ 49,5 + 2·4 = 57,5 см; принимаем В = 60 см;
2621,7/60 = 43,7 см;
принимаем L = 45 см;
45·60 = 2700 см2.
Напряжение в фундаменте под плитой
1415,72/2700 = 0,52 кН/см2.
Определим изгибающие моменты на отдельных участках плиты:
Участок 1. (консольный свес с = 5,3 см)
0,52·5,32/2 = 7,3 кНсм
Участок 2. (плита рассчитывается как консоль).
= 0,52·11,32/2 = 33,2 кНсм
Участок 3. (плита, опертая на четыре стороны; b/a = 47,1/9,6 = 4,9 >2;;
)
0,52·0,125·9,62/2 = 6 кНсм
Принимаем для расчета МMAX = M2 = 33,2 кНсм.
Требуемая толщина плиты
= Ö (6·33,2/22) = 3 см.

