Подземный ремонт скважин
Включенная передача I II III
Частота вращения вала, мин -1
А-50У . 40 70 —
А-50М 22,3 45 88
Мощность гидроротора, кВт:
А-50У 44 44 —
А-50М 14,7 28,6 57
Установку вышки в вертикальное и горизонтальное положения проводят при работе коробки передач автомобиля на первой передаче и при одном включенном маслонасосе. Гидросистема заполняется профильтрованным маслом ВМГЗ для работы при температуре окружающей среды от —50 до +65 °С. Пневмосистема агрегата снабжается сжатым воздухом от двухцилиндрового двухступенчатого компрессора М155-2В5
Тип А-50У А-50М
Допускаемая нагрузка, кН 500 125
Наибольшее тяговое усилие на набе- 1100 1000
гающем конце каната, кН
Диаметр тормозных шкивов, мм 2 2
Число тормозных шкивов 2 2
Вышка
Тип Телескопическая
Высота от земли до оси кронблока,м 22,4
Допустимая длина поднимаемой
трубы, м 16
Расстояние от торца рамы до оси
скважины, мм 1040
Оснастка талевой системы 3X4 Диаметр, мм:
канатного шкива 470
талевого каната 25
Компрессор
Тип М155-2В5
Подача, м*/мин До 0,6
Давление нагнетания, МПа До 10
Промывочный насос
Тип НБ-125 (9МГр-73)
Наибольшее давление (при подаче
6,1 л/с), МПа 16
Наибольшая подача (при давлении 6 МПа), л/с 9,95
Монтажная база — прицеп 71 ОБ или СМ-38326
Масса насоса с прицепом, кг 4144
Вал привода бурового ротора
Отбираемая мощность, кВт 95,5 100
Частота вращения, мин"1:
1 скорость 214 214
2 скорость 360 423
Лебедка вспомогательная — ТВ-224В (ТЛ-9)
ГОСТ 2914-10
Грузоподъемность, т — 25
Скорость подъема, м/с — 0,25
Масса установки без насосного при цепа, кг 22 610 24 000
Агрегат АзИНмаш-37А (рис. 4), смонтированный на шасси автомобиля КрАЗ-255Б, предназначен для текущего ремонта нефтяных, газовых и нагнетательных скважин глубиной до 2900 м. Имеет следующие основные узлы: лебедку, вышку с талевой системой, переднюю и заднюю опоры вышки, кабину оператора, а также гидравлическую, пневматическую и электрическую системы управления агрегатом и другие вспомогательные узлы и механизмы
.
Рис. 4. Агрегат АзИНмаш-37А.
1 - талевая система; 2 — вышка; 3 - силовая передача; 4- передняя опора; 5 - кабина оператора; 6 — лебедка; 7 - гидроцилиндр подъема вышки; 8 - задняя опора
Лебедка агрегата включает конический редуктор, барабанный и приводной вал, смонтированный на общей сварной коробчатой станине. Барабан сварной конструкции установлен на подшипниках качения. Муфта включения барабана фрикционная, пневматическая с дисковыми вкладышами из ретинакса, смонтирована внутри тормозного шкива.
Вышка - сварная, решетчатой конструкции, телескопическая, двухсекционная с открытой передней гранью. В транспортном положении вышка опирается на переднюю и заднюю опоры.
Подъем вышки осуществляется гидравлическими домкратами, выдвижение верхней секции - лебедкой с гидроприводом через блочно-канатную систему. Выдвинутая верхняя секция фиксируется на пневматически управляемых упорах. В процессе работы на скважине вышка закрепляется четырьмя оттяжками. Она снабжена также ограничителями подъема верхней секции и подъема крюкоблока. При достижении крюкоблоком критического верхнего положения ограничитель отключает фрикцион лебедки и включает тормоз.
Телескопические опорные винтовые домкраты задней опоры вышки можно фиксировать по высоте в трех различных положениях. Опорные домкраты опускаются под действием своего веса при вытаскивании фиксирующего пальца. В транспортном положении опорные домкраты поднимаются гидравлическими подъемниками, установленными внутри ног задней опоры.
Талевая система состоит из одноосного трехроликового кронблока и одноосного двухроликового крюкоблока с трехрогим крюком. Неподвижный конец талевого каната закреплен на боковой стенке станины лебедки.
Гидравлическая система агрегата обеспечивает подъем вышки и опорных домкратов задней опоры, привод лебедки, выдвижение верхней секции вышки и автомата АПР-ГП для свинчивания и развинчивания насосно-компрессорных труб.
Пневматическая система агрегата предназначена для усиления тормоза, управления муфтами включения барабана, гидронасоса, дистанционного управления сцеплением двигателя, упоров вышки и тормозом при срабатывании противозатаскивателя. Воздух в пневмосистему агрегата подается от компрессора автомобиля через его масловлагоотделитель и три воздушных баллона, последовательно соединенных с целью улучшения условий выпадения конденсата.
Электрооборудование в сочетании с пневматической и гидравлической системами предназначено для управления механизмами при установке и снятии агрегата на скважине, для проведения спускоподъемных операций и освещения вышки и рабочей площадки устья.
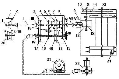
Управление механизмами агрегата при проведении спускоподъемных операций осуществляют из кабины, расположенной между лебедкой и ездовой кабиной автомобиля (рис. 4). Управление установкой вышки в рабочее положение выполняют с выносного пульта, соединенного с общей электросистемой агрегата кабелем. Это позволяет машинисту располагаться в любом удобном и безопасном для него месте, в радиусе до 10 м. Привод навесного оборудования агрегата лебедки 21 осуществляется от тягового двигателя автомобиля через коробку скоростей, включенную напрямую, и раздаточную коробку. Шестерня 19 раздаточной коробки автомобиля 20 находится в постоянном зацеплении с шестерней 2 коробки отбора мощности 1, свободно сидящей на валу 1. Включением зубчатой муфты вращение передается валу 1, от него через карданный вал II - первичному валу III коробки передач 6 и далее - через шестерни 3 и 17 - промежуточному валу V.
Рис. 5 Кинематическая схема АзИНмаш-37А
1 — коробка отбора мощности; 2 - шестерни коробки отбора мощности; 3, 17 - шестерни передачи вращения промежуточному валу; 4, 5, 7, 8 - шестерни вторичного вала; 6 - коробка передач; 9, 12 - шестерни конические; 10, 11 - шестерни передачи вращения барабанному валу; 13, 14, 15, 16 - шестерни промежуточного вала ; 18 - шестерня паразитная; 19 - шестерня раздаточной коробки; 20 - коробка раздаточная; 21 - лебедка; 22 - лебедка выдвижения верхней секции вышки; 23 - автомат свинчивания и развинчивания НКТ; I - ведущий вал; II, VII — карданный вал; III - первичный вал; IV - вал привода гидронасоса; V - промежуточный вал; VI - вторичный вал; VIII - вал конического редуктора; IX - вал конической передачи; X - приводной вал; XI — вал барабана
Шестерни 13, 14, 15 и 16, неподвижно посаженные на промежуточном валу V, находятся в постоянном зацеплении соответственно с шестернями 8, 7, 5 и 4, свободно сидящими на вторичном валу VI, причем шестерни 16 и 15 зацепляются через паразитную шестерню 18, а остальные - непосредственно. Включением зубчатых муфт валу VI сообщают три скорости прямого хода и одну скорость обратного хода. От вала VI через карданный вал VII вращение сообщается валу VIII конического редуктора и через пару конических шестерен 9 и 12 - валу IX.
