Подземный ремонт скважин
Приводной вал X, соединенный зубчатой муфтой с валом IX, передает вращение барабанному валу XI через шестерни 10 и II. Вращение барабану, свободно сидящему на валу XI, сообщается через фрикционную муфту.
Внутри полого промежуточного вала V проходит вал IV привода гидронасоса, включаемый осевой фрикционной муфтой.
Гидравлическая система обеспечивает подъем вышки и опорных домкратов задней опоры, а также служит приводом лебедки 22 выдвижения верхней секции вышки и автомата АПР-2ГП 23 для свинчивания и развинчивания насосно-компрессорных труб.
Установку АзИНмаш-37А1 монтируют на автомобиле КрАЗ-260 с относительно повышенной мощностью двигателя. В отличие от АзИНмаш-37А эта установка имеет в тормозной системе ретинаксовые колодки вместо лент с фрикционным материалом «феррадо», а в системе противозатаскивателя талевого блока использован новый винтовой механизм, более надежный и удобный в эксплуатации.
Освещение агрегатов, рабочей площадки и мостков осуществляется взрывобезопасными светильниками.
Агрегаты комплектуют автоматами АПР-2ВБ или АПР-ГП для работы с насосно-компрессорными трубами, АШК-ТМ или КШЭ для работы с насосными штангами.
Агрегаты АзИНмаш-37А и АзИНмаш-37А1 могут иметь устройство для безъякорного крепления вышки.
Это устройство обеспечивает устойчивость агрегата при проведении спускоподъемных операций на полную грузоподъемность без установки и крепления оттяжек вышки к внешним якорям.
Проведение спускоподъемных операций агрегата без крепления оттяжек вышки достигается путем исключения влияния рессор на устойчивость агрегата. Влияние рессор на устойчивость всего агрегата частично исключается при установке двух передних откидных домкратов, с помощью которых, а также домкратов задней опоры вышки, рама автомобиля, минуя рессоры, опирается на рабочую установочную площадку. Для полного исключения влияния рессор необходимо снизить давление в шинах автомобиля до минимально допустимого значения (0,05 МПа).
Верхние концы грузовых и установочных оттяжек вышки крепят соответственно к верхней части и верхней части нижней секции вышки, а их нижние концы через винтовые стяжки соединяют с передним бампером автомобиля. При этом грузовые оттяжки крепят к внутренним, а установочные - к внешним ушкам
1.4.2 Инструмент, применяемый при проведении спускоподъемных операций
Элеваторы предназначены для захвата и удержания колонны штанг и труб на весу в процессе спускоподъемных операций. По назначению элеваторы бывают трубные и штанговые.
По типу захвата и удержания трубные элеваторы могут быть: а) с захватом под муфту; б) с захватом под высадку трубы; в) с захватом за тело (элеватор-спайдер).
Элеваторы первого типа наиболее распространены и предназначены для работы с муфтовыми трубами. Элеваторы второго типа необходимы для работы с трубами с высадкой наружу, а третьего типа - для работы с безмуфтовыми трубами.
По типу захвата и удержания штанговые элеваторы могут быть с захватом под высадку или квадрат штанги.
Элеваторы первого типа наиболее распространены и предназначены для работы по двухэлеваторной технологии. Элеватор с захватом под квадрат штанги позволяет работать по одноэлеваторной технологии, однако при работе с этим элеватором необходимо его соединение с талевым блоком с возможностью его вращения, так как при свинчивании-развинчивании элеватор вращается вместе со штангами.
Применение подобных элеваторов наиболее целесообразно при установке развинченных штанг в вертикальном положении, так как на мачте они устанавливаются путем подвески за высадку.
По конструкции трубные элеваторы могут быть одно- и двухштропные. Первые получили наибольшее распространение в подземном ремонте скважин.
Элеваторы типа ЭТАД (рис. 6) с захватным автоматическим устройством предназначен для работы с насосно-компрессорными трубами условного диаметра от 48 до 114 мм. Элеватор состоит из корпуса с подпружиненными защелками штропов, выдвижного захвата, упоров, запирающего устройства с рукояткой.
Захваты элеватора сменные и рассчитаны на определенный диаметр НКТ. Это позволяет использовать один корпус элеватора при спускоподъеме труб нескольких размеров. Захват включает в себя шток, шарнирно соединенный с двумя челюстями.
Шток снабжен шлицами, сопрягающимися с втулкой запирающего устройства. Запирающее устройство служит для фиксации челюстей элеватора в крайних положениях, соответствующих открытому или закрытому состоянию.
Рис. 6. Элеватор типа ЭТАД
1 - предохранитель; 2 - корпус; 3 - упор; 4 - захват; 5 - рукоятка.
На промыслах в подземном ремонте скважин наибольшее распространение получили одноштропные элеваторы с захватом под муфту типа ЭТА (рис. 7), входящие в комплект инструмента для работы с насосно-компрессорными трубами: элеватор типа ЭТА - ручной ключ типа КТГУ - механический ключ типа АПР или КМУ.
Рис. 7 Элеватор типа ЭТА
1 - серьга; 2 - палец; 3 - шплинты; 4 - корпус; 5 - рукоятка; 6 - направляющая втулка; 7 - штырь; 8 - челюсть; 9 - направляющие; 10 - болт.
Выпускаются элеваторы ЭТА-32, ЭТА-50 и ЭТА-60 грузоподъемностью соответственно 32, 50 и 60 т. Они позволяют работать с НКТ диаметром 48, 60, 73 и 89 мм как с гладкими, так и с высадкой. Переход с одного диаметра на другой осуществляется путем смены захватов.
Для проведения спускоподъемных операций с одним элеватором необходимо устройство на устье скважины, способное удерживать колонну труб за тело.
При этом торец муфты остается свободным для последующего захвата колонны элеватором. Спайдер может быть выполнен отдельно или входить в состав механического ключа для свинчивания-развинчивания труб.
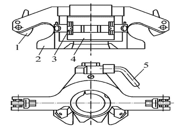
Спайдер гидравлический СГ-32 предназначен для захвата за тело и удержания на весу колонны труб в процессе спускоподъемных операций при текущем и капитальном ремонтах скважин.
Он представляет собой (рис. 8) разрезной корпус со сменными клиньями под трубы разных размеров. Клиньями управляют посредством гидравлического цилиндра, встроенного в корпус спайдера. Наклонные зубья плашек обеспечивают стопорение колонны от проворота в процессе свинчивания - развинчивания труб. На спайдере предусмотрено также вспомогательное ручное управление.
Рис. 8. Спайдер СГ-32
1 - гидроцилиндр; 2 - рукоятка; 3 — рычаг; 4 - клиновая подвеска; 5 - створка; 6 - центратор; 7 – корпус
Для свинчивания-развинчивания резьбовых соединений труб и штанг применяются ключи. Ключи могут быть трубными и штанговыми (по назначению) и, кроме того, ручными и механическими. В свою очередь, ручные ключи делятся на шарнирные и цепные. Шарнирные ключи более удобны в работе, имеют небольшой вес и меньше повреждают поверхность трубы.
Одним из широко применяемых ключей для работы с трубами является автомат Молчанова (АПР - автомат подземного ремонта) (рис. 9.)
