Крнтрольно-измерительные приборы (линейка,штангенциркуль)Рефераты >> Естествознание >> Крнтрольно-измерительные приборы (линейка,штангенциркуль)
При косвенных измерениях широко применяется преобразование измеряемой величины в процессе измерений.
Рис. 3. Индикатор часовой типа ИЧ
Рис. 4 Индикатор торцовый типа ИТ-2
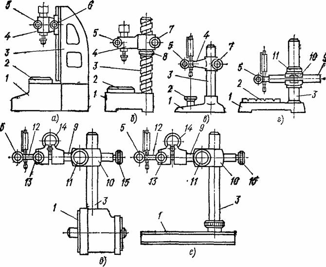
Рис. 5. Стойки и штативы
а—г-сгойки типа C-I; C-Ii; C-III; C-IV; д— е— штативы типа Ш-1, lll-tf;
1— основание, 2— предметный стол для установки изделия; 3— колонка;
4—кронштейн; 5—винт крепления измерительной головки; 6—маховик перемещения кронштейна (кремальера), 7—винт зажима кронштейна;
5— гайка; 9— стержень; /О—хомут; //—зажимной винт; 12— державка;
1З—винт крепления державки; 14—пружинное кольцо; 15—винт микроподачи для точной установки измерительной головки на размер
Рис. 7. Линейки проверочные
,
Рис. 8. Методы контроля
прямолинейности/
План
1.Средства измерений
2.Штанкгнциркуль
3.Микромктр
4.Индикаторы часовые
5.Оптико-механические приборы
6.Линейки поверочные
7.Приложения
Использованная литература
1.Васильев А.С. «Основы метрологии и технические измерения» 1980 г.
2.Закон «Об обеспечении единства измерений» от 28.04.2001 г.
3.Махоня И.Т. «Справочник инструментальщика по техническим измере
ниям» 1984 г.
Рис.1 Микрометрические головки
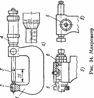
Рис.2 Микрометр
Рис.6 Приспособлнния к индикаторам
